| CATEGORII DOCUMENTE |
| Arhitectura | Auto | Casa gradina | Constructii | Instalatii | Pomicultura | Silvicultura |
Tipuri de elemente structurale.
Elemente liniare orizontale.
Elemente liniare verticale.
Elemente plane orizontale.
Elemente plane verticale.
Elemente de volum.
1 Tipuri de elemente structurale
Sistemul cladire se descompune in subsisteme, elemente si componente. Aceasta descompunere ierarhica a fost prezentata in detaliu in monografia Constructii si mediu.
Elementele structurale care intra in componenta subsistemelor structurale sunt de mai multe tipuri. Un important criteriu de a clasifica elementele structurale este cel geometric.
In fig. 1.1. este reprezentat un element liniar rectiliniu redus la axul sau longitudinal, in fig. 1.2. este reprezentat un element de suprafata redus la planul sau median, iar in fig. 1.3. este reprezentat un element de volum cu fete laterale plane. Toate elementele structurale liniare, plane sau de volum sunt reductibile la aceste forme geometrice. In fig. 1. fig. 1.6. sunt reprezentate, pe rand, cate un element liniar curbiliniu, un element de suprafata curb si un element de volum cu suprafata exterioara curbilinie.
Caracteristicile geometrice de gabarit ale acestor elemente geometrice fac parte dintre caracteristicile modelului matematic al elementului structural reprezentat. Atribuind si alte caracteristici mecanice, statice dinamice, de material elementului geometric, se obtine modelul matematic al elementului structural.

Fig. 1.1. Elemente liniare rectilinii

Fig. 1.2. Elemente de suprafata plane

Fig. 1.3. Elemente de volum cu fete laterale plane

Fig. 1. Elemente liniare curbilinii.

Fig. 1.5. Elemente de suprafata curbilinii.

Fig. 1.6. Elemente de volum care au si suprafete exterioare curbe
2. Elemente liniare orizontale.
In fig. 2.1. 2.2. sunt expuse cateva dintre cele mai folosite elemente liniare in practica curenta.
Grinda este un element structural portant, care este asezat peste goluri de dimensiuni medii sau mari, rezemat pe capete. Preia incarcari uniform distribuite in lungul sau si/sau concentrate si le transmite la reazeme. In fig.2.1. si fig.2.2. Sunt reprezentate spatial doua tipuri de grinzi din beton armat: cu sectiune dreptunghiulara si cu sectiune T. Alte tipuri de sectiuni folosite la grinzi sunt date in fig. 2.3.
Alegerea solutiei unei grinzi se face parcurgand mai multe etape care sunt expuse in fig. 2.ad.
Etape similare se parcurg in vederea stabilirii solutiei unei console, fig.2.5.
Buiandrugul este un element structural portant de tip grinda, care este asezat peste goluri de dimensiuni mici, rezemat pe capete. In fig. 2.6. si fig.2.7. sunt reprezentate doua tipuri de buiandrugi uzuali: buiandrugul peste golul de fereastra si buiandrugul peste golul de usa.
Centura este un element neportant, rezemat continuu pe perete. Centura preia incarcari din planseu si le transmite la peretele structural. In fig. 2.8. si fig. 2.9. sunt reprezentate cele doua tipuri principale de centuri: la exterior si la interior. Schemele de transmitere a incarcarilor prin intermediul centurii sunt expuse in fig.2.10.
Soclul este un element liniar de transmitere a incarcarilor preluate din peretele structural in lungul sau, la blocul de fundatie. Soclul este un element de tipul unei centuri, fig. 2.11.
Blocul de fundatie poate fi considerat un element liniar, masiv, care transmite incarcarile uniform distribuite preluate de la peretele structural, direct terenului bun de fundare, fig. 2.12.

Fig. 2.1. Element liniar orizontal.
Grinda din beton armat cu sectiune dreptunghiulara

Fig. 2.2. Element liniar orizontal.
Grinda din beton armat cu sectiune T.

Fig. 2.3. Sectiuni de grinzi.

Fig. 2. Principalele etape in stabilirea solutiei unei grinzi

Fig. 2.5. Principalele etape in stabilirea solutiei unei console

Fig. 2.6. Element liniar. Buiandrug situat deasupra ferestrei.

Fig. 2.7. Element liniar orizontal. Buiandrug situat deasupra usii.

Fig. 2.8. Element liniar orizontal. Centura exterioara.

Fig. 2.9. Element liniar orizontal. Centura interioara.

Fig. 2.10. Schema de transmitere a incarcarilor prin intermediul centurii.

Fig. 2.11. Element liniar orizontal. Soclu continuu.

Fig. 2.12. Element liniar orizontal.
Bloc de fundatie continuu (talpa continua
3. Elemente liniare verticale.
Stalpul este un element liniar vertical portant. In fig. 3.1 si fig.3.2. sunt reprezentate principalele caracteristici geometrice ale unui stalp curent.
Stalpul ales spre exemplificare este dispus intr-un sistem de axe tiortogonal 0XYZ si s-a considerat axat centrat pe ambele directii, transversal si longitudinal. Sectiunea transversala S este axata as/2, bs/2 in sistemul de axe ortogonal 0XY.
Inaltimea stalpului curent este de fapt
inaltimea H a suprastructurii sistemului
cladire. Unele aspecte geometrice in acest sens sunt expuse in monografia Constructii
si mediu, capitolele Abordarea sistemica in constructii si
Coordonare dimensionala si modulara. In exemplul
considerat s-a expus stalpul pe nivel curent
. Stalpul este situat intre axele orizontale j si
j+1.
In axele orizontale j si j+1 sunt dispuse, conectate, legate grinzile pe o singura directie. In capitolul 6., unde sunt prezentate elementele de volum, ansamblul stalpi - grinzi reprezentat in fig. 6. alcatuieste un subsistem structural de tip cadru plan. Cand grinzile sunt dispuse pe ambele directii, ansamblul formeaza un subsistem structural spatial de tip cadru spatial.
In continuare stalpului i se calculeaza si i se ataseaza si alte caracteristici, proprietati mecanice, statice, dinamice etc. De exemplu: aria A a suprafetei sectiunii, modulul de rezistenta W, momentul de inertie I.

Fig. 3.1. Element liniar vertical. Stalp curent. Vedere spatiala.

Fig. 3.2. Element liniar vertical. Stalp curent.
Elemente plane orizontale.
Pentru un elementul de suprafata orizontal, considerat local prin raportare la un anumit sistem de axe, si anume pentru o placa, sunt expuse doua reprezentari spatiale: in fig. 1. pentru placi rezemate pe peretele structural exterior prin intermediul centurii exterioare si in fig. 2. pentru placi rezemate pe peretele structural interior prin intermediul centurii interioare.
Axarea locala se face prin raportare la un sistem de axe
triortogonal 0XYZ. Elementele
geometrice caracteristice principale ale unei placi sunt:
inaltimea placii
, inaltimea centurii
, dimensiunile
in plan
si
.
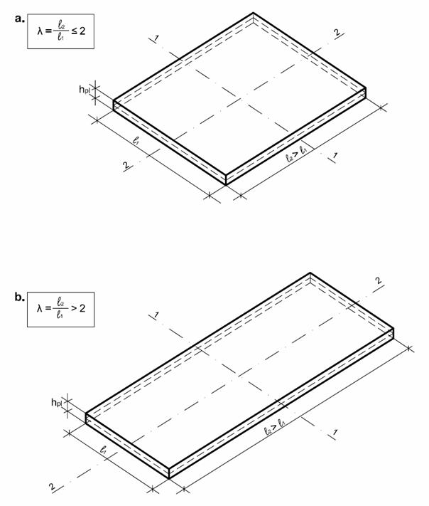
In fig. 3. sunt expuse schemele de calcul ale placilor din beton armat diferentiate dupa raportul laturilor . Corespunzator acestui raport, placile se armeaza pe doua directii sau pe o singura directie, astfel:
placi armate pe
doua directii
placi armate pe o
singura directie
Tipul rezemarilor unei placi, latura libera, simpla rezemare, incastrare, se analizeaza local pe fiecare latura. Un criteriu important care defineste tipul rezemarii unei placi pe o anumita latura este dat de continuitatea placii peste reazem. In cazul in care placa are continuitate, se poate considera ca rezemarea este de tip incastrare. Atunci cand placa nu are continuitate peste reazem, se poate considera rezemarea de tip simpla rezemare.

Fig. 1. Element de suprafata orizontal. Placa plana.
Rezemare pe perete exterior

Fig. 2. Element de suprafata orizontal. Placa plana.
Rezemare pe perete interior.

Fig. 3. Elemente de suprafata orizontale.
Placi plane orizontale.
5. Elemente plane verticale.
Peretele, considerat local prin raportare la un anumit sistem de axe, este un element plan vertical. In fig. 5.1. este reprezentat un perete structural in vedere spatiala.
Raportarea s-a facut la
un sistem de axe triortogonal 0XYZ.
Elementul perete este situat local pe inaltimea unui nivel
.
Elementul placa de
planseu situat la fiecare nivel reazema pe elementul
perete structural prin intermediul centurilor cu inaltimea
.
Sectiunea transversala prin elementul perete este caracterizata prin grosimea t.
In fig. 5.2. sunt date principalele caracteristici geometrice ele unui element perete. Considerat local si situat in sistemul de axe triortogonal mentionat, 0XYZ, este pozitionat vertical intre axele orizontale modulare de referinta i si j si orizontal intre axele verticale de referinta m si n.
Pentru exemplificare s-a ales un element perete plin, fara goluri. In raport cu functionalitatea si importanta sistemului cladire, peretii sunt strapunsi de fluxuri de circulatii umane, tehnologice etc. care necesita goluri cu diferite dimensiuni.
In continuare, elementului vertical perete i se pot calcula si alte caracteristici geometrice, proprietati mecanice, statice, dinamice etc. De exemplu: aria A a suprafetei sectiunii, modulul de rezistenta W, momentul de inertie I.

Fig. 5.1. Element plan vertical. Perete. Vedere spatiala.

Fig. 5.2. Element plan vertical. Placa verticala. Perete.
6. Elemente de volum.
Principalele elemente de volum care se intalnesc in mod frecvent in practica curenta sunt:
a. cuzinetul;
b. blocul de fundatie izolat;
c. nodul de cadru.
Cuzinetul este elementul de transmitere a incarcarii insumate la baza stalpului, la blocul de fundatie izolat.
Cuzinetul este reprezentat in
fig. 6.1. Sunt precizate dimensiunile care caracterizeaza geometric
elementul de volum cuzinet:
,
,
.
Blocul de fundatie izolat este un element structural de volum, portant, care preia incarcarea redistribuita de cuzinet si o transmite la terenul de fundare. Blocul de fundatie izolat este, prin urmare, un element mixt din punt de vedere al tipului de contact element-element. Blocul de fundatie izolat este in contact cu elementul de volum cuzinet la partea sa superioara si cu terenul de fundare, cu pamantul, la partea sa inferioara.
Nodul de cadru este un element de volum spatial situat la intersectia elementelor liniare stalp-grinda.
Nodurile de cadru sunt de mai multe tipuri, in raport cu subsistemul din care face parte:
a. cadru plan, fig. 6.3.;
b. cadru spatial, fig. 6.9.
In fig. 6. este reprezentat un subsistem cadru plan si sunt precizate pozitiile diferitelor tipuri de noduri:
nod de capat marginal, detaliul a ;
nod de capat central, detaliul b;
nod intermediar marginal, detaliul c;
nod intermediar central, detaliul d.
Caracteristicile geometrice ale acestor elemente de volum de tip noduri sunt precizate in fig. 6.5. fig. 5.8.
Subsistemul cadru spatial este o configuratie structurala de o mare complexitate de alcatuire, de comportare mecanica in general statica si dinamica. Elementele caracteristice de tip geometric sunt expuse in fig. 6.9. Tot aici este precizata modalitatea de descompunere in sens transversal si in sens longitudinal. Unele aspecte geometrice in acest sens sunt expuse in monografia Constructii si mediu, capitolele Abordarea sistemica in constructii si Coordonare dimensionala si modulara.
Nodurile unui cadru spatial sunt elemente spatiale de volum. In fig. 6.10. fig.6.17. sunt reprezentate toate tipurile de noduri spatiale, corespunzatoare cadrului spatial din fig. 6.9.

Fig. 6.1. Element de volum. Cuzinetul.

Fig. 6.2. Element de volum. Blocul de fundatie.

Fig. 6.3. Elemente de volum. Nodurile unui cadru plan.

Fig. 6. Elemente de volum. Elevatie cadru plan.

Fig. 6.5. Elemente de volum. Cadru plan. Nod de capat marginal.

Fig. 6.6. Elemente de volum. Cadru plan. Nod intermediar marginal.

Fig. 6.7. Elemente de volum. Cadru plan. Nod de capat central.

Fig. 6.8. Elemente de volum. Cadru plan. Nod intermediar central.

Fig. 6.9. Elemente de volum. Cadru spatial. Noduri.

Fig. 6.10. Elemente de volum. Cadru spatial. Nod de capat central. Ramificatie.

Fig. 6.11. Elemente de volum. Cadru spatial marginal. Nod de capat central. Ramificatie.

Fig. 6.12. Elemente de volum. Cadru spatial marginal. Nod de capat marginal. Colt.

Fig. 6.13. Elemente de volum. Cadru spatial marginal. Nod de capat intermediar marginal.

Fig. 6.1 Elemente de volum. Cadru spatial. Nod de capat intermediar. Intersectie.

Fig. 6.15. Elemente de volum. Cadru spatial. Nod intermediar central. Intersectie.

Fig. 6.16. Elemente de volum. Cadru spatial intermediar. Nod de capat intermediar marginal.

Fig. 6.17. Elemente de volum. Cadru spatial intermediar. Nod de capat intermediar marginal.
|
Politica de confidentialitate | Termeni si conditii de utilizare |
Vizualizari: 4436
Importanta: ![]()
Termeni si conditii de utilizare | Contact
© SCRIGROUP 2025 . All rights reserved