| CATEGORII DOCUMENTE |
| Aeronautica | Comunicatii | Electronica electricitate | Merceologie | Tehnica mecanica |
Legatura dintre centralele electrice si liniile de transport de energie, intre liniile de transport si retelele de distributie de inalta tensiune, precum si alimentarea statiilor si posturilor de transformare se realizeaza prin intermediul unor aparate de comutatie formate din separatoare si intreruptoare. In categoria aparatelor de protectie de inalta tensiune intra descarcatoarele, cu rol de limitare a supratensiunilor si bobinele de reactanta, ce limiteaza valoarea curentilor de scurtcircuit, mentinand in acelasi timp tensiunea la bare la un nivel prescris. Pentru masurarea marimilor electrice se utilizeaza transformatoare de curent si tensiune.
Caracteristicile tehnice comune ale acestor aparate si anume: tensiunea nominala, curentul nominal, capacitatea de rupere, capacitatea de conectare, au fost definite in paragraful 10.1. Se mentioneaza doar faptul ca tensiunea nominala a intreruptoarelor de inalta tensiune corespunde tensiunii celei mai mari in valoare efectiva, intre faze, a retelei in care este destinat a functiona aparatul.
Asa cum au fost definite in capitolul anterior, separatoarele sunt aparate de comutatie a circuitelor aflate sub tensiune dar fara curent de sarcina, deschiderea intre contacte fiind vizibila si cu o mare rezerva de izolatie din motive de protectie a muncii si siguranta in exploatare. Separatoarele normale neavand dispozitive de stingere a arcului electric, deschiderea si inchiderea lor se face numai cand curentul este intrerupt. De regula, separatoarele se leaga in serie cu intreruptoarele, acestea din urma facand operatia de intrerupere sau inchidere a circuitului sub sarcina, iar separatoarele efectuand doar operatia de sectionare vizibila a circuitului. Pentru a exclude posibilitatea deschiderii separatorului inaintea intreruptorului, actionarea separatorului este prevazuta cu blocaj, care permite actionarea numai cand intreruptorul se afla in pozitia deschis.
Clasificarea separatoarelor se poate face dupa mai multe criterii:
a) dupa modul de miscare a contactului mobil:
separatoare rotative, la care bratele port contact, fixate pe un izolator suport rotativ se rotesc intr-un plan perpendicular pe planul determinat de axele izolatoarelor unui pol;
separatoare de translatie (culisante), la care contactul mobil are o deplasare liniara, fiind pus in miscare de un izolator care culiseaza pe o sina actionat de un servomotor;
separatoare de tip pantograf, la care cutitul pliant deplaseaza contactul mobil pe verticala dupa axa izolatorului suport;
b) dupa natura izolatiei:
separatoare de interior;
separatoare de exterior;
c) dupa modul de actionare:
cu actionare pneumatica;
cu actionare electrica.
Principalele conditii pe care trebuie sa le indeplineasca toate tipurile de separatoare sunt:
pozitiile inchis si deschis ale separatorului sa fie usor vizibile;
in pozitia deschis sa asigure izolatia necesara intre polii sai, care trebuie sa fie superioara izolatiei tuturor aparatelor;
in pozitia inchis sa suporte curentul nominal si cel de scurtcircuit fara a se deteriora, deci sa aiba o stabilitate termica si electrodinamica mare;
sa aiba o stabilitate mecanica mare, permitand un numar de aproximativ 2000 de manevre fara urme de uzura;
separatoarele de exterior trebuie sa reziste bine la actiunea agentilor atmosferici (chiciura, ploaie, vant, frig, caldura);
dispozitivul sau de actionare sa fie interblocat cu intreruptorul, astfel incat numai daca acesta este deschis sa se poata face manevra;
separatoarele cu cutite de punere la pamant trebuie asigurate cu blocaj care sa evite punerea fazei la pamant;
constructia sa fie simpla, comoda pentru transport, montaj si exploatare.
Exista o mare varietate constructiva de separatoare, folosindu-se urmatoarea simbolizare: S - separator; M - monopolar; B - bipolar; T - tripolar; I - de interior; E - de exterior; P - cu cutit de punere la pamant; S - de sarcina (de exemplu SMEP-110/1250 T separator monopolar de exterior cu cutit de punere la pamant de 110 kV si 1250 A).
a) Separatoare rotative
In aceasta categorie intra seria de separatoare rotative cu deschiderea cutitelor in plan orizontal, avand tensiuni nominale de la 35 kV la 220 kV inclusiv, curenti nominali de 1250 A si 1600 A si separatoare cu deschiderea cutitelor in plan vertical, cu tensiunea nominala de 400 kV si I n 1600 A. Aceste separatoare se executa numai in constructie monopolara; pentru a forma constructii tripolare fazele se cupleaza intre ele cu tije de legatura. Forma constructiva a unui separator rotativ de 110 kV este prezentata in fig.1, iar in detaliu este prezentata borna de legatura.
|
|
Fig.1. Separator rotativ de 110 kV |
Izolatoarele suport 1 si 2 pot pivota executand o miscare de rotatie de 90s sub actiunea unui dispozitiv de actionare 3 (pneumatic sau electric). Pe tijele 4 si 5 sunt montate contactele formate din cilindrul 6 si piesele 7 si 8 asa cum rezulta din reprezentarea din fig.2. Piesa 9 reprezinta contactul fix al partii de legare la pamant a separatorului care poate ajunge in contact cu cutitul separatorului de punere la pamant 10, numai atunci cand contactele 6 respectiv 7, 8 sunt deschise. Pe cadrul pe care sunt montate coloanele de izolatoare se mai afla dispozitivul de actionare precum si tijele de legatura, manivelele si axele de actionare.
|
|
Fig.2. Contactul separatorului |
In cazul separatoarelor tripolare montarea fazelor se face fie alaturat (fig.3), fie in linie (fig.4), una din cele trei faze fiind faza motoare, la care se cupleaza dispozitivul de actionare. Din fig.3 se constata ca actionarea separatorului se face de la polul din mijloc, miscarea transmitandu-se celor doua izolatoare ale fazei printr-o legatura in contrasens, iar la celelalte doua faze printr-un sistem de transmisie patrulatera. Tot printr-un sistem patrulater sunt actionate cutitele de punere la pamant a separatorului de la axul de actionare. Deoarece in timpul rotatiei izolatoarelor unui pol cutitele port contact se apropie de polii vecini, se poate utiliza dispozitia in linie ilustrata in fig.4. Se observa ca in acest caz actionarea se face de la unul din capete prin transmisie patrulatera. Pentru tensiuni mai mari de 220 kV aceste dispozitii ale separatoarelor ar conduce la marirea gabaritului unei celule de inalta tensiune si de aceea separatorii monopolari se monteaza cate doi in linie si al treilea in paralel cu primii, caz in care actionarea este independenta pe fiecare faza.
|
Fig.3. Separatoare tripolare de 110 kV cu fazele montate alaturat |
Fig.4. Schema de montare in linie a separatoarelor |
Toate separatoarele de tip rotativ au neajunsul ca sunt solicitate la importante momente incovoietoare si necesita distante relativ mari intre poli, iar contactele de jonctiune ale liniei cu capa izolatorului rotativ implica dificultati constructive.
b) Separatoare de translatie
Se utilizeaza in instalatiile de distributie de exterior la tensiuni peste 220 kV. Schematic un asemenea separator este prezentat in fig.5.
Un pol al separatului are doua izolatoare suport, unul fix 1, iar celalalt mobil 2, montat pe un carucior ce poate executa o translatie limitata pe doua sine rectilinii. Contactul mobil 3 poate intra in contactul fix 4, ca urmare a apropierii izolatorului culisant 2 de cel fix 1. Separatorul mai este prevazut cu inelele de protectie 5, conductorul de legatura 7 si legatura flexibila 6. Miscarea este asigurata cu ajutorul unui dispozitiv format din cablul flexibil 11 antrenat de servomotorul 8. Cutitul de legare la pamant 9 este actionat cu un dispozitiv propriu cu motor electric 10.
|
|
Fig.5. Separator de translatie pentru |
Aceste separatoare prezinta o buna vizibilitate a separarii, au insa o constructie complicata, legaturi flexibile lungi, situatii de blocare a deplasarii caruciorului in cazul depunerii de gheata pe sine.
c) Separatoare pantograf
Sunt utilizate in instalatiile de foarte mare tensiune (220 kV < Un < 750 kV) avand o constructie robusta si indeplinind cele mai severe exigente cerute de o buna siguranta in exploatare.
Fata de celelalte tipuri de separatoare, prezinta o serie de avantaje dintre care amintim:
reducerea suprafetei in plan ocupata de separator;
o supraveghere mai buna a elementelor instalatiei, permitand o departajare clara si rapida a elementelor aflate sub tensiune fata de cele fara tensiune;
siguranta mare la conectare si deconectare in orice conditii atmosferice;
siguranta totala impotriva deschiderilor intempestive.
Contactul de racord 1 se monteaza pe linia conductoare a statiei exterioare, fiind format de o bara de cupru, cum se vede in fig.6. Pantograful propriu zis 2 este format dintr-un sistem de bare articulate, confectionate din dur-aluminiu, avand configuratia unei foarfeci si se termina la capete cu contactele mobile 3, prevazute cu un dispozitiv de spargere a ghetii si cu cate o emisfera in partea superioara care sa amelioreze repartitia neuniforma a campului electric in lungul pantografului si sa evite aparitia efectului corona. In pozitia inchis, separatorul asigura racordul electric intre linia 1 aflata in planul superior si linia electrica aflata in planul inferior, racordata la bornele 9, intre care exista o diferenta de nivel de cca. 5 m la o tensiune de 420 kV. Cu linie punctata s-a reprezentat pozitia pantografului cand separatorul se afla in pozitie deschis. In aceasta pozitie linia din planul inferior

Fig.6. Separator pantograf pentru Un = 420k V, In = 2000 A
este legata la pamant ca urmare a atingerii dintre contactul mobil 5 si cel fix 8 de punere la pamant. Coloana de izolatoare suport 10 sustine separatorul, iar actionarea cutitelor principale se realizeaza ca urmare a miscarii de rotatie transmisa prin coloana de izolatoare 11 de la arborele 12, racordat la mecanismul de actionare al cutitelor principale. Actionarea cutitelor de punere la pamant este efectuata de catre un dispozitiv de actionare separat, racordat la arborele 13, contragreutatea 7 diminuand prin echilibrare cuplul necesar rotirii bratului 6 ce sustine contactul 5. Intre miscarile celor doua dispozitive de actionare exista o corelare. Actionarea acestor separatoare se face obisnuit pneumatic.
d) Separatoare de sectionare si separatoare de punere la pamant si scurtcircuitare
Separatoarele de sectionare sunt aparate cu deconectare automata, comandate de aparate de protectie, destinate pentru separarea de la retea a sectoarelor avariate. Sectionarea se face in lipsa curentului, in timpul pauzei de curent determinata de functionarea unui dispozitiv de reanclansare automata rapida (R.A.R.). Constructia acestor separatoare este asemanatoare cu a celor de tip cutit, cu deosebirea ca dispozitivul de actionare trebuie sa permita actionarea automata.
Separatoarele de punere la pamant si de scurtcircuitare sunt aparate care realizeaza legarea automata a unei retele electrice la pamant in caz de avarie, prin care se realizeaza un scurtcircuit artificial ce determina deconectarea retelei prin intermediul intreruptorului. Constructiv, aceste aparate sunt de tip cutit, in fig.7 fiind ilustrat modul de functionare. Pe suportul metalic 1 se afla izolatorul 2 avand pe flansa superioara contactul fix 3 prevazut cu borne pentru racordarea la conductoarele liniei. Dispozitivul de actionare comanda cutitul mobil 4 din teava de otel sudata de axul 5, care se roteste in lagarele 6. Parghia 7 este folosita in cazul actionarilor manuale. Legatura electrica 8 asigura trecerea curentului de la contactul mobil la rama metalica legata la pamant.
|
|
Fig.7. Separatoare de punere la pamant |
Pentru a ilustra modul de utilizare al separatoarelor de sectionare si al separatoarelor de punere la pamant si de scurtcircuitare, in fig.8 se prezinta o schema electrica principiala de alimentare a unor linii L si L , de la un sistem de bare de 110 kV, prin intermediul unor transformatoare T si T , si a intreruptoarelor I , I si I Transformatoarele T si T nu sunt racordate la retea prin intreruptoare, ci prin separatoarele de sectionare S si S . In cazul in care se produce o avarie pe linia L
|
|
Fig.8. Functionarea separatoarelor de
sectionare |
sau la transformatorul T , protectia prin relee comanda inchiderea separatorului de punere la pamant S . In acest fel se produce in mod artificial un scurtcircuit monofazat,care conduce la declansarea intreruptorului principal I. Dupa intreruperea curentului de scurtcircuit, elementul defect este separat cu separatorul de sectionare S , dupa care sub actiunea dispozitivului RAR, intreruptorul I se reinchide si celelalte plecari sunt alimentate in continuare.
Separatorul de sectionare impreuna cu separatoarele de punere la pamant si de scurtcircuitare ofera o simplificare a schemelor de inalta tensiune, asigurand separarea automata a sectorului avariat si protectia personalului de interventie.
Aceste mecanisme se clasifica, dupa sursa energiei utilizate, in mecanisme cu actionare manuala, pneumatica si cu servomotor electric.
Dispozitivele manuale folosesc mecanisme patrulatere formate din parghii, ultima parghie din lantul cinematic fiind din material izolant.
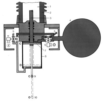
Mecanismele de actionare pneumatice se folosesc pentru actionarea separatoarelor in instalatiile in care aerul comprimat este folosit si pentru actionarea intreruptoarelor. Un mecanism de actionare pneumatica de tip AP este prezentat in fig.9 si se compune din cutia de comanda 1, ce cuprinde doua electrovalve si teava de aer comprimat 5 si dispozitivul de actionare 2, format dintr-un cilindru ce cuprinde doua pistoane solidarizate. Legatura dintre cutia de comanda si dispozitivul de actionare se realizeaza prin tevile 4 si 6, care asigura patrunderea aerului comprimat pe o parte sau alta a cilindrului la comanda electroventilelor actionate de butoanelor B si B
|
|
Fig.9. Mecanism de actionare de tip AP |
Pentru a ilustra modul de functionare a acestui mecanism AP, se prezinta in fig.10 schema dispozitivului de comanda, prevazut si cu blocare pentru a nu putea actiona decat daca intreruptorul se afla in pozitia deschis.
|
|
Fig.10. Schema dispozitvului de comanda al AP |
In cilindrul 3 se afla pistonul de actionare cu dublu efect, legat solidar cu cutitul separatorului 1. Electroventilele 2 pot fi comandate de la sistemul de bare 4, prin butoanele D (pentru deschidere) respectiv I (pentru inchidere) numai daca contactul de blocare 5 (legat solidar cu intreruptorul 6) este inchis. In plus, schema este prevazuta cu semnalizare optica a pozitiei separatorului prin becurile conectate prin sistemul de contacte 8 solidar cu pistonul de actionare. Aceste mecanisme pot avea si blocaje de presiune minima, care impiedeca actionarea elementelor schemei daca presiunea aerului comprimat scade sub o anumita valoare.
Mecanismele cu actionare electrica pentru comanda la distanta a inchiderii - deschiderii separatoarelor de interior sau exterior, au in alcatuire un servomotor, care prin intermediul unui reductor de turatie transmite miscarea contactului mobil al separatorului. Reductorul poate fi realizat cu roti dintate sau curele trapezoidale. Aceste mecanisme trebuie prevazute cu limitatoare de cursa pentru deconectarea motorului la terminarea manevrei. Tipurile de mecanisme cu servomotor fabricate la noi in tara se clasifica in: mecanisme de actionare cu motor, fara acumulare de energie, de tip ASE si mecanisme de actionare cu motor si acumulare de energie in resort, tip MRESc pentru separatoarele de scurtcircuitare si punere la pamant.
Intreruptoarele de inalta tensiune sunt aparate electrice automate destinate pentru comutatia circuitelor de inalta tensiune parcurse de curenti. Sarcinile principale ale acestor intreruptoare sunt operatiile de stabilire si intrerupere a curentului de sarcina normala de serviciu, la interventia voita a operatorului si de intrerupere cat mai rapida, in mod automat, a curentilor de scurtcircuit, in urma comenzilor primite de la protectia prin relee. La nevoie, aceste intreruptoare trebuie sa poata indeplini si operatia de reanclansare automata rapida, imediat dupa prima deconectare, sub actiunea comenzii primite de la dispozitivele RAR.
Cea mai importanta caracteristica a
intreruptoarelor si care determina constructia camerei de
stingere este capacitatea de rupere (I r), adica cea mai mare valoare a curentului de
scurtcircuit pe care intreruptorul il poate intrerupe in conditiile
specificate de norme. Capacitatea de conectare este cel mai mare curent de
scurtcircuit, in valoare momentana, care poate fi conectat de intreruptor,
fara ca acesta sa sufere
deteriorari sensibile. Puterea de rupere
este o marime
conventionala, de comparatie,
a unor constructii diferite. Timpul propriu de intrerupere (t pa) este intervalul de
timp dintre momentul inchiderii circuitului electromagnetului de
declansare al dispozitivului de actionare si momentul inceperii
separarii contactelor de rupere ale intreruptorului. Timpul de intrerupere
(t t) este format din timpul propriu
de intrerupere (t pa) si
durata de ardere a arcului electric in camera de stingere a intreruptorului (t a
(1)
Timpul de inchidere (t i) al unui intreruptor este intervalul de timp este intervalul de timp de la aplicarea impulsului de inchidere pana in momentul atingerii contactelor. Timpul t t trebuie sa fie mai mic decat 0,08 s pentru intreruptoarele cu actiune rapida, 0,15 s pentru intreruptoarele cu actiune accelerata si 0,25 s pentru cele normale.
La ora actuala sunt de interes urmatoarele tipuri constructive principale: intreruptoare cu ulei putin (IUP), intreruptoare cu aer comprimat (IAC), intreruptoare cu hexafluorura de sulf (SF ) si intreruptoare in vid. Fiecare din aceste intreruptoare prezinta unele insusiri specifice, care le determina domeniul de utilizare. Cum majoritatea intreruptoarelor de inalta tensiune de la noi din tara sunt cele cu ulei putin, iar solutia de viitor se pare ca o reprezinta intreruptoarele cu SF , in cele ce urmeaza ne vom limita la prezentarea acestor tipuri constructive.
Mecanismele de actionare ale acestor intreruptoare sunt in principiu pneumatice, oleopneumatice, cu acumulare de energie in resort, sau cu servomotor electric.
Aceste intreruptoare folosesc ca mediu de stingere o cantitate redusa de ulei, izolatia partilor sub tensiune se realizeaza din portelan la intreruptoarele de exterior si din rasini sintetice la cele ce functioneaza in interior. Stingerea arcului electric se realizeaza la IUP in camere de stingere cu suflaj longitudinal, transversal sau combinat, bazandu-se pe principiul expandarii asociat cu jetul de lichid (paragraful 6.6.3).
Utilizarea unor ansamble tipizate (camere de stingere, mecanism de actionare, izolatoare suport) a permis aplicarea principiului constructiv al modulului, asigurand prin aceasta rationalizarea fabricatiei si acoperind o gama larga de intreruptoare de diferite tensiuni nominale, respectiv curenti nominali.
La constructiile romanesti de intreruptoare de inalta tensiune cu ulei putin, elementul de baza il constituie un pol al intreruptorului IO-110 kV, 1600 A, reprezentat in fig.
|
|
Fig. Intreruptor tripolar IO-110kV |
El se compune din urmatoarele: 1 - ansamblul sasiu; 2 - coloana de izolatoare suport; 3 - ansamblu mecanism; 4 - ansamblul camerelor de stingere (doua camere montate in V). Ansamblul general are forma unui Y si poate functiona pana la tensiuni de 154 kV. Pentru 220 kV se inseriaza doua module de 110 kV, prin urmare patru camere de stingere, iar coloana de izolatoare se obtine prin suprapunerea a doua izolatoare, asa cum se prezinta in fig.12. In figura s-a notat cu 1 - camerele de stingere, 2 - izolatorii suport, 3 - carterul, 4 - mecanismul de actionare oleopneumatic (MOP), cu dimensiunile de gabarit indicate. Pentru tensiuni mai mari se procedeaza analog, prin inserierea mai multor module elementare.
|
|
Fig.12. Intreruptor IO-220 kV |
Eficienta ruperii multiple se mentine numai daca se asigura functionarea sincrona a camerelor de stingere. La intreruptorul cu doua camere de stingere sincronizarea se realizeaza cupland mecanic tijele de contact (fig.13).
|
|
Fig.13. Sincronizarea mecanica a functionarii camerelor de stingere |
Cele doua camere de stingere 1 si 2 sunt actionate prin intermediul pistonului hidraulic plasat in cilindrul 3. Prin intermediul unor parghii articulate, miscarea tijei legate de piston se transmite simultan tijelor 4 si 5 ce poarta contactele mobile ale intreruptorului. Sincronizarea deschiderii contactelor in cazul intreruptoarelor realizate pe principiul modulului, avand mai mult de doua camere de stingere inseriate pe faza (220 kV, 400 kV), se realizeaza prin utilizarea unui singur mecanism de actionare oleopneumatic (MOP), fig.14, ce transmite comenzi cu aceeasi presiune.
|
|
Fig.14. Sincronizarea functionarii
camerelor |
A doua problema ce trebuie rezolvata in cadrul constructiilor modulare o constituie repartitia uniforma a tensiunii oscilante de restabilire. In acest scop, se pot utiliza condensatoare si / sau rezistente montate in paralel pe camerele de stingere.
O sectiune prin ansamblul unui pol al unui intreruptor de tip IO -110 kV, 1600 A este prezentata in fig.15. Calea de curent cuprinde borna de racord electric, contactul fix de tip tulipa 1, contactul mobil 2, tulipa de contact inferioara 3 si o bara de aluminiu care face legatura cu celalalt modul de pe acelasi ansamblu V. Borna de racord, contactul mobil si tulipa de contact sunt argintate electrolitic, iar pe suprafata pieselor din aliaje de aluminiu, aflate in contact cu piese de cupru, se aplica un strat subtire de cupru pentru asigurarea stabilitatii in timp a imbinarii de contact electric.
Elementele pentru stingerea arcului electric cuprind: subansamblul camera de stingere 5, piesele care preiau piciorul arcului electric (varful contactului mobil si inelul de protectie a degetelor de contact superioare) executate din materiale greu fuzibile, carterul superior, subansamblul valva, jiclorul de esapare a gazelor, capacul, tubul de protectie si dispozitivul anticavitational 6 pentru injectia suplimentara de ulei.
|
|
Fig.15. Sectiune prin camera de stingere
a intreruptorului |
Detaliul camerei de stingere prezentat in fig.15.b evidentiaza ca aceasta este o camera rigida si compartimentata prin intermediul unor discuri, care asigura buzunare de retinere a uleiului si se realizeaza din tesatura de sticla impregnata cu rasini epoxidice. La deschiderea contactului mobil, arcul electric se alungeste in camera, gazele deplaseaza uleiul in compartimente (conform sagetilor cu linie plina), iar in timpul pauzei de curent presiunea in zona coloanei de arc scade mult si miscarea in sens contrar a vaporilor si picaturilor de ulei produc deionizarea si stingerea arcului (sageti cu linie intrerupta). Stingerea arcului electric la acest tip de intreruptor se obtine prin realizarea unei presiuni importante (peste 100 atm) a gazelor si printr-un jet axial puternic. Concomitent apar procesele gazodinamice care conduc la deplasarea in carterul superior a gazelor rezultate din descompunerea uleiului sub actiunea arcului electric. Prin orificiul jiclorului de esapare este antrenata in camera de detenta, pe langa gaze si o cantitate de ulei, fiind necesara separarea lor. Dupa aceea, gazele se evacueaza in atmosfera prin tubul de protectie. Durata arcului la aceste intreruptoare este cuprinsa intre 1 3 semiperioade (10 30 ms).
Camera de stingere este echipata cu un dispozitiv anticavitational plasat in zona superioara a contactului fix, dispozitiv care este prezentat in fig.16. In pozitia inchis a intreruptorului, tija mobila de contact 1 asigura contactul cu tulipa 2 si comprima resortul 3 prin intermediul pistonului 4 care se deplaseaza in cilindrul 5. La deschiderea intreruptorului, are loc deplasarea in jos cu viteza mare a
|
|
Fig.16. Dispozitivul anticavitational |
contactului 1 si pistonul 4 impins de resortul 3 trimite un volum de ulei in vidul (cavitatie) creat prin eliminarea uleiului. Se obtine astfel un jet de ulei dupa directia de deplasare a tijei, care are ca efect racirea intensa a arcului electric si stingerea sa mai eficienta. Acest dispozitiv permite ca tensiunea de tinere in camera de stingere sa creasca suficient de rapid pentru a face fata deconectarii sarcinilor capacitive si a functionarii in ciclu RAR.
Elementele legate de prezenta uleiului cuprind busonul de umplere, indicatorul de nivel al uleiului 9 (fig.15) subansamblul valva, garnituri de etansare si robinetele de golire.
Elementele de izolatie electrica includ cilindrul izolant si anvelopa de portelan 4, ambele avand rolul de izolatie intre contacte in pozitia deschis a intreruptorului.
Elementele de rezistenta mecanica cuprind izolatorul suport, carterul inferior 7, iar deplasarea perfect liniara a tijelor de contact mobile se obtine prin folosirea unor elemente de ghidaj 8.
Avantajele acestor intreruptoare sunt legate de obtinerea unei viteze mari de deschidere prin actionare oleopneumatica, rezistenta mecanica ridicata a camerei de stingere si utilizarea dispozitivului anticavitational.
Dezavantajele sunt legate de o intretinere relativ dificila, o frecventa scazuta de manevra si dificultati de functionare in ciclul RAR. Din acest motiv, se apreciaza ca intreruptoarele cu ulei putin sa fie inlocuite in viitor cu intreruptoarele cu SF , care concepute pe principiul modulului vor putea acoperi intreaga gama de intreruptoare de inalta tensiune utilizate in tara.
Printre gazele cu inalte proprietati dielectrice se evidentiaza SF . Proprietatile dielectrice ale SF se datoresc faptului ca este un gaz electronegativ cu proprietatea moleculelor de a absorbi electroni, formand astfel ioni negativi cu mobilitate redusa. In plus, hexafluorura de sulf este un gaz inert, incolor, fara miros, incompresibil si nepericulos, avand si o foarte buna conductivitate termica. La aceeasi presiune, proprietatile dielectrice ale SF sunt de 2 - 3 ori mai mari decat ale aerului, fapt care a determinat introducerea lui ca mediu de stingere in constructia intreruptoarelor de inalta tensiune.
Astfel, in jurul anilor 1960 au aparut primele intreruptoare cu SF , bazate pe principiul intreruptoarelor pneumatice, adica cu instalatii de compresie auxiliara, lucrand la doua presiuni.
Datorita proprietatilor dielectrice inalte ale SF , in camerele stingere ale acestor intreruptoare nu sunt necesare presiuni prea inalte, motiv pentru s-au dezvoltat intreruptoarele cu autocompresie, ce folosesc pentru comprimarea gazului deplasarea contactului mobil la deconectare. Aceste intreruptoare cu autocompresie (sistem puffer) au fost introduse in exploatare de firmele Merlin-Gerin (1966), GEC Alstrom (1971), Hitachi (1969), Mitshubishi (1965), GEC Anglia (1974), Siemens (1974), AEG (1974), Brown-Boveri (1977). Firma Electroputere Craiova a realizat in 1979 primul intreruptor capsulat de 123k V / 2000 A, iar in 1984 a realizat un intreruptor integral in constructie independenta cu autocompresie de 145 kV (3150 A, 40 kA) si apoi in anul 1986, unul de 170 kV / 3150 A / 40 kA.
Pentru a evidentia principiul functionarii camerelor de stingere cu autocompresie se prezinta in fig.17 o asemenea camera, folosita la intreruptoarele AEG la tensiuni de la 72,5 kV pana la 765 kV. Presiunea gazului in interiorul camerei este de 5 bar. In pozitia inchis (a) se stabileste continuitatea circuitului prin contactul fix tubular 6 si contactul mobil de tip tulipa 4 (fig.17.b). Contactul mobil impreuna cu cilindrul de autocompresie se deplaseaza in directia pistonului fix 2, comprimand gazul si obligandu-l sa treaca prin orificiile din cilindru si sa patrunda in zona arcului electric unde se realizeaza un puternic suflaj longitudinal datorita formei duzei (ajutajului) 5, ceea ce contribuie la rapida stingere a arcului electric (fig.17.c). Capacul 8, prins de camera de stingere prin intermediul flansei 7, cuprinde un filtru de alumina cu rolul de a curata gazul de fluorurile metalice ce se formeaza. Refacerea rapida a rigiditatii dielectrice a gazului SF ofera acestui tip de intreruptor posibilitatea de a fi utilizat la deconectarea sarcinilor capacitive.
|
a) b) c) |
Fig.17. Camera de stingere cu autocompresie (AEG) |
Utilizand principiul modulului pot fi construite intreruptoare cu mai multe camere de stingere pentru tensiuni foarte inalte. In fig.18 este prezentat un
pol al unui intreruptor cu SF cu
doua camere de stingere de tipul celei prezentate in fig.17. Se recunosc
principalele elemente ale camerei de stingere: 2 - tija
de actionare;
3 - pistonul fix; 4 - cilindrul
de compresie; 5 - contactul mobil; 6 - duza;
7 - contactul fix; 8 - flansa;
9 - capacul; 10 - filtrul.
In plus sunt prezentate: 1 - carcasa cu
sistemul de parghii; 11 - condensator; 12 - izolator
suport; 13 - tija izolanta; 14 - placa
de fixare; 15 - tija de actionare; 16 - cilindrul
de actionare; 17 - indicator de
pozitie. Actionarea acestor intreruptoare se face pneumatic cu
ajutorul cilindrului 16 si a pistonului solidar cu tija 15.
O alta forma a camerei de stingere, utilizata la intreruptoarele cu SF cu autocompresie ale firmei BBC pentru tensiuni pana la 420 kV, este prezentata in fig.19. In pozitia a este reprezentata camera de stingere cu contactele in pozitia inchis. Calea de curent se asigura prin contactul fix de lucru de tip tulipa 1 si contactul mobil de lucru tubular 4. In pozitia b se prezinta momentul separarii contactelor de lucru, moment in care curentul se comuta pe contactele de arc 2 si 3. In pozitia c se reprezinta momentul separarii contactelor de arc si aparitia arcului ce arde in interiorul duzei 8. Gazul SF , comprimat prin deplasarea cilindrului mobil 5 spre pistonul fix 6, realizeaza un puternic suflaj al arcului in interiorul duzei (ajutajului) 8.
In sfarsit, in pozitia d se prezinta contactele in pozitia deschis, arcul fiind stins si presiunea egalizata in interiorul camerei de stingere. Forma constructiva a unui pol al unui intreruptor cu SF realizat pe acest principiu este prezentata in
|
|
Fig.18. Ansamblu intreruptor cu SF (AEG) |
fig.20.
In figura s-au notat cu: 1 si 9 - flansele de
conectare ale conductoarelor; 2 - contactul fix
de lucru; 3 - contactul fix de arc; 4 - contactul
mobil de arc;
5 - contactul mobil de lucru; 6 - cilindrul
de compresie al SF ; 7 - pistonul
fix;
8 - izolator de portelan; 10 - tija
de actionare. Actionarea acestor intreruptoare se face cu mecanisme
cu acumulare de energie in resoarte, a caror armare se face cu ajutorul
unui servomotor.
Duzele pentru intreruptoarele cu SF se construiesc din materiale electro-izolante si materiale conductoare. Ca materiale electroizolante se utilizeaza teflonul (PTFE) si materiale ceramice pe baza de AL O denumite si superaluminoase. Duzele din materiale conductoare sunt executate din metale sau grafit. In prezent, duzele

Fig.19. Camera de stingere cu autocompresie (BBC)
la intreruptoare se fac cel mai adesea din teflon care prezinta unele proprietati speciale: rezistenta mecanica mare, prelucrabilitate usoara, rezistenta la temperaturi ridicate.
|
|
Fig.20. Ansamblu intreruptor cu SF (BBC) |
Intreruptoarele cu SF cu autocompresie au urmatoarele avantaje comparativ cu cele cu dubla presiune: gazul SF nu este permanent comprimat; nu necesita compresoare si rezervoare la presiune ridicata; simplitatea constructiei prin utilizarea unui numar mic de piese mobile si garnituri de etansare; autogenerarea presiunii necesare pentru intreruperea curentilor inductivi fara aparitia supratensiunilor; reducerea uzurii contactelor prin reducerea energiei de arc; nivel de zgomot redus; timpi de rupere mici; adaptabilitate la ciclul RAR, deoarece presiunea nu este stocata in rezervor pentru rupere; este mai ieftin.
Intreruptoarele cu autocompresie impun anumite cerinte asupra mecanismului de actionare. Astfel, pentru a invinge blocajul ajutajului si presiunea dinamica a arcului electric, pistonul trebuie antrenat de un mecanism de actionare cu energie mai mare. In acest sens se folosesc mecanisme cu acumulare de energie in resoarte, sau mecanisme oleopneumatice, astfel incat pretul de cost al intreruptorului creste.
A treia generatie de intreruptoare cu SF , denumite intreruptoare cu autosuflaj sau autoexpansiune, se bazeaza pe rotirea arcului provocata de un camp magnetic produs de o bobina parcursa in momentul deschiderii de propriul curent de rupere. Sub actiunea arcului electric gazul incalzit produce o presiune ridicata, care este folosita la curgerea gazului si implicit la deionizarea arcului electric.
|
|
Fig.21. Polul unui intreruptor cu autosuflaj |
In fig.21 se prezinta polul unui asemenea intreruptor realizat de firma Brown-Boveri si care cuprinde: 1 - borna; 2 - bobina; 3 - contactul circuitului de curent nominal; 4 - contactul de arc fix; 5 - contactul de arc mobil; 6 - camera de detenta; 8 - tija de actionare; 9 - arbore; 10 - dispozitiv de suflaj auxiliar. Dezvoltate initial pentru media tensiune de firmele Brown-Boveri (1977); BBC (1980); Merlin-Gerin South-Walles se realizeaza recent si pentru inalta tensiune. Intreruptoarele cu autosuflaj au urmatoarele avantaje: au o anduranta mecanica mai mare; campul magnetic realizeaza rotirea si ghidarea arcului, astfel incat se dezvolta perfect centrat si stabilizat si se evita prezenta unei duze izolante care perturba campul; deplasarea rapida a arcului pe contacte limiteaza erodarea lor.
Ca dezavantaje ale acestor intreruptoare amintim: au o dimensionare dificila a bobinelor de suflaj, a contactelor de arc si a camerei de presiune; sunt limitate de puterea de rupere.
Referitor la stadiul realizarii intreruptoarelor cu SF in tara noastra mentionam ca in prezent se afla in fabricatie la Electroputere Craiova intreruptoare independente cu SF de 72,5 kV, 145 kV (123 kV), 170 kV cu curenti nominali de 2500 A si 3150 A si curenti de rupere de 40 kA , cu un loc de rupere pe pol si actionate cu mecanisme oleopneumatice. La medie tensiune au fost realizate intreruptoare in faza de prototip la 24 kV, 1250 A , 20 kA si la 27,5 kV, 1600 A , 20 kA . Din punct de vedere constructiv pentru inalta tensiune aceasta gama este acoperita de un model functional si trei module de constructie care au un inalt grad de tipizare intre ele. Astfel intreruptorul de 420 kV poate fi realizat cu trei module functionale de 170 kV.
Tendinta si perspectivele privind constructia intreruptoarelor de inalta tensiune cu SF pe plan mondial vizeaza: realizarea unei capacitati de rupere marite la 100 kA; realizarea etansarilor cu ferofluide magnetice; optimizarea mecanismelor de actionare pentru asigurarea comenzilor sincrone prin utilizarea unor dispozitive electronice; computerizarea sistemului de protectie, comanda si diagnoza pentru cresterea fiabilitatii intreruptoarelor; cresterea perioadei de revizie la 20-30 de ani; proiectarea asistata de calculator a intreruptoarelor.
Astazi se realizeaza intreruptoare capsulate cu SF ce cuprind intr-un tot unitar barele colectoare, separatoarele, intreruptorul de putere, reductoarele de tensiune si curent. Introducerea in exploatare a acestor instalatii, ce reprezinta solutia cea mai favorabila pentru domeniul inaltei tensiuni, este justificata de urmatorii factori: necesitatea de a transfera energia electrica in centrele industriale si in orasele mari cu o tensiune nominala cat mai ridicata si de a afecta un spatiu cat mai redus pentru statia de conexiuni sau de transformare; eliminarea defectelor posibile din cauza poluarii in zonele industriale sau cu atmosfera salina; cresterea gradului de securitate, carcasele metalice fiind legate la pamant; eliminarea pericolului de explozie; exploatare mai simpla si fiabilitate ridicata. In fig.22 se prezinta o instalatie capsulata cu SF ce cuprinde barele colectoare 1, separatoarele de bare 2, de linie 6, de punere la pamant si scurtcircuitare 3, 8, reductoarele (transformatoarele) de curent 5, de tensiune 7, mufa terminala 9, ca si intreruptorul propriu zis 4, cu camere de stingere cu autocompresie. Izolatia interioara este asigurata de SF sub presiune de 4-5 bar si din izolatoare tronconice din rasini de turnare. Etansarea ansamblului este asigurata de flanse si garnituri montate la asamblarea diferitelor elemente componente. Din motive de siguranta si revizie mai usoara, o instalatie capsulata este divizata in mai multe compartimente. Acestea sunt echipate cu dispozitive pentru controlul presiunii si cu racorduri pentru umplere cu gaz.
|
|
Fig.22. Instalatia capsulata cu SF |
Sunt ansamble distincte sau incluse in intreruptoare, asigurand comutatia acestora. Aceste mecanisme (dispozitive) asigura transmiterea, in urma comenzii manuale sau electrice (automate sau voite), a energiei de actionare la contactele mobile ale intreruptorului. Energia pusa in joc de aceste dispozitive asigura imprimarea vitezei prescrise a contactelor. De asemenea, aceste mecanisme trebuie sa mentina intreruptorul blocat in pozitia inchis si deschis, in toate conditiile din exploatare (vibratii, trepidatii, trecerea curentului de scurtcircuit de soc). Principalele subansamble ale dispozitivelor de actionare sunt: mecanismul de anclansare, care dezvolta energia necesara inchiderii rapide a contactelor intreruptorului; mecanismul de blocare, care mentine intreruptorul in pozitia inchis; si mecanismul de decuplare, care separa intreruptorul de mecanismul sau de actionare, permitand asigurarea functiei de declansare libera.
Dupa sursa de energie utilizata, mecanismele de actionare ale intreruptoarelor de inalta tensiune se clasifica in: mecanisme cu acumulare de energie in resoarte; mecanisme pneumatice si mecanisme cu actionare hidraulica (oleopneumatice).
a) Mecanisme cu acumulare de energice in resoarte
Larg utilizate la actionarea intreruptoarelor de medie tensiune cu ulei putin, aceste mecanisme si-au gasit un domeniu de utilizare si in cadrul inaltei tensiuni la intreruptoarele cu SF de tipul cu autocompresie. Acest lucru este ilustrat in fig.23 unde sunt prezentate principalele parti componente ale intreruptorului cu SF
Resortul de anclansare este puternic tensionat de catre un servomotor, prin intermediul unui sistem melc - roata melcata si a camei 23 si este mentinut in aceasta pozitie de clichetul 22. In acest moment rola se afla pe partea interioara a camei si tija 19 cu sistemul de parghii permite resortului 16 sa fie complet destins.
|
|
Fig.23. Mecanism cu acumulare de energie in resoarte 1 - capacul; |
Pentru anclansare se actioneaza clichetul 22, se elibereaza energia acumulata in resortul 21 si cama 23 se roteste in sensul sagetilor, obligand rola sa urce pe partea superioara a camei si prin sistemul de parghii sa comprime puternic resortul 16. La sfarsitul miscarii, contactelor principale sunt inchise si mentinute in aceasta pozitie de clichetul 18 care a acrosat tija 19. Pentru declansare se actioneaza asupra clichetului 18, eliberand energia acumulata in resortul de declansare 16, care pivoteaza deschiderea rapida a contactului mobil al intreruptorului.
b) Mecanisme cu actionare pneumatica
Aceste mecanisme sunt utilizate la intreruptoarele pneumatice, la cele cu ulei putin si cele cu SF . Principalele parti componente sunt prezentate in fig.24 si cuprind in cazul unui mecanism pneumatic folosit la intreruptoarele cu SF urmatoarele parti componente: 1 - spatiul ocupat de hexafluorura de sulf; 2 - izolatorul de portelan; 3 - tija de actionare; 4 - rezervorul de aer comprimat; 5 - teava de legatura cu atmosfera; 6 - electroventilul de declansare; 7 - piston cu dubla actiune; 8 - cilindrul de lucru; 9 - semnalizator pozitia inchis; 10 - semnalizator pozitia deschis; 11 - electroventilul de anclansare.
|
|
Fig.24. Mecanism de actionare pneumatic |
Pozitia desenata in fig.24 corespunde intreruptorului anclansat. Pentru declansare se comanda electrovalva 6, care permite admisia aerului comprimat pe fata superioara a pistonului 7 si pune partea inferioara a cilindrului 8 in legatura cu atmosfera prin teava 5 din stanga. Pentru anclansare se comanda electrovalva 11, aerul comprimat este admis pe partea inferioara a pistonului 7, iar aerul din partea superioara se pune in legatura cu atmosfera prin teava 5 din dreapta.
La multe tipuri de intreruptoare actionarea pneumatica se realizeaza cu ajutorul unui piston diferential. Astfel, in fig.25 intreruptorul este prezentat in pozitia inchis (a) si deschis (b). Principalele parti componente sunt: 1 - pistonul diferential; 2 - cilindrul; 3 - electrovalva; 4 - conducta de aer comprimat; 5 - suprafata circulara de inchidere, avand permanent aer comprimat; 6 - suprafata inelara de deschidere (presurizata si depresurizata prin electrovalva 3); 7 - volum de aer sub presiune; 8 - volum de aer la presiunea atmosferica. Pentru actionarea intreruptorului, electrovalva 3 pune in legatura aerul comprimat aflat in volumul 7 cu atmosfera si sub actiunea aerului comprimat ce actioneaza pe fata inferioara 5 a pistonului diferential se obtine deplasarea pistonului in pozitia (a).
Pentru declansarea intreruptorului se transmite aerul comprimat prin electrovalva 3 pe suprafata superioara a pistonului 6 si cum aceasta suprafata este mai mare ca suprafata 5, aflata si ea la presiunea aerului comprimat, forta rezultanta este orientata in jos (fig.25.b) ducand la deschiderea intreruptorului. Aerul aflat in volumul 8 se transmite in atmosfera prin orificiul din partea inferioara a cilindrului 2. Se asigura astfel o amortizare atat la inchiderea cat si la deschiderea intreruptorului.
|
|
Fig.25. Pistonul diferential |
c) Mecanisme cu actionare hidraulica (oleopneumatica)
La intreruptoarele cu ulei putin de inalta tensiune, tija mobila efectueaza la deschidere o cursa relativ mare (500 - 600 mm) intr-un timp relativ scurt (sutimi de secunda). In asemenea situatii, intalnite si la intreruptoarele cu SF de tensiuni mari, cand se cere o energie mare se utilizeaza actionarea hidraulica (oleopneumatica). In acest caz energia necesara actionarii aparatului se obtine prin destinderea unui gaz. Principiul mecanismului oleopneumatic este prezentat in fig.26. Intr-un rezervor cilindric 1 se afla un piston liber 2, care separa in cilindru pe o parte gazul (azot) in care se acumuleaza energia, iar pe cealalta parte un lichid (ulei), care este transmis sub presiune in cilindru de catre o pompa. Avand in vedere legea gazelor perfecte, aplicata pentru azotul comprimat avem:
(2)
unde: p - presiunea gazului; V - volumul gazului; p - presiunea de inmagazinare initiala; V - volumul initial;
|
|
Fig.26. Principiul actionarii oleopneumatice |
Cu notatiile A - sectiunea transversala a cilindrului, respectiv pozitia pistonului liber, relatia (2) devine:
;
(3)
Prin destinderea gazului la efectuarea unei curse elementare d a pistonului se elibereaza energia:
(4)
si cu considerarea relatiei (3) avem:
(5)
Cu notatiile din figura 26., prin destinderea gazului de la pozitia la pozitia , se elibereaza energia:
(6)
si tinand seama de relatia (2):
;
(7)
rezulta in final:
(8)
Din aceasta relatie se constata ca
energia eliberata este cu atat mai mare cu cat presiunea
initiala
este mai mare. De
aceea, instalatiile oleopneumatice functioneaza la presiuni
ridicate de aproximativ 300 atm.
In fig.27 este reprezentat schematic un mecanism de actionare oleo-pneumatic de tip MOP-1 fabricat la Electroputere Craiova. Presiunea de actionare de cca. 300 atm. este asigurata in acumulatorul de energie 1, cu ajutorul pompei 2 care trimite ulei sub presiune din rezervorul de ulei 3. In stare de repaus, electro-valvele 4 si 5 sunt inchise, iar intre fetele pistonului 6 nu exista nici o diferenta de presiune. Intreruptorul este mentinut in pozitia inchis de resortul tumbler 8.
Pentru a inchide intreruptorul. prin deplasarea in sus a contactului mobil 14, printr-o comanda electrica se actioneaza electrovalva 4, care trimite ulei pe fata superioara a pistonului 6 pe care il deplaseaza in jos. Uleiul din partea inferioara a cilindrului 7 este trimis in rezervorul 3 prin electrovalva 5, care stabileste comunicatia respectiva. Dupa terminarea manevrei, electrovalvele 4 si 5 se inchid, iar ansamblul revine la pozitia de repaus. Ventilele 9 si 10 asigura mentinerea conductelor la o presiune de 5 atm. prin reductorul 11 impiedecand prin aceasta intrarea aerului in tevi, fapt care ar anula rapiditatea actionarii.
|
|
Fig.27. Mecanism oleopneumatic |
Pentru a deschide intreruptorul, uleiul este trimis prin electrovalva 5 pe fata inferioara a pistonului 6, iar electrovalva 4 permite uleiului din partea superioara a pistonului sa ajunga in rezervorul 3. Contactul mobil 14 se deplaseaza in jos si este mentinut in pozitia deschis de resortul tumbler 8, iar ventilele 9 si 10 asigura din nou egalizarea presiunilor pe cele doua fete ale pistonului. Semnalizarea pozitiei deschis, respectiv inchis se realizeaza cu dispozitivul hidraulic 12 care actioneaza un comutator cu contacte de semnalizare. Dupa actionarea MOP, electropompa 2 impinge uleiul din rezervorul 3 in acumulatorul 1 pana cand presostatul 13 ii opreste alimentarea la atingerea presiunii de actionare.
Avantajele comenzilor oleopneumatice sunt: transmisia de energie de la acumulatorul de energie la intreruptor se face prin intermediul tevilor parcurse de ulei, eliminand legaturile mecanice intre camerele de stingere; acumularea de energie se face in volume mai reduse decat in cazul acumularii energiei in resoarte; cuplul motor al dispozitivului oleopneumatic este relativ constant; se elimina dispozitivul de acrosaj al intreruptorului, piesa extrem de delicata; tevile nu sunt sub presiune ridicata decat in momentul comenzii, ceea ce reduce considerabil uzura instalatiei; pozitia inchis si deschis este asigurata de resortul tumbler.
Pentru a evidentia faptul ca aparatele electrice sunt integrate functional in structura retelelor electrice se reprezinta in fig.28 schema tipica a unui transport de energie in cadrul unui sistem electroenergetic interconectat. Reteaua este alimentata de la ambele capete prin generatoarele G si G , consumatorul fiind conectat la barele generatorului G . In acest fel, consumatorul este alimentat partial de la generatorul G si partial printr-un transport de energie de la generatorul G prin intermediul celor doua linii in paralel a si b, prevazute cu intreruptoarele de inalta tensiune 1, 2 respectiv 3, 4.

Fig.28. Explicativa referitor la rolul intreruptorului
Daca U si U sunt tensiunile la bornele celor doua generatoare, iar I curentul debitat de generatorul G puterea activa transportata de la generatorul G la consumator este:
(9)
unde f este defazajul dintre tensiunea la borne si curentul prin consumator.
|
|
Fig.29. Diagrama fazoriala |
Considerand diagrama fazoriala din fig.29 si
neglijand rezistenta liniilor in raport cu reactanta lor, notand cu q unghiul dintre tensiunile
si
, se poate scrie:
|
|
rezultand:
(11)
Introducand relatia (11) in relatia (9) se obtine:
(12)
Rezulta
ca puterea activa transportata pe linii de la centrala I depinde
de valoarea unghiului q si are valoarea maxima pentru
:
(13)
In regimul de functionare normal, in acord cu relatiile (12) si (13), pentru reactanta celor doua linii a si b in paralel X = X se obtine reprezentarea din fig.30, pentru P = f q
|
|
Fig.30. Curbele P = f q |
Presupunand ca apare un scurtcircuit pe linia b si cum in timpul scurtcircuitului nu se face un transport apreciabil de energie de la centrala I spre consumator, aceasta echivaleaza cu o crestere pronuntata a reactantei care devine X = Xsc >> X . Curba corespunzatoare reactantei Xsc este reprezentata tot in fig.30. Dupa un scurt timp protectia prin relee comanda declansarea intreruptoarelor 3 si 4, intrerupand alimentarea prin linia b, astfel ca transportul de energie se face doar pe linia a caracterizata printr-o reactanta X = X > X , a carei curba este reprezentata in fig.30. Notand cu P puterea masinii primare, ce poate fi considerata constanta in regimul tranzitoriu de scurtcircuit, deoarece regulatorul de sarcina nu are timpul necesar de a interveni, se poate da urmatoarea interpretare reprezentarilor din fig.30. In regim normal punctul de functionare este a (intersectia dintre dreapta P = ct. si curba P = f q) pentru X = X ), corespunzator unghiului q . In primul moment al aparitiei scurtcircuitului, punctul de functionare trece din a in b, pe curba corespunzatoare reactantei de scurtcircuit Xsc. Se constata ca puterea electrica dezvoltata de generatorul G este inferioara puterii mecanice a masinii de antrenare, aparand astfel tendinta de accelerare si unghiul q creste. Punctul de functionare trece din b in c, iar unghiul q creste de la q la q
Astfel in timpul regimului de scurtcircuit in masele in rotatie se acumuleaza energie cinetica. La atingerea valorii q , ca urmare a declansarii intreruptoarelor punctul de functionare trece de la c la d, pe curba corespunzatoare reactantei X . In acest punct puterea electrica este superioara puterii mecanice si rotorul va fi franat. Punctul de functionare se va stabili in e la echilibrul dintre puterea electrica si cea mecanica, in urma unor oscilatii in jurul acestui punct. Este posibila trecerea si in punctul f , care este insa un punct instabil de functionare deoarece la o usoara crestere a unghiului q peste valoarea q max puterea electrica este inferioara celei mecanice si generatorul poate iesi din sincronism datorita accelerarii. In asemenea situatie se ajunge daca energia de accelerare W a , proportionala cu aria A , este superioara energiei de franare W f , proportionala cu aria B. Rezulta ca pentru a nu avea declansare prin accelerare este necesar ca W a < W f , iar punctul de functionare sa fie readus in e.
Pentru a micsora energia de accelerare W a este necesar ca durata scurtcircui-tului sa fie redusa. Acest lucru se realizeaza utilizand intreruptoare de inalta tensiune pneumatice si mai ales intreruptoare cu SF , la care durata arcului nu depaseste o semiperioada. Intreruptoarele cu ulei putin, necesitand cateva semiperioade pentru stingerea arcului, in scopul formarii unei presiuni suficiente in camera de stingere, sunt mai putin eficiente in asigurarea stabilitatii functionarii sistemului energetic.
Supratensiunile constituie solicitari dielectrice anormale ale izolatiei retelelor electrice si aparatelor electrice, de scurta durata dar de mare amplitudine, cu atat mai periculoase cu cat tensiunea nominala a instalatiei este mai ridicata. Supratensiunile ce apar in sistemul energetic, dupa natura lor, se clasifica in supratensiuni externe, respectiv interne. Cele externe se datoresc in principal loviturilor de trasnet directe sau indirecte, iar cele interne sunt datorate proceselor de comutatie ce apar in caz de variatie brusca a parametrilor retelei. Patrunderea in statiile de transformare a undelor de supratensiune ce se propaga pe linii, ar periclita aparatele, echipamentele si transformatoarele din statii.
Pentru protejarea impotriva supratensiunilor se folosesc paratrasnete, eclatoare si descarcatoare. Impotriva supratensiunilor atmosferice cauzate de loviturile directe de trasnet se folosesc paratrasnete. Acestea consta in principiu din captatorul loviturii de trasnet, din priza de pamant si din legatura dintre ele. Paratrasnetul, avand potentialul pamantului, se va incarca prin inductie electrostatica cu sarcini electrice pozitive, iar datorita razei de curbura mici a captatorului si implicit a campului electric intens, se favorizeaza aparitia descarcarii intre nor si paratrasnet, orientand astfel lovitura de trasnet spre pamant. Se utilizeaza paratrasnete verticale pentru protectia statiilor electrice si paratrasnete orizontale, plasate la extremitatea pilonilor liniilor electrice aeriene, pentru protectia conductoarelor active. Protectia instalatiilor electroenergetice impotriva supratensiunilor nu se poate realiza numai cu ajutorul paratrasnetelor, luandu-se masuri suplimentare de protectie, prin utilizarea diferitelor tipuri de eclatoare si descarcatoare.
Eclatoarele si descarcatoarele sunt dispozitive destinate sa impiedice cresterea tensiunii peste valori la care izolatia ar fi solicitata mai mult decat poate suporta. Limitarea nivelului supratensiunilor permite sa se foloseasca o izolatie redusa, deci sa se obtina si efecte economice. Aceste aparate se monteaza intre faza si pamant, prezentand cel mai scazut nivel de izolatie din instalatie, datorita prezentei spatiului disruptiv, calculat sa se strapunga la aparitia supratensiunii inaintea distrugerii instalatiei.
Aparatele de protectie la supratensiuni trebuie sa indeplineasca doua functiuni: limitarea valorii supratensiunilor care pot sa apara intre calea de curent si pamant, prin punerea temporara a liniei la pamant printr-o impedanta mica si intreruperea automata a legaturii linie - pamant, imediat ce valoarea supratensiunii nu mai este periculoasa pentru instalatie.
Aparatele care indeplinesc numai prima functie poarta denumirea de eclatoare, iar cele care indeplinesc ambele functii se numesc descarcatoare. In constructia descarcatoarelor se gaseste un eclator, care formeaza spatiul disruptiv.
Pentru evidentierea rolului si locului de montare al acestor aparate se prezinta in fig.31 un descarcator D (cu spatiul disruptiv d) montat inaintea separatorului S si a intreruptorului IUP-110 , in scopul reducerii undei de supratensiune pe linie de la forma 1 la forma 1', nepericuloasa pentru instalatiile protejate. Descarcatorul D are spatiul disruptiv legat intre linie si pamant si constituie cel mai slab nivel de izolatie, pentru ca el sa cedeze primul supratensiunii si se plaseaza la intrarea in statiile electrice alimentate de la linii aeriene.
|
|
Fig.31. Protectia impotriva supratensiunilor |
La aparitia supratensiunii, descarcatorul pune LEA de inalta tensiune la pamant. In aceasta perioada, care dureaza cca. 0,001 s, prin aparat trece un impuls de curent, numit curent de scurgere is, alimentat de unda de supratensiune. Ca urmare a ionizarii spatiului disruptiv din descarcator de catre curentul de scurgere i s , apare un arc electric intretinut de tensiunea retelei si descarcatorul este parcurs de curentul de insotire i i . Acest curent apare dupa trecerea undei de supratensiune, iar descarcatorul trebuie sa asigure separarea liniei de pamant prin stingerea arcului format.
Eclatoarele sunt cele mai simple aparate de protectie impotriva supratensiunilor. Ele se compun din doi electrozi metalici, unul legat la partea aflata sub tensiune si celalalt la pamant, uneori cu posibilitatea reglarii intervalului disruptiv. Eclatoarele se folosesc la protectia izolatoarelor de portelan (fig.32) pentru a evita conturnarea lor si se pot realiza sub forma eclatoarelor cu coarne (a), eclatoare cu tije (b) si cu inele de protectie (c). De asemenea, eclatoarele sunt elemente componente ale descarcatoarelor, constituind spatiul disruptiv al acestora si asigurand separarea partii sub tensiune de cea legata la potentialul pamantului.
Stingerea arcului electric datorita curentului de insotire i s este naturala, prin alungire, datorita interactiunii curentului prin arc cu propriul camp magnetic.
|
|
Fig.32. Tipuri constructive de eclatoare |
Eclatoarele, avand o amorsare intarziata si deci unda de tensiune poate patrunde in instalatie inainte ca eclatorul sa intervina, au o raspandire limitata in retelele de medie tensiune, pentru protectia posturilor de transformare si in tractiunea electrica in curent continuu.
De asemenea, eclatoarele au neajunsul ca provoaca scurtcircuite la pamant, nefiind capabile sa intrerupa curentul de insotire, fapt care provoaca scoaterea de sub tensiune a instalatiei si taie unda de impuls a supratensiunii, fapt care conduce la solicitari dielectrice suplimentare.
Descarcatoarele sunt aparate de protectie care pe langa functia principala de limitare a supratensiunilor sunt capabile sa reduca curentul de insotire la valori la care spatiul disruptiv devine izolant, fiind prevazute cu dispozitive speciale de stingere a arcului electric imediat ce tensiunea a revenit la valori nepericuloase pentru instalatie.
Descarcatorul se monteaza la intrarea in statiile electrice intre faza si pamant si in punctele in care linia isi modifica impedanta caracteristica. Tinand seama de cele doua functii pe care trebuie sa le indeplineasca: limitarea valorii supratensiunilor prin punerea temporara a liniei la pamant si intreruperea automata a legaturii cu pamantul, descarcatoarele trebuie sa opuna o rezistenta cat mai mica curentului de scurgere si o rezistenta cat mai mare curentului de insotire. Aceasta tendinta contradictorie o satisfac rezistentele cu caracteristica tensiune - curent neliniara (fig.33), realizate obisnuit din carbura de siliciu (carborund) amestecate cu diferite ingrediente si cunoscute sub denumirile: vilit , tirit, xilit s.a. Asa cum se constata din caracteristica volt-amper din figura 33, fixand punctul de functionare al descarcatorului in apropierea cotului caracteristicii nelineare superioare, rezistenta are o valoare mare la tensiunea nominala iar la aparitia unei supratensiuni curentul prin rezistenta creste mult, asigurand micsorarea acesteia pentru valori ale tensiunii care depasesc pe cea nominala.
|
|
Fig.33. Caracteristica volt - amper la discurile de carborund |
In conditii normale de functionare un descarcator nu trebuie sa permita trecerea curentului electric. Pentru aceasta, descarcatorul este prevazut cu un spatiu disruptiv (eclator), care separa linia aflata sub tensiune de pamant. Acest spatiu disruptiv trebuie astfel ales incat sa fie strapuns ori de cate ori tensiunea depaseste nivelul limita admis.
Performantele unui descarcator sunt determinate in mare masura de nelinearitatea rezistentelor si de precizia de amorsare si stingere a eclatoarelor. Cu cat rezistentele sunt mai nelineare, conducerea sarcinilor la pamant, sub forma curentului de scurgere, este mai rapida, iar in etapa finala cand intensitatea curentului de insotire este redusa, rezistenta ia valori mari favorizand stingerea arcului electric.
In cele ce urmeaza vom prezenta principalele tipuri constructive de descarcatoare.
a) Descarcatoare cu coarne (DC)
Se utilizeaza pentru protectia impotriva supratensiunilor a liniilor si posturilor de medie tensiune, de putere mica. Asa cum se vede din fig.34 aceste decarcatoare au doi electrozi in forma de coarne, unul legat la faza si unul legat la pamant, pentru amorsarea si stingerea arcului electric. Un electrod intermediar, tija antipasare, este destinat sa evite patrunderea pasarilor in zona spatiului disruptiv. Functionarea descarcatorului consta in strapungerea spatiului disruptiv dintre electrozi la o anumita valoare a supratensiunii, iar arcul electric care apare ca urmare a curentului de insotire este stins datorita coarnelor divergente, prin alungirea lui provocata de fortele electrodinamice.
|
|
Fig.34. Descarcator cu coarne |
b) Descarcatoare tubulare cu fibra (DTF)
Aceste descarcatoare sunt folosite pentru protectia liniilor electrice de 100 kV impotriva propagarii pe acestea a undelor de supratensiune. Au o constructie simpla, prezentata in fig.35.a, avand urmatoarele parti componente: 1 - tub gazogen de fibra; 2 - tub de protectie din pertinax sau bachelita; 3 - electrod tija; 4 - electrod inelar, cu orificii de evacuare a gazelor; 5 - spatiul disruptiv interior; 6 - spatiul disruptiv exterior(eclator).
|
|
Fig.35. Descarcator tubular cu fibra
La aparitia unei unde de supratensiune intre linie si pamant, care depaseste tensiunea de amorsare a descarcatorului, intervalele disruptive 5 si 6 sunt strapunse, amorsandu-se doua arce in serie, care pun linia la pamant. Unda de supratensiune provoaca trecerea unui curent de scurgere prin descarcator, iar arcul electric dintre electrodul tija 3 si electrodul inelar 4 descompune peretii gazogeni ai tubului 1. Se creeaza astfel un puternic suflaj longitudinal de gaze, care intrerupe curentul de insotire la trecerea prin zero. Arcul electric din intervalul 6 se stinge apoi de la sine.
Un tip mai perfectionat de descarcator tubular este prezentat in fig.35.b impreuna cu schema electrica echivalenta. Acest aparat are un eclator in aer format din electrozii 1 si 2, un eclator de conturnare format din electrodul tija 3 si electrodul 4. La amorsare are loc strapungerea electrodului in aer si apoi arcul electric se stabileste in tubul gazogen 5, iar suflajul gazelor dezvoltate de arc produce stingerea acestuia. Capacitatea formata intre inelul exterior 6 si tija 3 este mai mare decat capacitatea dintre electrozii 4 si 7, ceea ce determina ca la aparitia supratensiunii sa aiba loc amorsarea intre electrozii 4 si 7 si apoi arcul electric sa sara intre electrozii 4 si 3.
Cu toate ca descarcatoarele tubulare au constructie simpla, sunt robuste, ieftine si au o putere de rupere mare, ele prezinta o serie de neajunsuri care le limiteaza utilizarea si anume: uzura tubului gazogen; tensiunea de amorsare relativ ridicata produce intrarea in functie cu inertie; pot determina unde de supratensiune taiate, cu efecte periculoase pentru izolatia echipamentelor protejate.
c) Descarcatoare cu rezistenta variabila (DRVS)
Sunt aparate perfectionate pentru protectia
impotriva supratensiunilor externe cat si impotriva celor interne si
sunt formate, asa cum reiese din fig.36 din urmatoarele
parti: A - coloana de eclatoare, in
paralel cu care se gasesc rezistentele de suntare
, cu rolul de a repartiza uniform campul electric pe
eclatoare;
B - coloana de rezistente variabile ,
formate din mai multe discuri de carbura de siliciu cu caracteristica volt - amper
nelineara; C - anvelopa de portelan,
ce protejeaza eclatoarele
si rezistentele nelineare de influenta umiditatii
si de alti agenti atmosferici. Pentru e evita explozia anvelopei, capacele de etansare se
monteaza cu stifturi, care se rup la aparitia unei presiuni prea mari in descarcator, functionand ca o supapa de siguranta.
|
|
Fig.36. Descarcator DRVS |
Functionarea
consta in amorsarea coloanei de eclatoare in cazul aparitiei unei
supratensiuni care depaseste nivelul de izolatie al
descarcatorului, conducerea la pamant a curentului de scurgere
care limiteaza supratensiunea din instalatie, iar in final, stingerea
arcului electric. Stingerea este determinata de rezistenta
nelineara, a carei valoare creste pe masura ce valoarea
supratensiunii scade, permitand, intreruperea curentului de insotire
la prima sa trecere prin zero. Mentionam ca la tensiunea nominala, curentul de
conductibilitate prin coloana de rezistente de suntare (
) si rezistenta nelineara este
neglijabil (400 mA). Aceste descarcatoare se fabrica in tara (Electroputere Craiova) in conceptie constructiva modulara.
d) Descarcatoare cu rezistenta variabila si suflaj magnetic (DRVM)
Aceste descarcatoare se construiesc pentru tensiuni foarte inalte sau pentru curenti de punere la pamant de valori ridicate si se realizeaza pana la tensiuni de 400 kV pe principiul modulului.
In fig.37 este prezentata schema electrica a unui descarcator cu rezistenta variabila si suflaj magnetic. Un asemenea descarcator cuprinde si eclatoare de amorsare E as , conectate in serie cu ansamblul format din bobina de suflaj L si rezistenta R si cu rezistenta nelineara R
Fiecare modul este suntat de rezistenta R , de valoare mare, care asigura repartitia uniforma a tensiunii pe eclatoarele unui modul. In absenta supratensiunii, prin rezistenta R trece un curent de conductibilitate de ordinul miliamperilor.
Fata
de descarcatoarele DRVS, la
descarcatoarele de tip DRVM intervin in plus bobinele de suflaj ale arcului electric, ce contribuie la
deionizarea rapida a arcului dintre eclatoare. Functionarea
descarcatorului se poate urmari pe diagrama din fig.38, in care
s-a reprezentat curba tensiunii instalatiei
.
|
|
Fig.37. Descarcator DRVM |
|
|
Fig.38. Explicativa la functionarea descarcatorului |
In momentul t apare o supratensiune, iar in momentul t amorseaza eclatoarele E as la tensiunea de amorsare U a Curentul de scurgere urmeaza calea R - E as - R - R si nu strabate bobinele L din cauza valorii mari a reactantei lor fata de frecventele inalte ale curentului de scurgere. Tensiunea cea mai mare, dupa amorsare, la bornele descarcatorului este tensiunea reziduala U r . Dupa conducerea la pamant a sarcinilor electrice ale descarcarii, eclatoarele isi conserva ionizarea, iar prin descarcator trece curentul de insotire ii, incepand cu momentul t . Acest curent este limitat de rezistentele nelineare R si fiind intretinut de tensiunea retelei (f = 50 Hz) va strabate bobinele de suflaj. Se produce un camp magnetic de inductie B in zona eclatoarelor, ce conduce la aparitia unor forte Lorentz, care imping arcul electric in camera de stingere cu fanta si pereti reci, provocand rapida deionizare si stingere a arcului electric dintre eclatoare. Asa cum se vede in fig.38, in absenta descarcatorului supratensiunea ar ajunge la valoarea U stm , mult mai mare decat tensiunea de protectie U pd a echipamentelor din instalatie.
Descarcatoarele DRVM asigura deci diminuarea curentului de insotire nu numai din cauza rezistentelor nelineare ci si datorita rezistentei sporite a arcului electric intins si deionizat in camerele de stingere.
Bobinele de reactanta sunt aparate care servesc la limitarea curentilor de scurtcircuit in circuitele electrice de mare putere si la mentinerea tensiunii la bare, in caz de avarie, la un nivel acceptabil, care sa asigure functionarea fara intrerupere a consumatorilor neafectati.
Limitarea valorii curentilor de scurtcircuit prin instalarea bobinelor de reactanta la barele colectoare ale centralelor electrice, in statiile de transformare, precum si la liniile care pleaca de la aceste bare, plasate dupa cum se ilustreaza in fig.39, cu toate ca complica si scumpeste instalatiile, realizeaza conditii mai bune pentru functionarea elementelor celor mai sensibile la aceste avarii: cablurile (sub aspectul stabilitatii termice), intreruptoarelor (sub aspectul puterii de rupere), permitand alegerea unor echipamente pentru valori mai mici ale curentilor de scurtcircuit.
|
|
Fig.39. Scheme de conectare ale bobinelor |
Bobina de reactanta este o bobina fara miez de fier (pentru a avea o inductivitate constanta) si la tensiuni sub 35 kV se realizeaza in aer, rigidizarea bobinajului impotriva fortelor electrodinamice realizandu-se prin inglobarea partiala a acesteia in beton sau in rasini epoxidice. Pentru tensiuni mai mari de 35 kV, bobinele de reactanta sunt de tip exterior, mediul de racire fiind uleiul mineral cuprins in interiorul unei cuve in care se afla si un ecran.
Parametrul principal este reactanta bobinei (X r), al carei efect principal este caderea de tensiune pe bobina, care la curentul nominal (I n), in cazul in care se neglijeaza rezistenta bobinei in raport cu reactanta sa, este:
(14)
Se defineste reactanta procentuala:
[%] (15)
Intrucat reactanta bobinei are expresia:
[W
unde L este inductivitatea bobinei exprimata in [mH], reactanta procentuala devine, pentru f = 50 Hz :
[%] (17)
Reactanta
procentuala
[%] este un indicator
al posibilitatilor de limitare a curentului si este de obicei (6 8) % pentru cablurile de plecare (
fig.39) si (8 12) % pentru bobinele de
reactanta destinate barelor colectoare (
din fig.39).
Valoarea curentului de scurtcircuit, considerand ca el este determinat numai de parametrii bobinei de reactanta, prin neglijarea rezistentelor din retea este:
(18)
Tinand seama de relatia (17), se poate scrie:
(19)
Cu
valorile acceptate ale reactantei procentuale rezulta o limitare a
curentului de scurtcircuit la maxim (8 10)
.
Pentru
a evidentia efectul bobinei de reactanta, in fig.40 s-au
reprezentat caderile de tensiune pe o plecare intr-un cablu la regimul nominal
(curba 1) si in regim de scurtcircuit (curba 2). Se observa ca
in regimul de scurtcircuit marimea caderii de tensiune pe bobina de
reactanta
asigura pe barele
B o tensiune U rem de valoare apropiata cu cea nominala, iar curentul de
scurtcircuit este limitat conform relatiei (19).
|
|
Fig.40. Explicativa la
influenta bobinei |
Bobinele de reactanta in aer se executa fara miez de fier, incastrate in beton si au forma constructiva din fig.41. Pentru incastrarea cailor de curent, realizate din aluminiu sau cupru, se folosesc 6 10 coloane de beton. Intre spirele bobinei se lasa spatii libere pentru accesul aerului de racire. Betonul bobinei este tratat pentru a nu se inrautati rigiditatea dielectrica a izolatiei spirelor, fiind acoperit dupa uscare cu un lac nehigroscopic. Bobinele celor 3 faze pot fi montate atat vertical, cat si orizontal. Dezavantajele bobinelor de reactanta in beton sunt: tehnologia complicata de prelucrare si uscare, precum si greutatea si dimensiunile de gabarit mari.
|
|
Fig.41. Bobina de reactanta in aer |
La bobinele de reactanta in cuva metalica cu ulei trebuie luate masuri pentru limitarea fluxului magnetic prin peretii cuvei deoarece ar incalzi puternic atat uleiul cat si cuva. De aceea, in interiorul cuvei se monteaza un ecran inelar din cupru sau aluminiu, fixat pe peretii cuvei. Compensarea este cu atat mai buna cu cat rezistenta electrica a ecranului este mai redusa.
Conditiile impuse bobinelor de reactanta sunt:
- supratensiunile nu trebuie sa produca strapungeri sau puneri la pamant a elementelor infasurarii;
- stabilitatea termica si electrodinamica sa fie ridicata;
- caderile de tensiune in regim normal de functionare sa nu depaseasca (1 3) % din tensiunea nominala;
- pierderile de putere in bobina sa fie cuprinse intre (0,2 0,5) % din puterea ce trece prin bobina.
|
Politica de confidentialitate | Termeni si conditii de utilizare |
Vizualizari: 16056
Importanta: ![]()
Termeni si conditii de utilizare | Contact
© SCRIGROUP 2026 . All rights reserved