Scrigroup - Documente si articole

     

HomeDocumenteUploadResurseAlte limbi doc
AstronomieBiofizicaBiologieBotanicaCartiChimieCopii
Educatie civicaFabule ghicitoriFizicaGramaticaJocLiteratura romanaLogica
MatematicaPoeziiPsihologie psihiatrieSociologie


PILE ELECTRICE (ELEMENTE GALVANICE) - PILA DANIEL-JACOBI

Chimie



+ Font mai mare | - Font mai mic



PILE ELECTRICE (ELEMENTE GALVANICE) - PILA DANIEL-JACOBI



Notiuni introductive:

Sursele electrochimice de curent se pot clasifica in:

pile primare energia electrica se produce pe seama unor reactanti ce se gasesc in pila in cantitate limitata, regenerarea lor prin electroliza neavand loc;

pile secundare (acumulatoare) in pilele secundare, partenerii de reactie, consumati in timpul producerii energiei electrice (descarcare) se pot reface cu ajutorul unui proces de electroliza (incarcare);

pile de combustie in pilele de combustie partenerii de reactie sunt alimentati continuu la electrozi, in tot timpul cat ele se afla sub sarcina; energia eliberata la combustie se transforma direct in energie electrica.

Datorita numarului mare de tipuri de pile elaborate pana in prezent, nu este posibila o clasificare care sa le cuprinda pe toate. De aceea clasificarea se face dupa diferite criterii. Dintre acestea doua sunt mai utilizate:

starea de agregare a depolarizantului catodic depolarizantul catodic reprezinta substanta activa in contact cu catodul care are rolul de a facilita desfasurarea reactiei catodice (reactiei de reducere) cu cat acesta reactie are o viteza mai mare depolarizantul respectiv este mai eficace.

pile cu depolarizant lichid;

pila Daniel-Jacobi -)Zn/ZnSO4//CuSO4/Cu(

pile cu depolarizant solid;

pila de tip Leclanche (pila 'uscata -)Zn/NH4C1 /MnO2/C(

pile cu depolarizant gazos.

pila alcalina cu anozi de zinc -)Zn/KOH /O2/C(

starea de agregare a electrolitului

pile cu electrolit lichid

pile cu electrolit 'uscat'

pile cu electrolit solid se caracterizeazd prin durate foarte mari de functionare(cateva zeci de ani) si prin curenti de descarcare extrem de mici -8 A)

(-)Ag/AgCl//C12/C(+)

(-)Ag/AgBr//(Br2)C(+)

(-)Ag/AgCI//(I2)C(+).

Pile standard In scopul compararii FEM (fortei electromotoare) si al calibrarii unor circuite de masurare a FEM, se adopta anumite pile standard avand valori foarte reproductibile si bine determinate ale FEM. Ca si electrozii de referinta, o pila standard trebuie sa fie usor realizabila din substante chimice pure si sa manifeste stabilitate in timp. Cerintele mentionate sunt satisfacute printre altele si de pila Daniel-Jacobi in care procesul electromotric activ este reversibil si se desfasoara cu usurinta in ambele sensuri; in plus FEM este usor reproductibila. totusi pila nu poate fi recomandata in calitate de standard, din cauza

alterarii anolitului si catolitului, in urma difuziei prin peretele poros separator; chiar cand difuzia este evitata, scurgerea continua a unor curenti slabi determina modificari de concentratie a electrolitului).

Pile de concentratie pile galvanice ale caror forte electromotoare se datoreaza diferentei de concentratie a unei specii metalice date, la cei doi electrozi, scufundati intr-o solutie comuna de electrolit sau diferentei de concentratie a solutiilor de acelasi electrolit si aflate in contact cu electrozi metalici identici.

Daca la electrozii unei pile chimice se aplica o diferenta de potential din exterior, care compenseaza forta electromotoare (f.e.m.) a pilei → nu trece curent electric prin circuitul exterior, nu are loc nici o reactie chimica la electrozi si deci nici o schimbare a concentratiilor electrolitilor.

Daca diferenta de potential aplicata din exterior este mai mare decat f.e.m. a pilei - curentul va circula in sens opus in pila, iar reactiile chimice de la electrozi vor fi inversate. Pila se numeste reversibila.

Tensiunea (forta) electromotoare, E, este caracteristica de baza a unei surse de curent electric, fiind egala cu diferenta potentialelor electrozilor cand sursa nu debiteaza curent (potentialele reversibile)

E= εc - εa = ε+ - ε-

unde: εc este potentialul reversibil al electrodului pozitiv (catodul→ unde are loc reducerea)

εa este potentialul reversibil al electrodului negativ (anodul→ unde are loc oxidarea)

Intrucat εoxidarereducere rezulta

E εreducere+ εoxidare

Tensiunea electromotoare se masoara, de regula, cu ajutorul potentiometrelor, iar pentru precizii mai mici, se pot folosi si voltmetrele electronice care poseda o rezistenta interna mare.

Intre electrozii celulei galvanice apare o diferenta de potential (forta electromotoare) care, la inchiderea circuitului determina trecerea curentului electric dinspre electrodul cu potentialul mai mare catre electrodul cu potentialul mai mic.

Potentialele de electrod pot fi calculate cu ajutorul relatiei lui Nernst

ε=ε0 + = ε0 +

Actiunea unui oxidant asupra unui reducator este cu atat mai puternica, cu cat diferenta dintre potentialele celor doua sisteme este mai mare pentru ca reactia sa fie totala, forta electromotoare trebuie sa fie de minim 0,2 0,4 V.

Metalele pot fi grupate functie de potentialul de oxidare standard intr-o ordine numita seria Volta Beketov sau seria tensiunilor electrochimice:

Li, K, Be, Ca, Na, Mg, Al, Mn, Zn, Cr, Fe, Cd, Co, Ni, Sn, Pb H Cu, Ag, Hg, Pt, Au

Metalele situate dupa hidrogen nu pot dizlocui hidrogenul din solutiile de acizi

Metalele dinaintea hidrogenului il inlocuiesc din solutiile de acizi

Cu cat metalul este situat mai la inceputul seriei cu atat este mai reactiv din punct de vedere chimic si manifesta o tendinta de oxidare mai mare si de reducere mai mica.

Scopul lucrarii

In lucrarea de laborator se va efectua realizarea montajului experimental pentru elementul galvanic Daniel-Jacobi, masurarea tensiunii electromotoare si compararea acesteia cu valoarea calculata pe baza potentialelor standard de electrod.

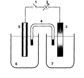
Montaj experimental

     

intrerupator

voltmetru

Celula galvanica :

placuta de cupru

punte de sare (cu solutie saturata de KCl)

placuta de zinc

semicelula zincului (compartimentul anodic) -

contine solutie ZnSO 1N

semipelula cuprului (compartimentul catodic)

contine solutie CuSO4 1N

Simbolizarea pilei Daniel-Jacobi

Zn ZnSO (1N) CuSO (1N) Cu

sau

Zn Zn (1N) Cu (1N) Cu

Reactiile care au loc la electrozi in cele doua semicelule sunt:

la catod (+) : Cu 2e Cu       reducere

la anod (-) : Zn - 2e- Zn2+ oxidare

Reactia totala care genereaza energie electrica se obtine prin insumarea reactiilor care au loc la electrozi:

Zn + CuSO4 ZnSO4 + Cu sau Zn Cu → Zn Cu

Masurarea tensiunii electromotoare se face cu un voltmetru sau milivoltmetru (se poate utiliza si un potentiometru compensator) se fac citiri la intervale de 5 minute si se calculeaza valoarea medie a tensiunii la borne

Se compara valoarea masurata a tensiunii electromotoare cu valoarea calculata (tinand cont de relatia lui Nernst) pe baza potentialelor de electrod

0,336 V 0.763 V (potentiale standard in solutie 1N).

Principiul functionarii pile! Daniel-Jacobi: Daca cei doi electrozi metalici nu sunt uniti in exterior printr-un conductor electronic, in pila nu se produce nici o reactie chimica. Daca insa se stabileste aceasta legatura, la ambii electrozi se produc concomitent reactii chimice.

De pe suprafata placii de zinc, atomii ce sunt in contact cu solutia, se desprind de pe placa sub forma de cationi de Zn2+, iar electronii raman pe placa de zinc care se incarca negativ. Acesti electroni liberi, datorita existentei benzilor de conductie, se deplaseaza usor spre placa de cupru formand circuitul extrior al pilei. In acelasi timp cationii de Cu din solutia de CuSO se descarca primind electroni si se depun sub forma de cupru metalic, pe placa de cupru.

Puntea de sare permite mentinerea neutralitatii electrice intre cele doua solutii din semicelule, impiedicand amestecarea acestora; totodata puntea de sare asigura inchiderea circuitului electric permitand deplasarea ionilor S042-

Reactia totala care are loc in pila este data de suma celor doua reactii ce se petrec la electrozi:

Zn + Cu2+ → Zn2+ Cu

Pentru ca aceasta reactie sa decurga in sens invers, trebuie introdusa in circuitul exterior al pilei, o diferenta de potential mai mare si opusa celei generate de pila. (in acest caz, de pe placuta metalica de cupru vor trece in solutie cationi de Cu , iar pe placuta de zinc se vor depune cationi de Zn , reducandu-se la zinc metalic)

. In timpul functionarii pilei Daniel-Jacobi, cantitatea de cupru depusa pe placuta de cupru si cantitatea de zinc dizolvata, sunt echivalente. Daca aceste placi metalice se cantaresc inainte si dupa o durata de functionare a pilei, se constata ca pentru trecerea unei cantitati de electricitate de 96500 coulombi se depune un echivalent de cupru si se dizolva un echivalent de zinc.

Calcule referitoare la celulele galvanice

Calculele privitoare la celulele galvanice prezinta o deosebita importanta, deoarece pot fi folosite pentru a preconiza masura in care se desfasoara o reactie redox, precum si schimbarile de potential,in functie de concentratie. In cele ce urmeaza sunt prezentate pe scurt principiile de baza necesare in aceste calcule:

Prin conventie, pentru a descrie complet celulele, se foloseste o reprezentare prescurtata (simbolizata printr-un lant electrochimic). Notarea celulelor trebuie sa tina cont de cateva reguli generale:

Moleculele, elementele, gazele si materialele din care sunt formati electrozii sunt reprezentate prin simbolurile chimice obisnuite. Concentratiile ionilor si moleculelor

precum si presiunile partiale ale gazelor sunt date in paranteze.

. Pentru a ilustra limita dintre o faza de electrod si o faza de solutie sau intre doua faze de solutie, se foloseste o singura linie verticala ). Potentialul la interfata este inclus in potentialul total al celulei.

linie verticala dubla ) ilustreaza un contact electrolitic intre cele doua semicelule (punte de sare, diafragma) care are o diferenta de potential egala cu zero la limita fazei.

. In mod arbitrar, in partea dreapta a celulei galvanice se reprezinta electrodul considerat catod iar in partea stanga a celulei se reprezinta electrodul considerat anod

Tensiunea electromotoare a celulei poate fi calculata cu ajutorul relaliei

E celula ε0dreapta(reducere)0stanga(oxidare)

In mod similar, tensiunea electromotoare poate fi calculata in termeni de potentiale de reducere, prin intermediul relatiei

E celula ε0dreapta(reducere)0stanga(reducere)     

Avantajul ecuatiei consta in faptul ca semicelulele, respectiv potentialele lor, sunt scrise asa cum se gasesc.

!!! Atentie la nomenclatura:

potentialul reactiei semicelulei este scris ca potential de oxidare

potentialul reactiei semicelulei este scris ca potential de reducere

Daca Ecelula > reactia poate avea loc in sensul in care a fost scrisa; este spontana (celula galvanica)

Daca Ecelula<0 reactia nu poate decurge spontan in sensul in care a fost scrisa (pentru ca reactia sa aiba loc in sensul in care a fost scrisa este nevoie sa se aplice o energie exterioara celula electrolitica)

!!! Pentru o semicelula, potentialul poate, fi calculat si in alte conditii decat cele standard numai daca sunt cunoscute toate concentratiile si potentialul de reducere standard; ecest calcul este posibil cu ajutorul relatiei Nernst.

Aplicatii de calcul

Cei doi electrozi ai unei pile Daniel-Jacobi se leaga printr-un fir conductor cu un miliampermetru care, timp de 20 de minute indica un curent de 50 mA. Sa se calculeze variatia masei electrodului negativ si a celui pozitiv. (se dau: AZn ACu F 96500 C)

Pila electrica: Pb H2SO4(aq) PbO2 debiteaza o cantitate de electricitate de 13,4 A.h. Sa se scrie ecuatiile reactiilor care au loc la electrozi si sa se calculeze cu cat a scazut masa anodului (se da: APb = AO F 96500 C)

3. Care din urmatoarele reactii redox sunt posibile:

a)Cr + Fe2+

b)Ti Fe2+

c) Cu Fe

d)Cd Fe

Se dau: 0,41 V ; 0,77 V 0,00 V = 0,34 V

0,40V = 0,44 V (Indicatie: se calculeaza E pentru fiecare sistem)

celula galvanica consta din zinc metalic imersat intr-o solutie de azotat de zinc 0,1 M si din plumb metalic imersat intr-o solutie de azotat de plumb 0,02 M. Sa se reprezinte schematic celula si sa se scrie reactiile care au loc la electrozi. Sa se calculeze forta electromotoare a celulei (se dau: 0,76 V 0,13 V



Politica de confidentialitate | Termeni si conditii de utilizare



DISTRIBUIE DOCUMENTUL

Comentarii


Vizualizari: 14223
Importanta: rank

Comenteaza documentul:

Te rugam sa te autentifici sau sa iti faci cont pentru a putea comenta

Creaza cont nou

Termeni si conditii de utilizare | Contact
© SCRIGROUP 2025 . All rights reserved