| CATEGORII DOCUMENTE |
| Astronomie | Biofizica | Biologie | Botanica | Carti | Chimie | Copii |
| Educatie civica | Fabule ghicitori | Fizica | Gramatica | Joc | Literatura romana | Logica |
| Matematica | Poezii | Psihologie psihiatrie | Sociologie |
Ca rezultat al interactiunii dintre curenti si campurile magnetice create de curentii electrici, asupra conductoarelor parcurse de curenti se exercita forte mecanice denumite forte electrodinamice.
Aceste forte actioneaza, spre exemplu, asupra barelor colectoare parcurse de curenti, determinand solicitari in izolatoarele ce sustin barele. Actiunea lor devine importanta in special in cazul curentilor de scurtcircuit, supunand conductoarele, barele si izolatoarele la solicitari de tipul forta taietoare si momente incovoietoare. De aceea, de aceste forte trebuie sa se tina seama la proiectarea si constructia aparatelor si echipamentelor electrice, astfel incat sa fie asigurata stabilitatea lor mecanica.
Pentru calculul fortelor electrodinamice se folosesc in principal doua metode: una bazata pe interactiunea dintre curenti si campurile magnetice si a doua bazata pe aprecierea variatiei energiei magnetice. La acestea se adauga si cea bazata pe determinarea tensiunilor maxwelliene in camp magnetic, aplicabila in special pentru calculul fortelor electrodinamice in contactele electrice.
Cu reprezentarea grafica din fig.1, expresia fortei Laplace este:
(1)
(2)
|
|
Fig.1. Forta Laplace |
unde a este unghiul format de vectorii
si B . Pentru a calcula
forta determinata de intregul circuit, de lungime , se efectueaza integrala:
[N] (3)
Inductia magnetica B se poate calcula cu teorema lui
Biot-Savart-Laplace. Cu notatiile din fig.2, se determina
intensitatea campului magnetic intr-un punct oarecare M, de vector de
pozitie r, produs de un element de circuit
parcurs de un curent i,
sub forma:
|
|
Fig.2. Explicativa la determinarea inductiei B |
(4)
(5)
unde b este unghiul
format de vectorii
si r. Inductia magnetica produsa in
punctul M va fi:
(6)
Aceasta metoda se recomanda in cazul in care inductia magnetica B poate fi stabilita analitic in fiecare punct al conductorului. Este cazul conductoarelor de forma simpla (conductoare paralele, conductoare perpendiculare etc.)
Aplicatia 1. Sa se determine forta dintre doua circuite coplanare parcurse de curenti si situate in aer.
Forta elementara exercitata de elementul de curent d parcurs de curentul i asupra elementului de curent d parcurs de curentul i , conform relatiilor (2) si (6), este:
unde m mr m s-a luat egal cu m (situate in aer).
Forta exercitata de intregul circuit A, de lungime , asupra elementului de curent dl se obtine prin integrare:
|
|
Fig. Explicativa la calculul fortei |
Forta rezultanta dintre circuitele A si B se obtine prin integrarea fortei elementare dF de-a lungul conductorului B de lungime . Considerand curentii constanti se obtine:
unde c depinde doar de configuratia geometrica si de pozitia celor doua circuite. In relatie, permeabilitatea magnetica m p H / m.
Se considera un sistem de n circuite cuplate magnetic si parcurse de curentii i in. In sistemul considerat se inmagazineaza o energie magnetica:
(7)
Fluxurile care strabat suprafetele limitate de contururile circuitelor sunt legate de curenti prin inductivitatile proprii si mutuale, conform relatiilor lui Maxwell:
(8)
unde s-au notat cu:
Lk inductivitatea proprie a circuitului k
Mkp inductivitatea mutuala a circuitelor k si p.
Inlocuind pe (8) in (7) se deduce:
(9)
Conform teoremei fortelor generalizate, forta generalizata F in directia coordonatei generale x la curentul constant, este:
(10)
respectiv la flux constant:
(11)
relatii ce tin seama de variatiile inductivitatilor in raport cu coordonata generalizata x. Aceste relatii se folosesc in acele aplicatii in care inductivitatile proprii si mutuale sunt cunoscute sub forma unor relatii analitice.
Aplicatia 2. Sa se determine forta dintre doua bobine cuplate magnetic.
Rezolvare. Conform relatiei (9) expresia energiei magnetice este:
si deoarece
rezulta:
Admitand ca valorile curentilor nu depind de deformatia circuitelor (i = ct.), conform relatiei (10) avem:
In aceasta relatie primii doi termeni reprezinta fortele interne din fiecare circuit, iar ultimul termen reprezinta forta de interactiune dintre cele doua sisteme.
In acest paragraf se vor trata cazurile reprezentative de forte electrodinamice exercitate intre conductoare, a caror dimensiune liniara transversala este neglijabila in raport cu lungimea lor si cu distanta dintre ele. Determinarea acestor forte, ca marime si punct de aplicatie, este posibila utilizand o metoda grafo-analitica si in ipoteza ca se izoleaza portiunea din doua circuite corespunzatoare celor doua conductoare.
a) Cazul general
In fig.4 se prezinta doua conductoare, 1 si 2, parcurse de curentii i si i si care fac intre ele un unghi oarecare. Aplicand metoda de calcul bazata pe teorema lui Biot-Savart-Laplace, inductia magnetica in punctul Pk (situat pe elementul d ) determinata de elementul de curent i dy se calculeaza conform relatiei (6):
(12)
Forta care se exercita asupra elementului de circuit d sub influenta elementului de circuit dy parcurs de curentul i , se determina conform (2), cu observatia ca elementul d si inductia dBk sunt perpendiculare si deci sin a = 1 , rezultand:
(13)
Din figura se constata ca:
;
deci
(14)
care inlocuite in (13) determina forta elementara:
(15)
|
|
Fig.4. Referitor la determinarea fortelor dintre doua conductoare coplanare |
Forta determinata de intregul curent i , asupra elementului d este:
(16)
si introducand notiunea de forta specifica (fk), adica forta raportata la unitatea de lungime:
(17)
unde s-a notat cu
si cu
factorul de contur ce depinde de
parametrii geometrici. In fig.5 s-au reprezentat fortele specifice corespunzatoare punctelor
de abscisa xi, plasate pe conductorul 2 si calculate cu relatia (17).
|
|
Fig.5. Constructia grafica pentru determinarea fortei rezultante |
Pentru a determina forta rezultanta care actioneaza asupra conductorului 2, se unesc varfurile segmentelor ce reprezinta la scara fortele specifice si se obtine suprafata hasurata de arie A. Forta electrodinamica rezultanta se calculeaza prin planimetrarea ariei A si este orientata perpendicular pe conductor, punctul de aplicatie fiind in centrul de greutate al suprafetei epurei. Rezulta forta exercitata de conductorul 1 asupra conductorului 2 sub forma:
(18)
unde X - scara fortelor specifice; Y - scara lungimilor si A - aria planimetrata a fortelor specifice.
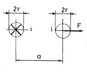
b) Cazul conductoarelor paralele
Consideram ca cele doua conductoare sunt filiforme si paralele (fig.6) de lungime egala cu , situate fata in fata si parcurse de acelasi curent i. Conform relatiei (17) si observand ca x = a = ct., rezulta:
(19)
si cum
(20)
|
|
Fig.6. Cazul conductoarelor paralele |
se obtine expresia fortei specifice sub forma:
(21)
si forta totala care actioneaza asupra conductorului 2 este:
(22)
si prin urmare forta specifica este:
(23)
unde factorul de corectie:
(24)
Reprezentarea fortei specifice este data in fig.6.
In cazul conductoarelor de lungime infinita ( >> a), forta specifica se poate calcula cu relatia:
(25)
deoarece
.
c) Cazul conductoarelor perpendiculare
Consideram ca cele doua conductoare filiforme sunt perpendiculare (fig.7) si parcurse de curentul i , caz in care b p 2 si deci cos b = 0 si cum:
(26)
din relatia (17) obtinem:
(27)
a carei reprezentare este prezentata in fig.7. Forta totala se obtine prin planimetrarea ariei marginite de epura fortelor specifice conform relatiei (18).
|
|
Fig.7. Cazul conductoarelor perpendiculare |
d) Metoda suprapunerii efectelor
In cazul cailor de curent formate din mai multe conductoare, fenomenele fiind liniare, se admite suprapunerea efectelor. Astfel, in fig.8.a s-a desenat calea de curent a unui intreruptor, iar in fig.8.b s-au prezentat fortele specifice pentru fiecare segment de cale de curent, care se afla in campul magnetic al celorlalte conductoare parcurse de acelasi curent i.

a) b)
Fig.8. Explicativa privitoare la suprapunerea efectelor
Se reprezinta fortele specifice determinate de actiunea conductoarelor paralele 1 si 2, conform fig.6 si cele determinate de actiunea conductoarelor perpendiculare 1 si 3, respectiv 2 si 3, conform fig.7 si prin insumare se obtin fortele specifice rezultante asupra celor trei conductoare f , f , respectiv f , a caror epura este prezentata in fig.8.b. Pentru obtinerea fortelor totale F , F si F se procedeaza la planimetrare si se aplica relatiile (18). Se constata ca fortele maxime se exercita la locurile de atingere a contactelor si in articulatii. De acest lucru trebuie sa se tina seama la dimensionarea resoartelor ce asigura presiunea pe contacte si la dimensionarea articulatiilor
Aplicatia Doua conductoare filiforme, paralele, avand lungimea = 1,2 m si distanta dintre ele a = 20 cm, sunt strabatute de un curent de scurtcircuit i = 20 kA. Se cere: a) valoarea fortei electrodinamice dintre conductoare; b) cu cat trebuie majorata distanta dintre ele (Da) pentru ca forta electrodinamica sa scada la jumatate ?
a)
![]()

![]()
b)
;
rezulta a = 0,352 m si deci Da = 0,152 m .
In acest caz se vor prezenta cazurile reprezentative de forte electrodinamice intre conductoare ale caror dimensiuni transversale nu sunt neglijabile fata de distanta dintre ele. Deoarece relatiile de calcul se determina in mod similar cu cele de la paragraful 2.1., schimbandu-se doar conditiile de integrare, se va renunta la demonstrarea relatiilor si se vor considera aplicatii practice din domeniul aparatelor electrice.
a) Conductoare paralele drepte, cu sectiune circulara
O asemenea configuratie este prezentata in fig.9. Forta de interactiune se determina cu ajutorul teoremei fortelor generalizate. Pornim de la expresia inductivitatii unui circuit format din doua conductoare paralele de lungime , de diametru r si distanta dintre conductoare a:
(28)
|
|
Fig.9. Conductoare paralele de sectiune circulara |
rezulta:
(29)
Aplicatia 4. Sa se determine valoarea fortei electrodinamice care se exercita intre doua conductoare de sectiune circulara, paralele, la un curent de scurtcircuit de valoare isc = 5 kA . Se dau: 2 r = 20 mm; a = 40 mm; = 0,5 m.
Rezolvare
![]()
b) Conductoare indoite sub forma de L
In fig.10 este reprezentat un asemenea conductor cu diametrul r, lungimea laturilor h si a, parcurs de un curent i. Forta exercitata asupra elementului dx, de catre latura de lungime h, in concordanta cu relatia (27) este:
(30)
|
|
Fig.10. Conductor in forma de L, cu sectiune circulara |
Forta rezultanta care se exercita pe latura de lungime a, rezulta din integrarea fortei elementare:
(31)
Dupa schimbarile de variabila:
si
(32)
se obtine in final:
(33)
Daca conductorul este indoit sub forma literei U si "a" este distanta dintre laturile paralele, forta taietoare, in locurile de indoire, este data tot de relatia (33).
Aplicatia 5. Se considera doua conductoare perpendiculare din calea de curent a unui intreruptor cu ulei mult avand dimensiunile a = 280 mm; h = 210 mm; r = 10 mm. Sa se determine fortele electrodinamice care solicita elementele caii de curent, cunoscand ca sunt parcurse de un curent de scurtcircuit isc = 7,64 kA.
si forta care se exercita pe latura de lungime "h", se obtine prin permutari:
c) Conductoare paralele drepte, cu sectiune dreptunghiulara
In fig.11 se reprezinta doua conductoare drepte paralele, de sectiune dreptunghiulara (b h), cu distanta a dintre axele conductoarelor, asezate pe latura mica a dreptunghiului si parcurse de acelasi curent i. Pornind de la relatia (19) forta elementara dupa directia r, pentru o lungime (considerata mult mai mare decat dimensiunile b si h) are forma:
(34)
iar componenta dupa directia a:
(35)
in care:
(36)
deci:
(37)
|
|
Fig.11. Conductoare dreptunghiulare asezate pe latura mica |
Prin integrare se obtine forta rezultanta:
(38)
si dupa schimbarile de variabila:
si
(39)
rezulta in final o relatie de forma:
(40)
sau, daca se noteaza functia de corectie:
(41)
se obtine o relatie asemanatoare celei de la conductoarele filiforme (25) corectata cu functia de corectie j(c)
(42)
Pentru conductoarele asezate pe lat, conform fig.12 in care h << b, se obtine similar:
(43)
si cum:
(44)
se obtine expresia fortei rezultante:
(45)
care dupa efectuarea operatiilor obtine forma data de (42), in care functia de corectie obtine valoarea:
(46)

Fig.12. Conductoare dreptunghiulare asezate pe latura mare
Deoarece calculul functiei de
corectie j(c) este
laborios, se prefera utilizarea curbelor lui Dwight (fig.13), care ne dau
direct pe j(c) in functie
de raportul
(a - b) (b + h)
si unde se ia drept parametru raportul b h . Daca
conductoarele sunt de lungime finita,
relatia (42) se completeaza cu factorul de corectie j (a / )
definit prin relatia (24), obtinandu-se relatia finala:
(47)
|
|
Fig.1 Curbele lui Dwight |
Aplicatia 6. Pentru un sistem cu doua bare colectoare de forma dreptunghiulara, avand aria sectiunii transversale 8 50 mm , sa se determine fortele electrodinamice si solicitarile mecanice statice in ipoteza asezarii barelor pe lat si pe latura mica, stiind ca distanta minima de izolare este a' = 30 mm, curentul maxim i = 15 kA, iar distanta dintre doua reazeme = 0,6 m. Se da: sa = 12 kgf/mm2,
Consideram mai intai barele asezate pe lat. In acest caz, din fig.13 sau din relatia (46) rezulta j(c)
.
Barele fiind solicitate la incovoiere, au randamentul incovoietor:
![]()
si modulul de rezistenta
.
Rezulta efortul unitar
![]()
deci s < sa. Cand barele sunt asezate pe latura mica se obtin similar: j(c) = 0,83, F = 57 kgf, Mi = 5,8 kgf m, W = 0,53 m s kgf / m , deci s < sa. Rezulta ca in ambele cazuri barele rezista la fortele electrodinamice.
Conductoarele aparatelor electrice se afla de multe ori in apropierea unor pereti din materiale feromagnetice, fiind supuse fenomenului de atractiei exercitat de pereti. Acest fenomen, explicat prin aceea ca fluxul magnetic creste prin micsorarea reluctantelor cailor de flux, adica prin micsorarea distantei dintre conductoare si perete, isi gaseste numeroase aplicatii: la stingerea arcului electric din camera de stingere, in constructia barelor de conexiune, in celulele de inalta tensiune etc.
a) Conductor paralel cu un perete plan
1. Metoda imaginilor electrice
Valoarea si sensul fortei care actioneaza asupra unui conductor parcurs de curentul i si aflat in fata unui perete feromagnetic plan pot fi determinate cu ajutorul metodei imaginilor electrice. Pentru mFe , peretele feromagnetic se echivaleaza cu un conductor imagine, parcurs de acelasi curent ca si conductorul real si situat la aceiasi distanta fata de suprafata peretelui. Conform relatiei (25), in cazul in care conductoarele sunt considerate filiforme, forta specifica se calculeaza:
(48)
|
|
Fig.14. Interactiunea conductor - perete feromagnetic |
sau in cazul in care se considera conductoare de diametru (2 r), conform (29) avem:
(49)
Sensul fortei rezultante F (fig.14), ce actioneaza asupra conductorului de lungime , este in directia a micsorarii distantei intre conductor si perete.
Metoda imaginilor ofera si posibilitatea calcularii campului magnetic creat de un conductor parcurs de curent pe suprafata unui perete feromagnetic in vecinatatea caruia este amplasat conductorul. Cunoasterea acestui camp permite calculul fortei de interactiune conductor-perete prin metoda tensiunilor maxwelliene.
In figura 15 este redata dispunerea conductorului O fata de peretele feromagnetic S
|
|
Fig.15. Amplasarea conductorului fata de peretele feromagnetic |
Conform metodei imaginilor, campul magnetic produs de conductorul "O", parcurs de curentul "i", la suprafata S a peretelui feromagnetic, considerata extinsa la infinit, este echivalent cu cel produs pe aceeasi suprafata de sistemul de conductoare O-O' plasate intr-un mediu omogen de permeabilitate m , unde O' este conductorul imagine situat la distanta "a" de suprafata S si parcurs de curentul "i". Se stie ca daca se considera permeabilitatea mFe , atunci i' = i. Campul magnetic intr-un punct oarecare M de pe suprafata S este suma campurilor BM si B'M produse in acest punct de conductoarele O si O'. Cu notatiile din fig.15, aplicand legea circuitului magnetic putem calcula campul HM produs in punctul M de conductorul "O":
(50)
Inductia magnetica B M creata de conductorul O in acelasi punct M este:
(51)
In mod similar se calculeaza si inductia magnetica B'M produsa in punctul M de conductorul imagine O':
(52)
Directiile celor doua campuri, BM respectiv B'M, sunt perpendiculare pe razele r respectiv r ' conform figurii 15. Considerand mFe rezulta i i' si deci BM B'M
Prin insumarea celor doua campuri se obtine campul rezultant B in punctul M.
(53)
Componentele tangentiale Bt si B't ale lui BM si B'M sunt egale si de sens contrar (vezi fig.15), astfel incat campul rezultant B este normal la suprafata S si este egal cu suma componentelor normale ale lui BM si B'M. Relatia (53) devine:
(54)
si deoarece:
(55)
rezulta:
(56)
Avand in vedere ca y = a tg a relatia (56) se scrie sub forma:
(57)
Relatia (57) permite o evaluare a valorilor campului B pe suprafata S
Se observa ca pentru a = 0 rezulta B = 0. Asadar in punctul O" de pe suprafata S inductia magnetica este nula, ceea ce corespunde cu reprezentarile clasice ale campului magnetic la o amplasare conform fig.15.
Daca a p 2 , din relatia (57) rezulta de asemenea ca B = 0 , ceea ce este conform cu legea circuitului magnetic.
Evident, intre cele doua valori de zero inductia B are un maxim, care se determina calculand unghiul a pentru care derivata lui B este zero:
(58)
Ecuatia are solutie pentru a p 4, rezultand valoarea maxima Bmax a inductiei magnetice:
(59)
Punctul A de pe suprafata S in care inductia are valoarea maxima, Bmax, este situat fata de O" la cota:
(60)
Celelalte valori ale lui B se determina din (57) pentru diferite valori ale lui a, a si i.
2. Metoda tensiunilor maxwelliene
Expresia generala a densitatii fortei magnetice (tensiunii maxwelliene) fs care actioneaza in camp magnetic pe suprafata de separatie S dintre doua medii magnetice liniare si izotrope, avand permeabilitatile magnetice m si m constante, se poate scrie:
(61)
unde B n = B n = B n2 sunt componentele normale ale inductiei magnetice la suprafata S de separatie, iar B 1t ≠ B t sunt componentele tangentiale ale aceleiasi inductii.
Tensiunea maxwelliana este totdeauna normala la suprafata de separatie S si are sensul de la mediul cu permeabilitate mai mare spre cel cu permeabilitate mai mica.
Intr-un caz particular, in care mediul 2 este feromagnetic, deci m se considera infinit de mare, iar componenta tangentiala a inductiei se poate neglija, expresia tensiunii maxwelliene devine:
(62)
In (62) inlocuind pe B dat de relatiile (57) se obtine:
(63)
Considerand o suprafata elementara dS de forma:
(64)
forta elementara dF pe aceasta suprafata se poate scrie:
(65)
Deoarece y = a tg a , rezulta:
(66)
si in final obtinem:
(67)
Integrand relatia (67) pe intreg peretele feromagnetic a cuprins intre - p 2 si p 2), se obtine forta electrodinamica de interactiune intre perete si conductor:
(68)
respectiv forta specifica:
(69)
Se observa ca relatia (69) obtinuta cu ajutorul tensiunilor maxwelliene este identica cu (48), obtinuta cu metoda imaginilor electrice.
Cazul peretilor de dimensiuni finite
Metodele de calcul expuse anterior sunt valabile doar pentru pereti feromagnetici extinsi la infinit, situatie in care campul magnetic pe suprafata peretelui se poate modela cu metoda imaginilor.
Pentru un perete feromagnetic cu dimensiuni finite (fig.16), campul magnetic se determina utilizand legea circuitului magnetic.

Fig.16. Campul magnetic al conductorului plasat langa un perete feromagnetic
Se apreciaza cu o buna aproximatie ca liniile de camp
se inchid conform fig.16.
Deoarece
, rezulta
. In consecinta, legea circuitului magnetic pentru
curba G din fig.16 se scrie:
(70)
Se obtine asadar expresia intensitatii campului magnetic Hr in punctul M de pe suprafata S , punct situat la distanta r de originea O.
(71)
Inductia magnetica, normala la S , va avea in punctul M valoarea:
(72)
In consecinta tensiunea maxwelliana in punctul M, normala la S , obtinuta prin inlocuirea lui (72) in (62) este:
(73)
Avem posibilitatea sa calculam forta elementara dF ce se exercita pe suprafata elementara dSn (fig.16):
(74)
Rezulta:
(75)
Evident prin integrare se poate obtine forta normala ce actioneaza asupra jumatatii superioare a lui S . Se face observatia ca raza minima a liniei de camp ce atinge peretele S indeplineste conditia:
(76)
deci:
(77)
Asadar, limitele de integrare pentru calculul fortei in situatia in care peretele se considera extins la infinit sunt rmin si . Putem scrie:
(78)
Forta totala Ft ce se exercita asupra intregului perete feromagnetic este evident dubla fata de F:
(79)
Se observa ca si relatia (79) este identica cu relatia (48) dedusa prin metoda imaginilor.
Consideram situatia conform careia peretele feromagnetic nu este extins la infinit, ci doar pana la inaltimea h, figurata punctat in fig.16. Neglijand efectele de margine, putem considera ca liniile de camp cu raza r > h nu se mai inchid prin suprafata S ci prin suprafetele laterale S' . In situatia in care conductorul este plasat simetric fata de S , forma campului pe aceasta suprafata ramane conform celei din fig.16.
In consecinta, forta elementara pe suprafata dSn este cea data de relatia (75), iar forta exercitata asupra intregului perete S , ce are inaltimea totala 2h, va fi data de relatia:
(80)
Notam:
(81)
j c fiind un factor de contur (sau de forma) dependent de inaltimea peretelui si de distanta dintre conductor si perete.
Avand in vedere relatia (79), se observa ca relatia (80) se poate scrie sub forma:
(82)
Desigur factorul de contur poate avea o forma mai complicata in situatia in care nu se mai neglijeaza efectele de margine, sau conductorul este amplasat asimetric fata de suprafata S
Analizam, spre exemplu, situatia amplasarii asimetrice a conductorului fata de peretele feromagnetic.
Cu o anumita aproximatie, liniile de camp se pot considera conform figurii 17.
|
|
Fig.17. Campul
magnetic la amplasarea asimetrica a conductorului langa un
perete feromagnetic
Pentru portiunea CD a peretelui S , campul prezinta simetria din cazul tratat anterior. Pentru portiunea AC a peretelui campul nu mai este simetric. Consideram o curba echipotentiala G a carei lungime cu aproximatie este:
(82)
Aplicand legea circuitului magnetic pentru aceasta curba se obtine:
(83)
Cunoscand
ca si in acest caz inductia
este normala la
suprafata S , folosind relatia (62) se poate scrie forta elementara dFB ce se
exercita asupra suprafetei elementare d S B , suprafata calculata conform
relatiei (74). Se obtine:
(84)
Se observa din fig.17 ca pentru portiunea asimetrica AC a peretelui S , neglijand fenomenele de margine, limitele de integrare sunt h si h . Forta FAC ce se exercita asupra portiunii AC a peretelui S este:
(85)
Pentru portiunea CD, simetrica, a peretelui S , forta este data de relatia (80) in care h = h
(86)
Evident forta totala FAD ce se exercita asupra intregii suprafete S a peretelui feromagnetic este:
(87)
Tinand cont de relatia (79) se poate scrie:
(88)
unde:
(89)
(90)
Se observa
ca daca h = h , atunci
, iar daca h , atunci
. Asadar din relatia (88) prin particularizari
se obtin, asa cum era de asteptat, relatiile (79) respectiv
(80).
b) Conductor intr-o nisa dreptunghiulara
In cazul in care conductorul este plasat intr-o nisa feromagnetica de forma dreptunghiulara (fig.18), admitand ca permeabilitatea fierului este infinita, iar fluxul magnetic se inchide numai prin aria A = x , se poate calcula:
(91)
si cu expresia reluctantei magnetice:
(92)
(93)
|
|
Fig.18. Conductor plasat intr-o nisa dreptunghiulara |
Energia magnetica este:
(94)
si prin aplicarea teoremei fortelor generalizate:
(95)
Relatia (95) indica faptul ca forta care tinde sa impinga conductorul in nisa nu depinde de pozitia x a conductorului.
Forta electrodinamica exercitata asupra unui conductor electric parcurs de un curent si plasat intr-o nisa feromagnetica dreptunghiulara se poate calcula si cu ajutorul tensiunilor maxwelliene.
In acest caz luam in consideratie o configuratie mai completa a campului magnetic in nisa, conform figurii 19.
|
|
Fig.19. Nisa feromagnetica dreptunghiulara |
In fig.19 1, 2, 3, 4, reprezinta suprafetele feromagnetice strabatute de fluxul magnetic f , iar F , F , F , F - rezultantele fortelor ce se exercita pe peretii 1, 2, 3, 4.
Tensiunile maxwelliene ce apar pe suprafetele 1, 2 dau rezultantele F , F egale si de sens contrar, asadar F + F = 0 . Aceste forte nu mai este necesar sa le calculam.
Pe suprafetele 3 si 4 tensiunile maxwelliene, perpendiculare pe aceste suprafete, dau rezultantele F si F , a caror suma F + F da rezultanta interactiunii sistemului feromagnetic cu conductorul parcurs de curentul i. Se impune asadar calculul lui F si F . In acest scop calculam inductia magnetica pe suprafetele 3 si 4. Conform modelului considerat in fig.19, lungimea y a unei linii oarecare de camp, ce se inchide la inaltimea y de la muchia nisei, se scrie cu o buna aproximatie sub forma:
(96)
Intensitatea campului magnetic este:
(97)
iar inductia magnetica:
(98)
Utilizand relatiile (62) (64) si (65) se obtine pentru forta ce actioneaza asupra unei portiuni elementare dS a suprafetei 3 sau 4 relatia:
(99)
Prin integrare se obtin fortele pe suprafetele 3 si respectiv 4, suprafete considerate ca au inaltimile h , respectiv h
(100)
(101)
Fortele F si F sunt perpendiculare pe suprafetele 3 si 4, deci se exercita in lungul axei x. Suma lor reprezinta forta de interactiune dupa directia x intre peretii nisei feromagnetice si conductorul parcurs de curentul i:
(102)
Notam cu
. (103)
unde j d este factorul de forma subunitar ce tine seama de dimensiunile nisei feromagnetice dreptunghiulare.
Se poate scrie:
(104)
Din relatia (102) se obtin o serie de cazuri particulare cum ar fi:
a) pentru h = h
(105)
b) pentru h = h
F = 0 (106)
c) pentru h = h
(107)
Relatia (107) este identica cu (95), cum era de asteptat.
Din relatiile (102), (103) si (107) rezulta:
(108)
ceea ce permite determinarea fortei de atractie dintre conductor si nisa pentru dimensiuni finite ale peretelui feromagnetic.
c) Conductor intr-o nisa triunghiulara
In cazul in care nisa are o forma triunghiulara (fig.20), cu dimensiunile indicate in figura si considerand o reluctanta medie pe distanta x:
|
|
Fig.20. Conductor plasat intr-o nisa triunghiulara |
(109)
rezulta fluxul magnetic:
(110)
Observand ca:
(111)
calculam:
(112)
si obtinem pentru fluxul magnetic:
(113)
Energia magnetica este:
(114)
si prin aplicarea teoremei fortelor generalizate:
![]()
(115)
Relatia (115) arata ca forta nu mai este constanta, ea creste pe masura ce x creste, adica pe masura ce conductorul se apropie de fundul nisei.
Si in cazul nisei triunghiulare, calculul fortei de interactiune se poate realiza utilizand metoda tensiunilor maxwelliene.
Se considera in acest scop forma de camp prezentata in fig.21.
|
|
Fig.21. Nisa feromagnetica triunghiulara |
In figura, 1, 2, 3, 4 sunt suprafetele feromagnetice strabatute de flux magnetic, iar F , F , F , F sunt rezultantele fortelor ce se exercita asupra peretilor 1, 2, 3, 4.
Conform modelului, fortele F si F se determina similar cazului nisei dreptunghiulare, avand aceeasi expresie ca in (100) si (101).
Fortele F si F sunt egale, dar nu au sensuri contrare ca in cazul anterior. Ele dau componente dupa axa x, care se regasesc in rezultanta F a fortei de interactiune a peretelui cu conductorul parcurs de curent.
Se poate scrie:
(116)
Fortele F , F respectiv F1x , F x se calculeaza utilizand tensiunile maxwelliene.
Se observa conform figurii 21 ca lungimea d a unei linii de camp oarecare, situata la distanta x de intrarea in nisa, este data de relatia:
(117)
In consecinta din legea circuitului magnetic rezulta:
(118)
(119)
(120)
Componentele dupa axa x ale lui F si F sunt:
(121)
(122)
Rezulta:
(123)
Tinand cont de relatiile (100), (101), (116) si (123) se poate scrie forta de interactiune intre nisa feromagnetica triunghiulara si conductorul parcurs de curentul i, amplasat in nisa la distanta x de la intrarea in aceasta:
(124)
Notand:
(125)
unde j este un factor de forma ce depinde de dimensiunile geometrice ale nisei, relatia (124) se poate scrie:
(126)
Se observa ca relatia (126) este formal identica cu relatia (104) ce exprima forta in cazul nisei dreptunghiulare. Evident j t j d
Din relatia (124) se pot obtine cazuri particulare cum ar fi:
a) pentru h = h
(127)
b) pentru h = h si x
(128)
Relatia (128) arata ca pentru un conductor pozitionat la intrarea in nisa triunghiulara (x 0) forta de interactiune este aceeasi ca si pentru unul pozitionat la intrarea intr-o nisa dreptunghiulara care are aceeasi deschidere d
In concluzie, utilizarea tensiunilor maxwelliene permite un calcul relativ simplu al fortelor de interactiune dintre o nisa si un conductor parcurs de curent amplasat in nisa respectiva. Un alt avantaj consta in faptul ca se pot calcula coeficientii de forma ce tin seama de geometria nisei.
Efectul de nisa este utilizat in constructia camerelor de stingere, in scopul introducerii arcului in nisa si deionizarii acestuia prin racire in contact cu peretii reci ai nisei. Din cele prezentate rezulta ca se prefera nise triunghiulare, formate din placute feromagnetice suprapuse.
Pe de alta parte, datorita atractiei exercitate de peretii feromagnetici, conductoarele parcurse de curenti se ancoreaza puternic pentru a rezista la fortele electrodinamice, acest lucru intalnindu-se la intreruptoare, transformatoare sau in statiile electrice.
Aplicatia 7. Un conductor filiform, rectiliniu, plasat pe o lungime l = 40 cm, simetric, intr-o nisa din material feromagnetic, cu deschiderea d = 12 cm, este strabatut in cazul unui scurtcircuit de un curent isc = 3 kA. Se cere: a) valoarea fortei electrodinamice care se exercita asupra conductorului daca nisa este dreptunghiulara; b) valoarea fortei electrodinamice in cazul in care nisa are deschidere variabila, formand in sectiune un triunghi isoscel cu inaltimea h = 30 cm si baza d = 12 cm , iar conductorul se afla plasat la o distanta x = 15 cm de la baza.
|
Politica de confidentialitate | Termeni si conditii de utilizare |
Vizualizari: 6045
Importanta: ![]()
Termeni si conditii de utilizare | Contact
© SCRIGROUP 2025 . All rights reserved