| CATEGORII DOCUMENTE |
| Aeronautica | Comunicatii | Electronica electricitate | Merceologie | Tehnica mecanica |
MASURAREA PUTERII ACTIVE
IN CIRCUITE TRIFAZATE
1.Chestiuni de studiat.
1.1.Principii si metode de masurare a puterii active in
circuite trifazate:
1.1.1. Fara conductor neutru.
1.1.2. Cu conductor neutru.
1.2.Masurarea puterii active prin metoda celor doua sau trei
wattmetre in circuite fara conductor neutru.
1.3.Masurarea puterii active prin metoda celor trei si patru
wattmetre in circuite trifazate cu conductor neutru.
2.Mod de experimentare.
2.1.Principiile de masurare a puterii active P in circuitele trifazate sunt continute in teorema lui Blondel:
"Puterea activa totala, intr-un circuit polifazat cu n conductoare, se poate masura cu ajutorul a n wattmetre montate astfel incat bobinele de curent sa fie parcurse de curentii de linie iar bobinele de tensiune sa fie conectate intre conductoarele respective si un punct comun N, de referinta, de potential oarecare"-fig.1. Drept consecinte ale teoremei rezulta:
indicatia fiecarui wattmetru in parte nu are semnificatie fizica, dar suma indicatiilor tuturor wattmetrelor reprezinta puterea activa totala consumata de receptor;
daca se da punctului N potentialul uneia din faze, metoda celor n aparate se transforma in metoda celor n-1 aparate, deoarece wattmetrul de pe faza respectiva indica zero.
Observatie: Teorema lui Blondel nu impune conditii de simetrie a
tensiunilor, de existenta a curentilor echilibrati si
se poate aplica oricarui tip de receptor, rezultand astfel generalitatea
teoremei.
Fig.1. Schema referitoare la teorema lui Blondel.
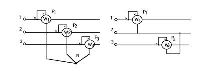
2.1.1.In circuitele trifazate fara conductor neutru se pot utiliza:
Metoda celor trei wattmetre-fig.2a.
Puterea totala absorbita de receptor se obtine din indicatiile aparatelor ca:
![]()
unde:
;
k=1,2,3-numarul fazelor; N-punct de referinta.

a) Trei wattmetre b) Doua wattmetre
Fig.2.Metode de masurare a P pentru circuit trifazat fara conductor neutru.
Metoda celor doua wattmetre - fig.2b.
Puterea
totala absorbita de receptor se obtine din indicatiile
aparatelor ca: ![]()
unde:
![]()
2.1.2. In circuitele trifazate cu conductor neutru se pot utiliza:
Metoda celor patru wattmete-fig.3a.
Puterea totala absorbita de receptor se obtine din indicatiile aparatelor ca:
![]()
Metoda celor trei wattmete-fig.3b.
Puterea totala absorbita de receptor se obtine din indicatiile aparatelor ca:
![]()

a) Patru wattmetre; b) Trei wattmetre.
Fig.3. Metode de masurare a P pentru circuit trifazat cu conductor neutru.
Schema de montaj este prezentata in fig.4., iar o sinteza a masuratorilor este facuta in tabelul 1.
Observatii:
Pentru realizarea circuitului trifazat fara conductor neutru se deschide intrerupatorul C2;
Nesimetria sistemului trifazat de tensiuni se realizeaza cu ajutorul reostatului Rh1 inseriat pe faza a doua, datorita caderii de tensiune pe reostat;
Tabel 1
|
Circuit trifazat |
Sistem tensiuni |
Curenti |
Receptor |
Punct N |
K5 |
Obs. |
|
Fara conductor neutru |
Nesime-tric |
Dezechili-brati |
R RL RL RL RL RL RL |
oarecare oarecare Nreceptor faza 2 Nretea faza1 faza3 |
deschis deschis c a (Rh) a (Rh) |
C2 deschis Rh1 |
|
Simetric |
Echili-brati |
j j j j |
faza 2 faza 2 faza 2 faza 2 |
C2 deschis Rh1=0 Reglaj j |
||
|
Cu conductor neutru |
Nesime-tric |
Deze- chilibrati |
RL RL RL RL |
Nretea Nreceptor faza 1 faza 3 |
b c |
C2 inchis Rh1 |
|
Sime-tric |
Echili-brati |
RL RL |
Nretea Nreceptor |
b c |
C2 inchis Rh1=0 |
Se utilizeaza o placa de borne (PB) pentru alimentarea circuitelor de tensiune ale tuturor aparatelor;
Pentru masurarea tensiunilor se utilizeaza un singur voltmetru, conectat in circuit printr-un joc de contacte (K4);
Se utilizeaza un wattmetru trifazat ce masoara dupa metoda celor doua wattmetre
Sarcina RL se realizeaza prin inchiderea intrerupatoarelor C5 si C4;
Pentru realizarea unui anumit defazaj in circuit se procedeaza in modul urmator:
- se introduce in circuit sarcina
rezistiva (R) care absoarbe
curentul
;
- se introduc in circuit si bobinele de inductanta variabila si se regleaza, cu ajutorul acestora, curentul din circuit, pana la valoarea :
![]()
Curentii echilibrati se realizeaza cu un conductor de nul artificial (prin inchiderea temporara, pe durata manevrei, a intrerupatorului K7) ;
Potentialul punctului N se variaza cu ajutorul comutatorului K5;
Puterile indicate de wattmetre au semnificatie fizica (puterea pe fiecare faza) doar cand punctul N este conectat la punctul neutru al receptorului;
2.2 Punctele 1-7. Se realizeaza circuitul trifazat fara conductor neutru (C2 deschis), alimentat cu tensiuni nesimetrice Rh1 0 si curenti dezechilibrati.
Se va verifica teorema Blondel, constatandu-se posibilitatea de masurare atat cu doua cat si cu trei wattmetre.
-Prin varierea potentialului punctului N se va observa ca indicatiile aparatelor se modifica (dar nu au semnificatie fizica) insa suma indicatiilor ramane aceeasi la fiecare punct masurat.
-Prin conectarea punctului N la una din faze, metoda celor trei wattmetre se transforma in metoda celor doua wattmetre.
Punctele 8-11.Se realizeaza simetria sistemului de tensiuni (Rh1=0), curenti echilibrati, schema cu doua wattmetre. In aceasta situatie, din indicatiile wattmetrelor se poate determina defazajul din circuit:

Se va utiliza tabelul 2.
Tabel 2
|
Nr.crt. |
U12 |
U23 |
U31 |
I1 |
I2 |
I3 |
Io |
P1 |
P2 |
P3 |
Po |
|
V |
V |
V |
A |
A |
A |
A |
W |
W |
W |
W |
|
|
aPk |
Ptrif |
jcalc |
Obs |
|
W |
W |
grd. | |
2.3 Punctele 12-15. Se va crea un dezechilibru cat mai pronuntat intre curenti , pentru ca Po sa fie cat mai mare.
Punctele 16-17.Daca curentii sunt echilibrati, practic, metoda de folosit este cea a celor trei wattmetre.
|
Politica de confidentialitate | Termeni si conditii de utilizare |
Vizualizari: 2704
Importanta: ![]()
Termeni si conditii de utilizare | Contact
© SCRIGROUP 2026 . All rights reserved