| CATEGORII DOCUMENTE |
| Aeronautica | Comunicatii | Electronica electricitate | Merceologie | Tehnica mecanica |
1. Stabilirea sarcinilor care incarca elementele cricului

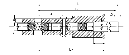
Fig. 1.1
1-cupa; 2-surub principal; 3-surub secundar; 4-mecanism de actionare;
5-piulita fixa; 6-corp;
Se observa ca la actionarea mecanismului de actionare 4, atasat surubului secundar 3, acesta se va roti impreuna cu surubul principal 2, cele doua suruburi
fiind solidarizate in cupla elicoidala surub principal - piulita din surubul secundar (daca Mins I > Mf).In acest fel apar miscari relative intre capul surubului principal 2, si cupa 1, respectiv intre surubul secundar 3 si piulita fixa 5. Cunoscand modul de functionare, se pot stabili sarcinile care incarca elemintele componente ( fig. 1.1). Astfel cupa 1 si surubul principal 2 sunt solicitate la compresiune de sarcina de ricicat Q si la torsiune de momentul de frecare din cupla de frecare; surubul secundar 3 si corpul 6 sunt solicitate la compresiune de sarcina de ridicat Q si la torsiune de momentul de insurubare Mins II din cupla elicoidala surub secundar - piulita fixa ; piulita fixa 5 este solicitata la tractiune de sarcina de ridicat Q si la torsiune de momentul Mins .
In locul in care este plasat mecanismul de actionare, actioneaza intregul moment motor, determinat cu relatia
Mm = Fm Lc,
in care: Fm = 150350 N reprezinta forta cu care actioneaza utilizatorul; Lc - lungimea manivelei.
La calculul momentului motor, trebuie sa se tina seama de momentele rezistente:
Mm = Mf + Mins II ;
La cricul telescopic cursa de ridicare este realizata in totalitate de surubul secundar, lungimea filetata a acestuia fiind:
ls II = H + Hp II;
unde: H - este inaltimea de ridicare; Hp II - lungimea piulitei fixe.
Surubul principal este utilizat numai pentru apropierea cupei de sarcina de ridicat. In consecinta lungimea filetata a acestui surub se alege caonstructiv, cat permite lungimea surubului secundar.
2. Calculul surubului principal
Fig. 2.1
Solicitarile surubului principal;
2.1. Alegerea materialului
Se alege OLC 45 STAS 880
Tabel 2.1
Principalele proprietati ale otelului
|
Marca otelului |
Limitele de curgere ReH (Rp02), MPa |
Rezistenta la rupere la tractiune Rm, MPa |
Felul tratamentului |
|
OLC45 |
min 610 |
N |
|
|
C,R |
2.2. Calculul de predimensionare
Sarcina de calcul:
Qc = βQ = 1,07∙22000 = 23540 N;
β= 1,051,1;
Diametrul interior al filetului:
d3=
;
;
Alegerea filetului standardizat:
Se alege filet trapezoidal Tr 32x6 SR ISO 2094 cu principalele elemente prezentate in fig. 2.2 si in tabelul 2.2.

Fig. 2.2
Tabelul 2.2
Dimensiunile principale ale filetului
|
Diametrul nominal d, mm |
Pasul P, mm |
Diametrul mediu d2=D2, mm |
Diametrul exterior D4, mm |
Diametrul interior |
|
|
d3, mm |
D1, mm |
||||
2.3. Verificarea conditiei de autofranare
Unghiul de inclinare al spirei filetului
![]()
Unghiul aparent de frecare

Conditia de autofranare
![]()
2.4. Verificarea la solicitari compuse
Fig. 2.3
Cupa cu cupla cu
frecare cu alunecare;
Momentul de torsiune care solicita surubul
;
dc = d+(26) = 28 + 4 = 32 mm;
d0 = 610 = 6 mm;
Tensiunea efectiva de compresiune
Tensiunea efectiva de torsiune
Tensiunea echivalenta
![]()
![]()
2.5. Verificarea la flambaj

Fig. 2.4
Solicitarea la flambaj a cricului;
Coeficientul de zveltete λ
![]()

Domeniul de flambaj
- flambaj plastic;
Coeficientul de siguranta la flambaj

![]()
3. Calculul surubului
secundar
a) b)
Fig. 3.1
a)Elementele geometrice ale surubului secundar; b)Solicitarile surubului secundar;
3.1. Alegerea materialului
Se alege OLC 45 STAS 880
Tabel 3.1
|
Marca otelului |
Limitele de curgere ReH (Rp02), MPa |
Rezistenta la rupere la tractiune Rm, MPa |
Felul tratamentului |
|
OLC45 |
min 610 |
N |
|
|
C,R |
Principalele proprietati ale otelului
3.2. Calculul numarului de spire ale piulitei surubului principal
Numarul de spire
;
pa = 713 MPa;
6 < z < 10;
Se alege z = 9;
Lungimea piulitei
![]()
3.3. Alegerea filetului exterior
Adoptarea diametrului interior preliminar al filetului
![]()
![]()
Alegerea filetului standardizat

Fig. 3.2
Tabelul 3.2
Dimensiunile principalele ale filetului
|
Diametrul nominal d, mm |
Pasul P, mm |
Diametrul mediu d2=D2, mm |
Diametrul exterior D4, mm |
Diametrul interior |
|
|
d3, mm |
D1, mm |
||||
3.4. Verificarea conditiei de autofranare
Unghiul de inclinare al spirei filetului
![]()
Unghiul aparent de frecare

μ = 0,110,12 ;
Conditia de autofranare
;
3.5. Verificarea la solicitari compuse
Momentul de torsiune care solicita surubul
;
Tensiunea efectiva de compresiune
![]()
Tensiunea efectiva de torsiune
Tensiunea echivalenta
![]()
4. Calculul piulitei fixe
Fig.4.1
Solicitarile piulitei fixe;
4.1. Alegerea materialului
Se alege OLC 45 STAS 880
Tabel 4.1
|
Marca otelului |
Limitele de curgere ReH (Rp02), MPa |
Rezistenta la rupere la tractiune Rm, MPa |
Felul tratamentului |
|
OLC45 |
min 610 |
N |
|
|
C,R |
Principalele proprietati ale otelului
4.2. Calculul numarului de spire
Numarul de spire
pa = 713 MPa;
6 < z < 10;
Se alege z = 6;
Lungimea piulitei
![]()
Fig. 4.2
4.3. Verificarea spirei
Verificarea la incovoiere σi si la forfecare τf
;
4.4. Alegerea dimensiunilor piulitei

Fig. 4.3
Principalele dimensiuni ale piulitei fixe
Diametrul exterior al corpului De
![]()
Diametrul exterior al gulerului Dg
![]()
Inaltimea gulerului hg
hg= 10mm;
4.5. Verificarea piulitei la solicitari compuse
Tensiunea efectiva de tractiune
![]()
Tensiunea efectiva de torsiune

Tensiunea echivalenta
![]()
4.6. Verificarea gulerului
Verificarea la strivire
![]()
![]()
Verificarea la forfecare
![]()
![]()
4.7. Alegerea si verificarea stiftului filetat care fixeaza piulita in corpul cricului
Alegerea stiftului filetat

Fig. 4.4
Se alege stift cu autoblocare M 5x16 STAS 10422.
Tabel 4.2
Principalele dimensiuni ale stiftului filetat
|
Filet (d) |
t |
n |
c1 |
d4 |
c3 |
d1 |
m |
|
M5 |
Momentul de frecare pe suprafata de sprijin a gulerului

Momentul care solicita stiftul
5. Calculul corpului
Fig. 5.1
Solicitarile la care este supus corpul;
Alegerea dimensiunilor corpului

Fig. 5.2
Elementele geometrice ale corpului;
Verificarea corpului la compresiune
Verificarea suprafetei de sprijin la strivire
![]()
![]()
6. Calculul cupei
Fig. 6.1
Solicitarile la care este supusa cupa;
Verificarea presiunii dintre cupa si capul surubului principal

Alegerea surubuli cu cap hexagonal mic si cep cilindric care impiedica deplasarea axiala a cupei
Se alege surub A-M8x20 grupa 8.8

Fig. 6.2
Tabel 6.1
Principalele dimensiuni ale surubului cu cep cilindric
|
Filet (d) |
S |
D |
k |
a |
d4 |
c3 |
|
|
M8 |
M8x1 | ||||||
|
l | |||||||
Verificarea sectiunii slabite a capului surubului la solicitari compuse
Fig.6.3

7. Calculul randamentului

Mecanismul de actionare cu clichet orizontal
Calculul lungimii manivelei

Momentul incovoietor total Mit
![]()
Forta cu care actioneaza un muncitor
Fm = 225 N;
Lungimea de calcul a manivelei Lc
n = 1; K = 1;
n - numarul de muncitori;
K coeficientul de nesimultaneitate a actiunii muncitorului;
![]()
Lungimea manivelei L
![]()
l0 - lungimea suplimentara pentru prinderea cu mana a manivelei;
![]()
Calculul prelungitorului
Lungimea prelungitorului Lp
l - lungimea de ghidare a prelungitorului;
l = 50 mm;
![]()
![]()
Diametrul prelungitorului dpe
Se alge teava comerciala 20x3/OLT 45 STAS 530/1;
3. Calculul rotii cu clichet
3.1 Alegerea materialului
Se alege OLC 45 STAS 880
Tabel 3.1
|
Marca otelului |
Limitele de curgere ReH (Rp02), MPa |
Rezistenta la rupere la tractiune Rm, MPa |
Felul tratamentului |
|
OLC45 |
min 610 |
N |
|
|
C,R |
Principalele proprietati ale otelului
3.2 Alegerea dimensiunilor

Fig. 3.1
3.3 Verificarea rotii cu clichet la solicitari
Verificarea dintelui la incovoiere

Verificarea dintelui la forfecare

Verificarea suprafetei de contact a dintelui la strivire

Verificarea asamblarii pe contur poligonal la strivire
Fig. 3.2
Calculul clichetului
4.1 Alegerea materialului
Se alege OLC 45 STAS 880
Tabel 4.1
|
Marca otelului |
Limitele de curgere ReH (Rp02), MPa |
Rezistenta la rupere la tractiune Rm, MPa |
Felul tratamentului |
|
OLC45 |
min 610 |
N |
|
|
C,R |
Principalele proprietati ale otelului
4.2 Alegerea dimensiunilor
Verificarea clichetului la compresiune excentrica

Fig. 4.1
Dimensiunile clichetului;
5. Calculul manivelei propriu-zisa
5.1 Alegerea materialului
Se alege OT 45 STAS 600
Tabel 5.1
Principalele proprietati ale otelului turnat in piese
|
Marca otelului |
Limitele de curgere ReH (Rp02), MPa |
Rezistenta la rupere la tractiune Rm, MPa |
Duritatea Brinell |
|
OT45 |
5.2 Alegerea dimensiunilor

5.3 Verificarea manivelei la solicitari
Tensiuni de incovoiere din sectiunea C-C

Tensiunea de incovoiere in sectiunea B-B
6. Calculul boltului clichetului
Fig. 6.1
Dimensiunile boltului;
6.1 Alegerea materialului
Se alege OLC 45 STAS 880
Tabel 6.1
|
Marca otelului |
Limitele de curgere ReH (Rp02), MPa |
Rezistenta la rupere la tractiune Rm, MPa |
Felul tratamentului |
|
OLC45 |
min 610 |
N |
|
|
C,R |
Principalele proprietati ale otelului
6.2 Verificarea boltului la solicitari
Verificarea boltului la forfecare

Verificarea boltului la strivire 
Fig. 6.1
Verificarea boltului la incovoiere
7. Calculul arcului cilindric elicoidal de compresiune care mentine clichetul orizontal in contact cu dintele rotii de clichet
Indicele arcului
![]()
Coeficientul de forma
K=1,17;
Diametrul spirei
d = 1,2mm;
Diametrul mediu de infasurare
![]()
Forta de montaj
F1 = 5N;
Numarul de spire active
n = 5;
Numarul total de spire
![]()
Sageata de montaj

Sageata maxima
![]()
Forta maxima de exploatare
![]()
Tensiunea de torsiune

Rigiditatea arcului
![]()
Lungimea arcului blocat
![]()
Pasul arcului solicitat

Lungimea arcului nesolicitat
![]()
Lungimea arcului corespunzatoare fortei de montaj
![]()
Lungimea arcului corespunzatoare fortei maxime de exploatare
![]()
Forta corespunzatoare arcului blocat

Diametrul exterior
![]()
Diametrul interior
![]()
Unghiul de inclinare a spirei arculi nesolicitat
![]()
Lungimea semifabricatului
![]()

Fig. 7.1
Principalele dimensiuni ale arcului;
|
Politica de confidentialitate | Termeni si conditii de utilizare |
Vizualizari: 6594
Importanta: ![]()
Termeni si conditii de utilizare | Contact
© SCRIGROUP 2026 . All rights reserved