Protectia catodica a structurilor metalice imersate intr-un electrolit - Metode electrochimice de protectie. Generalitati
J Protectia catodica a structurilor metalice imersate intr-un electrolit 1. Metode electrochimice de protectie. Generalitati Metodele electrochimice de protectie constau in reducerea vitezei de coroziune pe baza modificarii poten&Citeste tot ... 7947 cuvinte
Dimensiune mare + cu imagini |
 |
 |
DETECTOARELE MONTATE IN ZONA ACTIVA
DETECTOARELE MONTATE IN ZONA ACTIVA č cuprinde trei grupe de detectoare/dispozitive de detectare a fluxului de neutroni, fiecare avand destinatii bine precizaCiteste tot ... 1721 cuvinte
Dimensiune medie + cu poze |
 |
 |
PRIMUL PRINCIPIU AL TERMODINAMICII
PRIMUL PRINCIPIU AL TERMODINAMICII 1. SCURT ISTORIC Primul principiu al termodinamicii constituie o extindere a legii conservarii energiei la procesele in care intervine miscarea termica a materiei, adicCiteste tot ... 3377 cuvinte
Dimensiune medie + cu poze |
 |
 |
Laborator TSRA - Descrierea sistemelor lineare in spatiul starilor
Laborator TSRA Descrierea sistemelor lineare in spatiul starilor. Orice sistem poate fi modelat in doua moduri: In spatiul starilor Prin functie de transfer Modelarea sistemeloCiteste tot ... 265 cuvinte
Dimensiune mica + cu imagini |
 |
 |
Rezolvarea iterativa a sistemelor de ecuatii liniare
Rezolvarea iterativa a sistemelor de ecuatii liniare Tematica lucrarii: 1. Principiul de lucru al metodelor iterative; 2. Metoda lui Jacobi; Citeste tot ... 1634 cuvinte
Dimensiune medie + cu poze |
 |
 |
Variatoare de tensiune continua si alternativa cu comutatie naturala
DCE LL_5 Variatoare de tensiune continua si alternativa cu comutatie naturala. Variatoare de tensiune cu comutatie naturala (de la reteaua de ca) asigura reglarea tensiunii continue sau alternative (valoarea eficace) prinCiteste tot ... 1106 cuvinte
Dimensiune mica + cu imagini |
 |
 |
DETERMINAREA ENERGIEI DE ACTIVARE
Determinarea energiei de activare Scopul lucrarii Se va determina energia de activare Arrhenius pentru reactia dintre tiosulfatul de sodiu si acidul sulfuric. Introducere InCiteste tot ... 533 cuvinte
Dimensiune mica + cu imagini |
 |
 |
Lucrare de laborator deducerea acceleratiei gravitationale
Lucrare de laborator 1. Scop: deducerea acceleratiei gravitationale. 2.&nbCiteste tot ... 1134 cuvinte
Dimensiune mica + cu imagini |
 |
 |
Polimerizarea stereospecifica
Polimerizarea stereospecifica In drumul mereu ascendent al materialelor plastice, o deosebita importanta a avut descoperirea facuta de Karl Ziegler, in anul 1954, si anume ca amestecul de combinatii organo-aluminice si tetraclorura de tCiteste tot ... 1651 cuvinte
Dimensiune medie + cu poze |
 |
 |
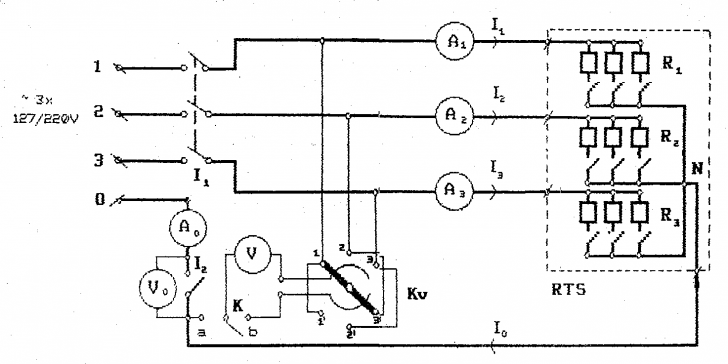
Studiul unui receptor trifazat cu conexiune in stea
Studiul unui receptor trifazat cu conexiune in stea Chestiuni de studiat In lucrare se studiaza regimurile de functionare ale unui receptor rezistiv trifazat conectat in stea, cu sau fara conductCiteste tot ... 1571 cuvinte
Dimensiune medie + cu poze |
 |
 |
MODELUL LINIAR DE REGRESIE
MODELUL LINIAR DE REGRESIE Modelul de regresie: yi = f(xi) + ui (yi)i=1,,n - valorile reale ale variabilei dependente (sau efect, sau variabila endogena) (xi)i=1,,n - valorile reale ale variabilei independeCiteste tot ... 749 cuvinte
Dimensiune mica + cu imagini |
 |
 |
DIPOL PASIV SI ACTIV (REZISTOR) - LUCRARE DE LABORATOR
LUCRARE DE LABORATOR A. DIPOL PASIV (REZISTOR) B. DIPOL ACTIV (BATERIE=SURSA) TEORIA LUCRARII Un circuit electric este inchis atunci cand liniile campului electric, sCiteste tot ... 596 cuvinte
Dimensiune mica + cu imagini |
 |
 |
CINEMATICA
1. CINEMATICA 1.1. Sisteme de referinta Nimic mai frumos decat Bucurestiul ! Chiar si cu macarale in prim plaCiteste tot ... 10335 cuvinte
Dimensiune mare + cu imagini |
 |
 |
Fenomenele optice din natura care se produc din cauza reflexiei, refractiei si dispersiei luminii
Fenomenele optice din natura care se produc din cauza reflexiei, refractiei si dispersiei luminii Refractia terestra 1. Ce este un miraj? Mirajele nu sunt iluzii optice, cumCiteste tot ... 3846 cuvinte
Dimensiune medie + cu poze |
 |
 |
Antena horn
Antena horn Un ghid de unda deschis va radia energie, producand o diagrama de radiatie larga, ca in figura 19. Umfland capatul ghidului se obtine o diagrama de radiatie mai directiva. Citeste tot ... 287 cuvinte
Dimensiune mica + cu imagini |
 |
 |
Campul radiant al antenei
Campul radiant In campul indepartat, sau regiunea Fraunhofer, numai termenii in 1/r sunt semnificativi, si, dupa cum vom vedea in continuare, acesti termeni furnizeaza energia scursa din antena. Mai devreme am remarcat ca de cele mai muCiteste tot ... 715 cuvinte
Dimensiune mica + cu imagini |
 |
 |
DETERMINAREA MOMENTULUI DE INERTIE PRIN METODA WEBER-GAUSS
DETERMINAREA MOMENTULUI DE INERTIE PRIN METODA WEBER-GAUSS Teoria lucrarii: Metoda Weber-Gauss utilizeaza un pendul de torsiune a carui perioada de oscilatie este data de o relatie intre momentul de intertie al corpului in raporCiteste tot ... 1026 cuvinte
Dimensiune mica - fara poza |
 |
 |
Determinarea acceleratiei gravitationale folosind pendulul gravitational
1. Scopul lucrarii: - determinarea acceleratiei gravitationale folosind pendulul gravitational. 2. Materiale folosite: - stativ, fir inextensibil, un corp de micCiteste tot ... 526 cuvinte
Dimensiune mica + cu imagini |
 |
 |
Studiul compunerii oscilatiilor perpendiculare de aceeasi frecventa. Determinarea vitezei sunetului in aer
Studiul compunerii oscilatiilor perpendiculare de aceeasi frecventa. Determinarea vitezei sunetului in aer I. PrinciCiteste tot ... 1000 cuvinte
Dimensiune mica + cu imagini |
 |
 |
Fotogrammetria
Fotogrammetria este definita ca stiinta si tehnologia de obtinere a unor formatii referitoare la obiectele fizice si mediului inconjurator de la distanta, fara contact fizic cu acestea, pCiteste tot ... 9060 cuvinte
Dimensiune mare + cu imagini |
 |
 |
Alte pagini