| CATEGORII DOCUMENTE |
| Aeronautica | Comunicatii | Electronica electricitate | Merceologie | Tehnica mecanica |
Solicitarile termice ale bobinelor
Scopul lucrarii
Studiul solicitarilor termice ale bobinelor electrice (ca elemente componente ale aparatelor electrice), considerate structuri heterogene, pentru diferite conditii de functionare.
Programul lucrarii
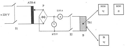
Pentru determinarea experimentala a temperaturilor unei bobine de contactor electromagnetic (special pregatita pentru masuratori) se utilizeaza urmatorul montaj si se procedeaza astfel:

se determina dimensiunile geometrice principale ale bobinei si se masoara rezistenta Ra a infasurarilor in stare rece;
se cupleaza separatoarele S1, S2 se alimenteaza bobina B a contactorului in c.c., cu ajutorul autotransformatorului ATR8 se regleaza tensiunea bobinei la tensiunea nominala indicata de producator (Un=ct) si se inregistreaza curbele de incalzire θ(t) pentru trei puncte de pe suprafata bobinajului, la intervale de timp de 1 min, pana se obtine regimul permanent (indicatiile multimetrului HC85 raman constante pentru cel putin 4 determinari succesive);
se noteaza valoarea curentului absorbit de bobina pana se obtine regimul termic permanent;
se deconecteaza alimentarea montajului S1, S2 si se masoara in timp cat mai scurt rezistenta corespunzatoare regimului permanent Rp a infasurarii;
se determina solicitarile termice maxime ale bobinajului utilizand relatiile de mai jos:
1/αR=234,5
pt Cu; 1/αR=245 pt Al
![]()
se calculeaza transmisivitatea termica totala la nivelul suprafetei bobinei cu relatia:

se determina constanta termica la incalzire (metoda grafica), se compara rezultatele obtinute cu determinarile experimentale si valorile calculate analitic utilizand relatia de mai jos pentru N=1200 spire si dc=0,45 mm;
![]()
Date experimentale
Ra=24,8 Ω la T=18oC
U=24 V
H=50 mm r=32 mm
la incalzire pentru regimul de lunga durata
|
Timp [min] |
T exterior [oC] |
||
|
sus |
mijloc |
jos |
|
|
| |||
R=27,8 Ω dupa incalzire,Ib=0,85A
100div-------------2,5A
32,2div-------------xA
x=32,2*2,5/100; x=0,805A
θmed=(27,8-24,8)∙αR/24,8+18=46,36
oC
θmax
=246,36-2∙18+49,3=106,2 oC
αt=(27,8∙0,8052)/[2∙3,14∙50∙10-3∙32∙10-3(46,36-18)]=63,52
θmed=(27,8∙0,8052)/(63,52∙2∙3,14∙50∙10-3∙32∙10-3)+18=45,32
oC

regimul intermitent
- 2 min conectat si 3 min deconectat
|
Timp[min] |
Tsus [oC] |
Tmijl [oC] |
Tjos [oC] |
Grafic regim intermitent

|
Politica de confidentialitate | Termeni si conditii de utilizare |
Vizualizari: 1321
Importanta: ![]()
Termeni si conditii de utilizare | Contact
© SCRIGROUP 2026 . All rights reserved