| CATEGORII DOCUMENTE |
| Aeronautica | Comunicatii | Electronica electricitate | Merceologie | Tehnica mecanica |
UNIVERSITATEA TRANSILVANIA DIN
FACULTATEA DE INGINERIE TEHNOLOGICA
CATEDRA DESIGN DE PRODUS SI ROBOTI INDUSTRIALI
DISCIPLINA ORGANE DE MASINI
CRIC CU PIRGHII CU DOUA PIULITE
Q=11750 N
H=130 mm
1.STABILIREA SARCINILOR CARE INCARCA ELEMENTELE CRICULUI

2.CALCULUL SURUBULUI
2.1 Alegerea materialului
OLC 45/880 supus la calire si revenire inalta.
R
=370.500
MPa - limita de curgere
R
= 630.850 MPa - rezistenta la rupere la tractiune
2.2 CALCUL DE PREDIMENSIONARE
2.2.1 Sarcina care incarca surubul
F=Q*ctgamin=11750*1,73=20327,5 N
amin=![]()
Q=11750 N
2.2.2 Sarcina de calcul
Fc=b*F=1,27*20327,5=25815,9 N
b
2.2.3 Diametrul interior al filetului
mm
MPa
2.2.4 Alegerea filetului standardizat
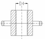
Se allege filet trapezoidal standardizat Tr 24x5 SR ISO2904 cu principalele dimensiuni prezentate in tabelul 2.1 si figura 2.1
|
Diametrul nominal d [mm] |
Pasul P |
Diametrul mediu D2=d2 |
Diametrul exterior D4 |
Diametrul interior |
|
|
d3 |
D1 |
||||
Tabelul 2.1

Fig. 2.1
2.3 VERIFICAREA CONDITIEI DE AUTOFRINARE
2.3.1 Unghiul de inclinare al
spirei filetate ![]()
2.3.2 Unghiul aparent de
frecare ![]()

m=0,11.0,12
2.3.3 Conditia de autofrinare
![]()
2.4 VERIFICAREA LA SOLICITARI COMPUSE
2.4.1 Momentul de torsiune care solicita surubul Mt, Nmm
2.4.2 Tensiunea efectiva de
tractiune
, MPa
MPa
2.4.3 Tensiunea efectiva de
torsiune,
,
MPa
MPa
2.4.4 Tensiunea echivalenta
,
MPa
MPa
MPa
MPa
3. CALCULUL PIULITEI
3.1 Alegerea materialului
OLC45/880 supus la calire si revenire inalta
Rp =370.500 MPa- limita de curgere
Rm=630.850 MPa- rezistenta la rupere la tractiune
3.2 Calculul numarului de spire
3.2.1 Numarul de spire z
![]()
MPa-pentru otel/otel
,
numar intreg
Se adopta z=10
3.2.2 Lungimea piulitei Hp, mm
Hp=z*p=10*5=50 mm
3.3 Verificarea spirei
3.3.1 Verificarea la incovoiere
![]()
MPa
![]()
MPa
h=0,634*p=0,634*5=3,17 mm
3.3.2 Verificarea la forfecare
MPa
MPa
MPa
3.4 Verificarea piulitei la solicitari compuse
3.4.1 Latura sectiunii transversale a piulitei

3.4.2 Tensiunea efectiva de compresiune
MPa
3.4.3 Tensiunea efectiva de torsiune
MPa
3.4.4 Tensiunea echivalenta
4.CALCULUL PARGHIILOR SI A BOLTURILOR
DIN ARTICULATII
4.1 Alegerea materialului
Tabla 4*1000*2 A STAS437/OL 2.2-K STAS 500/2
4.2 Determinarea si verificarea dimensiunilor pirghiilor si a bolturilor
4.2.1 Forta care solicita parghia

N
4.2.2 Lungimea parghiei
mm
H=130 mm
4.2.3. Diametrul boltului
=(0,5.0,7)d=0,6*24=14 mm
d=24 mm [tab.2.1]
4.2.4 Verificarea boltului la fofecare
4.2.5 Grosimea parghiei
mm
Se adopta b=7 mm
MPa
4.2.6 Latimea parghiei
a=(4.5)b=4*7=28 mm
4.2.7 Tensiunea efectiva de compresiune
4.3 Verificarea pirghiei la flambaj
4.3.1 Coeficientul la zveltete
4.3.2 Domeniul de flambaj
flambaj elastic
flambaj plastic
=105-pentru OL37
=89-pentru OL50
4.3.3 Coeficientul de siguranta la flambaj
Flambaj plastic
- coeficientul de siguranta admisibil
5.ALEGEREA SI VERIFICAREA DIMENSIUNILOR
SUPORTULUI DE SUSTINERE A CUPEI SI A PLACII DE BAZA
5.1 Alegerea materialului
OLC 45/880 supus la calire si revenire inalta;
R
= 370.500 MPa - limita de curgere;
R
= 630.850 MPa - rezistenta la rupere la tractiune
5.2 Alegerea dimensiunilor suportului de sustinere a cupei
mm
mm
-lungimea activa a boltului
mm
m=1,00 mm sau 1,25 mm-modulul danturii
Se adopta m=1,00 mm
z-numar intreg
mm
mm
5.3 Alegerea dimensiunilor placii de baza
![]()
este lungimea
activa a boltului
Dt sau Lt se alege constructive
Dt(Lt)= 160 mm
Do=(0.6.0.8)Dt=0.7*160=112 mm
5.4 Verificarea suprafetei de sprijin la strivire
6 ALEGEREA SI VERIFICAREA CUPEI
Alegerea materialului
OLC 45/880 supus la calire si revenire inalta;
R
= 370.500 MPa - limita de curgere;
R
= 630.850 MPa - rezistenta la rupere la tractiune
6.2 Alegerea dimensiunilor cupei
Se adopta
=55
mm
g =7 mm
e = (2.3)*g= 2*7=14 mm
Verificarea la compresiune excentrica
6.4 Verificarea la forfecare
7 CALCULUL RANDAMENTULUI
MECANISMUL DE ACTIONARE CU CLICHET ORIZONTAL
1 SCHITA MECANISMULUI


2 CALCULUL LUNGIMII MANIVELEI
2.1 Momentul incovoietor total
Mit=Mm=2*Mins=2*41518,9 Nmm
2.2 Forta cu care actioneaza un muncitor
Fm=225 N
2.3 Lungimea de calcul a manivelei
Lc=
mm
n= 1 sau 2-numarul de muncitori
K-coeficientul de nesimultaneitate a actiunii muncitorilor
K=1, pentru n=1
K=0.8, pentru n=2
2.4 Lungimea manivelei
L=Lc+
=370+50=420
mm
-lungimea suplimentara pentru prinderea cu mana a
manivelei
=50 mm pentru n=1
=100 mm pentru n=2
3. CALCULUL PRELUNGITORULUI
3.1 Lungimea prelungitorului
Pentru L>200.300 mm, Lm=(0,3.0,4)*L, iar lungimea prelungitorului Lp=L-Lm+l, unde l-lungimea de ghidare a prelungitorului
l=50..80 mm
Se adopta l=60 mm
Lm=0,35*420=147 mm
Lp=420-147+60=333 mm
3.2 Dimetrul prelungitorului
Prelungitor executat din teava
mm
=0,8.0,9=0,85
=100.120 MPa
Se adopta
=110
MPa
Se adopta prelungitor sub forma de teava
4.CALCULUL ROTII DE CLICHET
4.1 Alegerea materialului
OLC 45/880 supus la calire si revenire inalta;
R
= 370.500 MPa - limita de curgere;
R
= 630.850 MPa - rezistenta la rupere la tractiune
4.2 Alegerea dimensiunilor
4.2.1 Dimensiunile rotii
Dm=(1,6.1,8)d=1,7*24=41 mm
d-diametrul exterior al filetului surubului
pe care se monteaza roata de clichet
z=8,10 sau 12- numarul de dinti
Se adopta z=8
mm
Se adopta b=8 mm
H=(0,6.0,8)b=0,75*8=6 mm
Di=Dm-h=41-6=35 mm
De=Dm+h=41+6=47 mm
a
0,5d-(1.2)=0,5*24-1=11
mm
4.3 Verificarea rotii de clichet la solicitari
4.3.1 Verificarea dintelui la incovoiere
MPa
=113![]()
=120MPa
N
Mit-vezi pct. 2
=6.10 mm-grosimea dintelui rotii de clichet
Se adopta
=10
mm
=100.120 MPa
Se adopta
=120
MPa
4.3.2 Verificarea dintelui la forfecare
MPa
=67,51![]()
=90
MPa
=80..100 MPa
4.3.3 Verificarea suprafetei de contact a dintelui la strivire
![]()
MPa
=100.120 MPa
67,51![]()
=110
MPa
4.3.4 Verificarea asamblarii pe contur poligonal la strivire
![]()
![]()
n=6-pentru asamblare pe contur hexagonal
mm
9,01![]()
=110
MPa
=100.120
MPa
d-vezi pct.4.3
5.CALCULUL CLICHETULUI
5.1 Alegerea materialului
OLC 45/880 supus la calire si revenire inalta;
R
= 370.500 MPa - limita de curgere;
R
= 630.850 MPa - rezistenta la rupere la tractiune
5.2. Alegerea dimensiunilor clichetului
=(0,85.1,0)Dm=0,930*41=38
mm
![]()
a g+(
)=![]()
=6.12
mm (vezi anexa 46 sau 45)
Se adopta
=11
mm
R=
=11
mm
M=(1,75.2,25)
=22
mm
g=
e=3,5 mm
S=3 mm
5.3 Verificarea clichetului la compresiune excentrica
![]()
=100.120 MPa
6.CALCULUL MANIVELEI PROPRIU-ZISA
6.1 Alegerea materialului
6.2Alegerea dimensiunilor manivelei propriu-zisa
mm
-vezi pct.4.3
D=
=30
mm
=D
6.3 Verificarea manivelei la solicitari
6.3.1 Tensiunea de incovoiere din sectiunea C-C
MPa
=31,62![]()
=110
MPa
=100.120 MPa
6.3.2 Tensiunea de incovoiere din sectiunea B-B
MPa
=103,4
MPa
=100.120
MPa
7.CALCULUL BOLTULUI CLICHETULUI
7.1 Alegerea materialului
OLC 45/880 supus la calire si revenire inalta;
R
= 370.500 MPa - limita de curgere;
R
= 630.850 MPa - rezistenta la rupere la tractiune.
7.2 Verificarea boltului la solicitari
7.2.1 Verificarea boltului la forfecare
MPa
=21,43
MPa
=60.80
MPa
7.2.2 Verificarea boltului la strivire
MPa
-vezi pct. 4.3
=30,6![]()
MPa
=60.80 MPa
7.2.3 Verificarea boltului la incovoiere
MPa
=93
MPa
=100.120 MPa
8.CALCULUL ARCULUI CILINDRIC ELICOIDAL DE COMPRESIUNE CARE MENTINE CLICHETUL ORIZONTAL IN CONTACT CU DINTELE ROTII DE CLICHET
8.1 Indicele arcului
i=
(se recomanda i=8.10)
Se adopta i=9
8.2 Coeficientul de forma
K=1,2 pentru i=8
K=1,17 pentru i=9
K=1,16 pentru i=10
8.3 Diametrul spirei
Se recomanda d=0,8.1,5 mm
Se adopta d=1,2 mm
8.4 Diametrul mediu de infasurare
Dm=i*d=9*1,2=10,8 mm
8.5 Forta de montaj
=4.6 N
Se adopta
=5
N
8.6 Numarul de spire active
n=4.6
Se adopta n=5
Numarul total de spire
=6,5 spire
=1,5- numarul spirelor de capat
8.8 Sageata de montaj
mm
G=
MPa
8.9 Sageata maxima
S- curba de lucru a spirei
S=3 mm
8.10 Forta maxima de exploatare
8.11 Tensiunea de torsiune
=650 MPa -pentru OLC 65 A
8.12 Rigiditatea arcului
8.13 Lungimea arcului blocat
8.14 Pasul arcului solicitat
D ³ 0.1*d -jocul dintre spirele arcului solicitat de F![]()
D³
Se adopta D = 0.2
8.15 Lungimea arcului nesolicitat
Ho=Hb+n*(t-d)= 7.8+5*(2.176-1.2)= 12.68 mm
8.16 Lungimea arcului corespunzatoare fortei de montaj
H
H
=Ho-
=12.68-4.42=8,26
mm
8.17 Lungimea arcului corespunzatoare fortei maxime de exploatare Hm
Hm=
Ho-
=
12.28-4.42=7,86 mm
8.18 Forta corespunzatoare arcului blocat (spira pe spira)
Fb=
F![]()
8.19 Diametrul exterior D
D=Dm+d=10.8+1.2=12 mm
8.20 Diametrul interior D1
D1=Dm-d= 10.8-1.2=9.6 mm
8.21 Unghiul de inclinare al spirei arcului nesolicitat
8.22 Lungimea semifabricatului
Se
adopta
=223
mm
|
Politica de confidentialitate | Termeni si conditii de utilizare |
Vizualizari: 1981
Importanta: ![]()
Termeni si conditii de utilizare | Contact
© SCRIGROUP 2025 . All rights reserved