| CATEGORII DOCUMENTE |
| Aeronautica | Comunicatii | Electronica electricitate | Merceologie | Tehnica mecanica |
Modelarea cinematica a transmisiei bicardanice excentrice de tip 3RT3R
1. Introducere
In transmisiile bicardanice destinate laminoarelor, o directie moderna de optimizare se refera la folosirea excentricitatii, ca posibilitate de montare a unor rulmenti cu capacitati portante superioare. Aceasta idde a fost aplicata de firma germana Voith pentru transmisii bicardanice destinate antrenarii laminoarelor grele; astfel firma Voith produce curent transmisii bicardanice in varianta sinfazata (heterocinetica). Desi frapant, firma Voith a utilizat aceasta varianta din doua motive:
a) unghiul
(unghiul dintre axele
arborilor de intrare si iesire) si turatia de de functionare este foarte redusa
(cateva rot/min); implicit efectul heterocinetismului devine superflu;
b) deplasarea relativa din cupla intermediara de translatie devine foarte redusa pentru varianta sinfazata, fapt care asigura capacitatea portanta maxima a acestei cuple (suprafata de contact dintre caneluri ramane practic nemodificata in timpul functionarii).
Din pacate in literatura exista putine date referitoare la acest tip transmisie . Ca urmare, in acest capitol se efectueaza, mai intai modelarea cinematica completa, pentru varianta Voith. Pentru comparatie, se efectueaza apoi modelarea cinematica a transmisiei bicardanice excentrice ortofazata (homocinetica). In final se prezinta concluzii utile privind comparatia celor doua transmisii.
2. Modelarea cinematica a transmisiei bicardanice excentrice de tip 3RT3R sinfazata
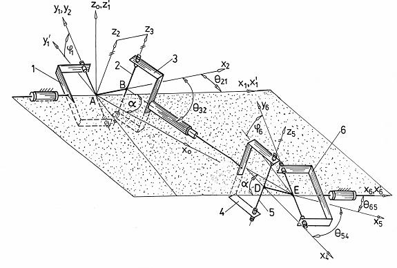
Ca urmare, se prezinta modelul cinematic al transmisiei bicardanice excentrice de tip 3RT3R, in varianta sinfazata (in pozitie initiala, furcile 1 si 4 se afla in acelasi plan; vezi fig.1).
Modelarea cinematica pleaca de la schema si notatiile din fig.1; notatiile utilizate au urmatoarea semnificatie: e = AB = CD reprezinta excentricitatea crucilor cardanice (distanta dintre axele bratelor unei cruci cardanice); l1 = BC reprezinta lungimea arborelui intermediar (distanta dintre axele cuplelor de rotatie ale furcilor intermediare).

Fig. 1. Schema si notatii utilizate in modelarea cinematica a mecanismul bicardanic excentric sinfazat (heterocinetic) 3RT3R
Metoda clasica, de modelare cinematica, bazata pe folosirea operatorilor omogeni, conduce la relatia matriceala:
(1)
in care prin
s-a notat matricea de
trecere din triedrul xnynzn in triedrul xmymzm.
Pentru eludarea dificultatiilor ridicate de aceasta metoda, in continuare se aplica o metoda mixta: se combina metoda operatorilor omogeni cu metoda legaturilor geometrice. Astfel, se scriu transformarile matriceale:
![]()


(2)
Se exprima matricea
, care face trecerea de la triedrul Cx5y5z5
la triedrul Ax0y0z0, cu ajutorul
transformarilor (vezi fig.1):
![]()


(3)
in care prin s si c sunt notate prescurtarile functiilor sinus si respectiv cosinus.
Conform fig. 1 si relatiilor (2) si (3) se poate scrie:
![]()
(4)
Din analiza fig. 1 se desprind urmatoarele conditii de legatura, care permit determinarea marimilor geometrice caracteristice mecanismului:
(5)
(6)
(7)
Pe baza relatiilor (2) si (3), conditiile (5), (6) si (7) devin:
![]()

(5')

![]()


(6')
Inmultind relatia (6') cu
si tinand seama de
relatia (5'), rezulta:

;
(6")
(6''')



(7')
Inmultind relatia (7') cu
si tinand seama de
relatia (5'), se obtine:
![]()
![]()
;
(7")
(7''')
Inlocuind in (7''')
, rezulta:
(8)
Inmultind relatia (8) cu
si tinand seama de
relatia (5'), se obtine:
![]()
(8')
Pe de alta parte, din relatia (6''') rezulta:
(9, 10, 11)
iar din relatia (11), tinand seama de relatia (5'), se obtine:
![]()
![]()
![]()
(12)
Functiile
si
se obtin prin
rezolvarea numerica pe calculator a sistemului format din ecuatiile (8') si (12):
(13)
Solutiile sistemului (13) permit
determinarea unghiului
cu ajutorul relatiei (7'''):
(14)
Cunoscand marimile
si
(in functie de
), se poate determina lungimea momentana a arborelui
intermediar BC:
(15)
![]()
Considerand unghiul
independent si marimile
cunoscute, pe baza
relatiilor de mai sus se propune urmatorul algoritm de calcul: se determina
abaterea de la homocinetism
prin rezolvarea sistemului (13); valoarea acesteia se
introduce in expresiile marimilor
si
; pe baza acestora se poate determina variatia lungimii
arborelui intermediar BC.
Pentru valoriile
; l=1800 mm, e=150 mm si
in urma simularilor pe
calculator s-au obtinut diagramele din
fig. 2, explicitarea diagramelor sunt realizate prin titlurile asociate
fiecareia dintre acestea:

Fig. 2. a Variatia unghiului
in functie de
la valori ale
unghiului ![]()

Fig. 2. b Variatia unghiului
in functie de
la valori ale unghiului
![]()

Fig. 2. c Variatia unghiului
in functie de
la valori ale
unghiului ![]()

Fig. 2. d Variatia unghiului
in functie de
la valori ale
unghiului ![]()

Fig. 2. e Variatia lungimii arborelui intermediar BC in functie de
la valori ale
unghiului ![]()

Fig. 2. f Abaterea
de la homocinetism
in functie de
la valori ale
unghiului ![]()
Modelarea cinematica a transmisiei bicardanice excentrice de tip 3RT3R ortofazata
Comparativ, este realizata si modelarea cinematica a mecanismului bicardanic excentric 3RT3R in varianta ortofazata; schema si notatiile utilizate sunt prezentate in fig. Algoritmul folosit este asemanator cu cel din prima parte a capitolului, cu precizarea ca inserierea este ortofazata, ceea ce implica urmatoarele modificari (vezi fig.3):
![]()

(16) 
,
,
(17), (18), (19)

Fig. Mecanismul bicardanic excentric 3RT3R in varianta ortofazata (homocinetica)
In urma prelucrarilor matematice se obtin urmatoarele dependente, care modeleaza geometria cinematica a mecanismului homocinetic:
(17')
(18')
(19')
Prin explicitarea relatiilor precedente, se obtine lungimea arborelui intermediar si variatia acestuia:
![]()
; ![]()
![]()
(20)
In fig. 4.f se prezinta comparativ variatiile maxime ale lungimii arborelui intermediar, in functie de unghiul a, dintre axele furcilor, pentru cele doua variante ale mecanismului bicardanic excentric: ortofazata (homocinetica) si sinfazata (heterocinetica).

Fig. 4. a Variatia unghiului
in functie de
la valori ale
unghiului ![]()

Fig. 4. b Variatia unghiului
in functie de
la valori ale
unghiului ![]()

Fig. 4. c Variatia unghiului
in functie de
la valori ale
unghiului ![]()

Fig. 4. d Variatia unghiului
in functie de
la valori ale
unghiului ![]()

Fig. 4. e Variatia lungimii arborelui intermediar BC in
functie de
la valori ale
unghiului ![]()

Fig. 4. f Variatia lungimii arborelui intermediar BC in
functie de unghiul ![]()
4. Concluzii
In urma analizei comparative a rezultatelor obtinute in urma analizei cinematice a celor doua transmisii bicardanice excentrice (varianta sinfazata si varianta ortofazata) se desprind urmatoarele concluzii:
|
Politica de confidentialitate | Termeni si conditii de utilizare |
Vizualizari: 1191
Importanta: ![]()
Termeni si conditii de utilizare | Contact
© SCRIGROUP 2025 . All rights reserved