Sistemul de conducere al sistemului de robocare
Sistemul de conducere al sistemului de robocare Tehnici de comunicare in domeniul robocarelor Indiferent de tehnica de ghidare utilizata, este esential ca fiecare robocar in parte sa fie capabil sa comunice cu sistemul de conducere (de comaCiteste tot ... 2022 cuvinte
Dimensiune medie + cu poze |
 |
 |
PRELUCRAREA PRIN SUDARE
PRELUCRAREA PRIN SUDARE Sudarea este o metoda de imbinare nedemontabila a doua corpuri solide prin stabilirea in anumite conditii de temperatura si presiune a unor forte de legatura intre atomii marginali ai celor doua coCiteste tot ... 19093 cuvinte
Dimensiune mare + cu imagini |
 |
 |
Sisteme de robocare suspendate
Sisteme de robocare suspendate Robocare suspendate Spre deosebire de robocarele care se deplaseaza pe sol, robocarele suspendate sunt vehicule auto-propulsate care se deplaseaza pe o sina suspendata. Datorita materializarii caii de ghidare pCiteste tot ... 1669 cuvinte
Dimensiune medie + cu poze |
 |
 |
Prelucrarea prin strunjire
Prelucrarea prin strunjire. 1.Notiuni generale. Strunjirea este procedeul de prelucrare prin aschiere pe o masina unealta numita strung, in cadrul careia indepartarea aschiilor se realizeaza cu ajutorul unui cutiCiteste tot ... 2312 cuvinte
Dimensiune medie + cu poze |
 |
 |
Prelucrarea prin rectificare
Prelucrarea prin rectificare. 1.Notiuni generale Introducerea acestei tehnologii de prelucrare si perfectionarea acesteia a permis obtinerea de produse de inalta precizie si finete in constructia de masini. Prelucrarea permite inlaturarea aCiteste tot ... 2454 cuvinte
Dimensiune medie + cu poze |
 |
 |
Analiza modelelor similare de automobile
1. Analiza modelelor similare de automobile 1.1. Alegerea modelelor similare Pentru alegerea modelelor similare am luat in calcCiteste tot ... 4866 cuvinte
Dimensiune medie + cu poze |
 |
 |
PROCESE DE PRODUCTIE, PROCESE TEHNOLOGICE SI ELEMENTELE LOR COMPONENTE
PROCESE DE PRODUCTIE, PROCESE TEHNOLOGICE SI ELEMENTELE LOR COMPONENTE Procesul de productie in cadrul unei organizatii constructoare de masini cuprinde: obtinerea semifabricatelor, prelucrarea acestora in piese, controlul dimensiunilorCiteste tot ... 2890 cuvinte
Dimensiune medie + cu poze |
 |
 |
Prelucrarea prin rabotare
Prelucrarea prin rabotare 1.Notiuni generale Rabotarea este un procedeu la prelucrarea prin aschiere realizat cu cutite la care miscarea principala este o miscare de translatie .Prin rabotare se executa suprafete plane cat si suCiteste tot ... 1072 cuvinte
Dimensiune mica + cu imagini |
 |
 |
DISPOZITIVE DE MASURARE A PUTERII MOTORULUI PRINCIPAL LA LINIA DE AXE
DISPOZITIVE DE MASURARE A PUTERII MOTORULUI PRINCIPAL LA LINIA DE AXE In cazul transmiterii mecanice a fortelor apare , in arborele care se roteste un cuplu . Supravegherea acestuia este importanta la turbine , laminoare ,Citeste tot ... 1253 cuvinte
Dimensiune mica + cu imagini |
 |
 |
Prelucrarea prin frezare
Prelucrarea prin frezare. 1.Nitiuni generale. Frezarea este procedeul de prelucrare prin aschiere cu ajutorul unei scule prevazute cu mai multe taisuri numita freza. Conform schemei de principiu din figura 9.43. , freza executa miscarea prCiteste tot ... 2135 cuvinte
Dimensiune medie + cu poze |
 |
 |
Prelucrarea prin mortezare
Prelucrarea prin mortezare. 1.Notiuni generale. Mortezarea este un procedeu de prelucrare prin aschiere asemanator cu rabotarea, caracterizat prin aceea ca miscarea principala este executata de scula, cutitul de mortezat, care se deplasCiteste tot ... 546 cuvinte
Dimensiune mica + cu imagini |
 |
 |
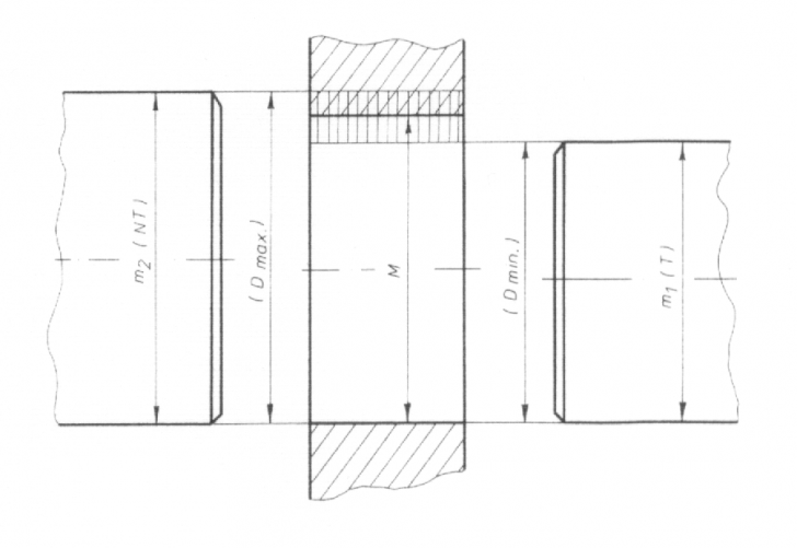
CONTROLUL PIESELOR CU AJUTORUL CALIBRELOR
CONTROLUL PIESELOR CU AJUTORUL CALIBRELOR 1. Principiul controlului pieselor cu ajutorul calibrelor. La asamblarea a doua piese, una de tip arbore si una de tip alezaj, pot exista numai douCiteste tot ... 8024 cuvinte
Dimensiune mare + cu imagini |
 |
 |
Prelucrarea prin gaurire
Prelucrarea prin gaurire. 1.Notiuni generale. Prelucrarea gaurilor prin aschiere prezinta o serie de dificultati in comparatie cu prelucrarea suprafetelor exterioare avand in vedere ca: sculele au o rigiditate mai reduCiteste tot ... 1888 cuvinte
Dimensiune medie + cu poze |
 |
 |
TEHNOLOGII DE PRELUCRARE CU DISCURI ABRAZIVE
TEHNOLOGII DE PRELUCRARE CU DISCURI ABRAZIVE 1 DISCURI ABRAZIVE Fig. 3. 40 Scule abrasive. a.) cilindrice; b.) disc; c.) oala 2 TEHNOLOGIA DE PRELUCRARE CU MASINA DE RECTIFICiteste tot ... 1837 cuvinte
Dimensiune medie + cu poze |
 |
 |
Calculul termic al motoarelor cu ardere interna
Calculul termic al motoarelor cu ardere interna Calculul termic al motoarelor cu ardere interna are ca scop determinarea marimilor de stare ale fluidului motor pentru trasarea diagramei indicate pornind de la urmatoarele date de intrare: tiCiteste tot ... 6542 cuvinte
Dimensiune mare + cu imagini |
 |
 |
PROIECT PENTRU CERTIFICAREA COMPETENTELOR - Asamblarea rotilor dintate prin pene
Grup Scolar Industrial Grigore Cerchez PROIECT PENTRU CERTIFICAREA COMPETENTELOR TEMA : Asamblarea rotilor dintate prin pene  Citeste tot ... 3619 cuvinte
Dimensiune medie + cu poze |
 |
 |
Elemente de teoria aschierii
Elemente de teoria aschierii Prelucrabilitatea prin aschiere sau aschiabilitatea materialelor este capacitatea materialului de a fi prelucrat prin detasare de aschii cu ajutorul unor scule dotate cu muchii taietoare in conditiiCiteste tot ... 4342 cuvinte
Dimensiune medie + cu poze |
 |
 |
Cinematica masinilor unelte
Cinematica masinilor unelte. 1. Notiuni generale. Masinile unelte sunt masinile care asigura realizarea miscarilor necesare generarii suprafetelor in procesul de aschiere in conditii tehnico-economice avantajoase, productivitate mare, preciziCiteste tot ... 2316 cuvinte
Dimensiune medie + cu poze |
 |
 |
Roboti - Specificarea, generarea si controlul miscarilor
Roboti - Specificarea, generarea si controlul miscarilor Reprezinta sarcina fundamentala a echipamentului de conducere a unui robot. 1. Problema conducerii unui robot Conducerea unui robot pCiteste tot ... 12607 cuvinte
Dimensiune mare + cu imagini |
 |
 |
Desenarea bielei
1. Trasarea profilului bielei Se alege planul lateral si se intra in modul sketcher. Cu ajutorul comenzilor de genarare a elementelor geometrice simple se traseaza elementele din figCiteste tot ... 1049 cuvinte
Dimensiune mica + cu imagini |
 |
 |
Alte pagini