| CATEGORII DOCUMENTE | 
| Aeronautica | Comunicatii | Electronica electricitate | Merceologie | Tehnica mecanica | 
 
  
    
  
   
    
   
1. Generalitati
Inainte de a studia fenomenele care iau nastere in timpul zborului, trebuiesc studiate partile componente ale unui planor, precum si modul cum se manevreaza acesta.
Planorul este aparatul de zbor mai greu decat aerul, neechipat cu un grup motopropulsor si care prin lansare la o anumita inaltime va zbura cu o continua panta de coborare.
Tractiunea necesara este asigurata de o componenta a greutatii proprii.
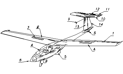
2. Partile componente ale unui planor
Partile componente ale unui planor sunt urmatoarele:
a. aripa planorului;
b. fuselajul planorului;
c. ampenajele planorului;
 
 
   
 
  
   
  
   
 
   
   
     
  
     
   
Fig. 2.1. Partile componente ale unui planor
a. Aripa planorului este partea principala a acestuia si are rolul de a crea forta portanta necesara executarii zborului.
Pe aripa sunt montate:
- eleroanele (1) care sunt suprafete de comanda si au rolul de a mentine planorul la orizontala sau ajuta la executarea virajelor. Sunt actionate de mansa la comanda laterala;
- flapsul (2) se constituie intr-un dispozitiv de hipersustentatie si are rolul de a mari forta portanta in situatii speciale de zbor (la decolare si aterizare);
- frana aerodinamica (3) este o suprafata care se scoate din planul aripii si are rolul de distrugator de portanta, lucru necesar a fi executat in vederea aterizarii pe terenuri scurte.
b. Fuselajul planorului este partea principala a planorului cu rolul de a fixa rigid aripile si ampenajele.
In fuselaj se gaseste amplasata carlinga (4) care constituie postul de pilotaj. Tot in fuselaj se gaseste amplasat si trenul de aterizare, format din urmatoarele parti:
- roata (5);
- bechia (6);
- patina (la unele planoare) (7).
Trenul de aterizare este dispozitivul care serveste la deplasarea planorului pe sol.
Trenul de aterizare poate fi format din:
- roata si bechie;
- patina si bechie;
- patina, roata si bechie.
Roata este elementul principal al trenului de aterizare, montata in zona centrului de greutate si care are rolul de a sustine intreaga greutate a planorului.
Bechia poate fi fixa sau poate fi o roata mai mica decat roata principala si este montata la partea din spate a planorului constituind al doilea punct de sprijin al acestuia pe sol.
Patina este un dispozitiv de ranforsare (intarire) a fuselajului in zona posturilor de pilotaj si are rolul de a proteja planorul (pilotul) in cazul unor eventuale contacte mai dure cu solul.
Tot pe fuselaj se gaseste amplasat si tubul Pittot sau prizele de presiune (statica si totala). La unele planoare se mai gaseste si tubul Braunschweich.
c. Ampenajele sunt formate din:
- ampenajul orizontal, alcatuit din stabilizator (partea fixa) si profundor (partea mobila), care servesc la mentinerea pantei de zbor a planorului.
Profundorul este actionat tot de mansa, prin miscarea acesteia inainte sau inapoi.
Pe profundor se gaseste, la unele tipuri de planoare, suprafata de compensare a eforturilor, numita compensator sau trimer.
- ampenajul vertical este alcatuit dintr-o parte fixa numita deriva si o parte mobila numita directie. Directia este o suprafata de comanda care este actionata de paloniere. Astfel daca se da palonier stanga si directia se va roti spre stanga, fapt care va duce la rotirea botului planorului spre stanga.
3. Elementele caracteristice ale unui planor
Elementele caracteristice ale unui planor sunt :
- anvergura reprezentand lungimea aripii (distanta dintre cele 2 extremitati ale aripilor);
- suprafata portanta reprezentand suprafata obtinuta prin proiectia aripii pe o suprafata plana;
- inaltimea planorului (care se masoara pe sol) si reprezinta distanta dintre sol si cel mai inalt punct al planorului;
- inaltimea fuselajului (care se masoara pe sol) si reprezinta distanta dintre sol si cel mai inalt punct al fuselajului;
- grosimea (latimea fuselajului) reprezinta cea mai mare distanta (masurata pe orizontala) a fuselajului;
- greutatea planorului care contine si greutatea pilotului si a echipamentului necesar zborului (parasuta, bagaje,etc.).
4. Aripa
Aripa este elementul care produce forta necesara sustinerii planorului in zbor si preia toate eforturile care apar asupra planorului in timpul evolutiilor. Din acest motiv, constructorii acorda o deosebita atentie constructiei aripilor, in vederea obtinerii planoarelor de performanta.
Din punct de vedere al modului de montare al aripilor pe fuselaj vom avea planoare cu aripa: sus, mediana sau jos (vezi fig. 4.2.).
 
 
   
 
  
   
  
   
 
   
   
     
  
     
   
Fig. 4.2. Montarea aripii
Dupa forma in plan, aripile pot fi:
a. dreptunghiulare;
b. dreptunghiulare cu colturi rotunjite;
c. trapezoidale;
d. trapezoidale cu colturi rotunjite;
e. eliptice;
f. in sageata;
g. dublu trapezoidale (vezi Fig. 4.3.)
 
 
   
 
  
   
  
   
 
   
   
     
  
     
   
Fig. 4.3. Forma in plan a aripii
4.1. Caracteristicile geometrice ale aripii
- anvergura aripii (A) reprezinta lungimea ei de la un capat la altul;
- profunzimea aripii (L) reprezinta latimea aripii (vom avea profunzimea aripii la capat (Cc), profunzimea aripii in axul fuselajului (Ci) si profunzimea medie care reprezinta media aritmetica a celorlalte doua);
- suprafata portanta a aripii reprezinta suprafata proiectiei plane, orizontale a acesteia;
- alungirea aripii reprezinta raportul dintre anvergura aripii si profunzimea medie (Coarda Medie Aerodinamica-CMA) (vezi fig. 4.4.).
Urmarind o sectiune prin aripa vom putea defini urmatoarele elemente:
- bordul de atac este partea din fata a aripii care in timpul zborului loveste fileurile de aer;
- bordul de fuga sau scurgere este partea din spate a aripii;
- extradosul este partea de deasupra aripii;
- intradosul este partea de dedesubt a aripii (vezi fig. 4.5.).
 
 
   
       
  
   
   
   
 
   
   
     
  
     
   
   
     
   
 
   
     
  
     
   
   
  
Fig. 4.4. Caracteristicile geometrice Fig. 4.5. Caracteristicile
ale aripii constructive ale aripii
Indiferent de materialele din care este construita o aripa, ea se va compune din urmatoarele parti principale:
- lonjeroane (unul principal si eventual unul fals sau 2 principale, care constituie grinda de rezistenta a aripii si a intregului planor;
- nervuri, piese care se fixeaza pe lojeron si dau forma aripii in spatiu;
- invelisul aripii care poate fi din placaj in zona bordului de atac si impanzit in restul suprafetei. La planoarele din lemn invelisul mai poate fi executat din tabla de aluminiu, rasini sintetice cu fibra de sticla sau fibra de carbon.
Pe aripa se gasesc montate eleroanele, voletii si franele aerodinamice
 
 
   
 
  
   
  
   
 
   
   
     
  
     
   
Fig. 4.6. constructia aripii
5. Fuselajul
Este partea centrala a planorului cu rol de a face legatura intre aripi si ampenaje (vezi fig. 5.7.). In fuselaj se gaseste carlinga cu postul (posturile) de pilotaj, trenul de aterizare, etc.
 
 
   
 
  
   
  
   
 
   
   
     
  
     
   
Fig. 5.7. Fuselajul
In functie de tipul planorului vom avea posturi de pilotaj de simpla comanda (pentru un singur pilot) sau de dubla comanda (pentru 2 piloti).
In cazul planoarelor de dubla comanda aceste 2 posturi pot fi asezate in tandem (unul in spatele celuilalt) sau cot-a-cot (in situatia cand posturile de pilotaj sunt asezate unul langa altul).
La planoarele moderne trenul de aterizare este format dintr-o roata plasata sub postul de pilotaj, prevazut cu frana pe tambur si poate fi fix, escamotabil sau semiescamotabil si o roata mai mica si fixa in partea din spate a fuselajului.
Tot pe fuselaj sunt montate si dispozitivele de tractare de la avion sau automosor, dispozitive numite declansatoare.
In interiorul carlingii, in afara postului de pilotaj se mai gaseste si plansa cu instrumentele de bord, parghiile de comanda (mansa si palonierele), cu ajutorul carora se dau comenzile necesare actionarii suprafetelor de comanda (eleron, flaps, directie, frana aerodinamica, suprafete compensatoare).
6. Ampenajele
Ampenajele sunt partile planorului care au rolul de a mentine planorul in zbor stabil ca panta si ca directie.
Ampenajele (vezi fig. 6.8.) sunt formate din:
a. ampenajul orizontal
b. ampenajul vertical.
a. Ampenajul orizontal este construit si are caracterisitici asemanatoare cu cele ale aripii.
Acesta se caracterizeaza prin faptul ca are o parte fixa numita stabilizator si o alta mobila, numita profundor.
Cu ajutorul profundorului se pot mentine parametrii de zbor (panta si viteza).
La unele planoare stabilizatorul si profundorul fac corp comun fiind de fapt o singura parte care este denumita profundor pendular. Pe profundor se mai gaseste montata si o suprafata numita compensator, fiind necesara pentru compensarea efortului pe mansa in profunzime.
Profundorul este actionat de comanda mansei spre inainte sau spre inapoi (spre pilot).
b. Ampenajul vertical este format din 2 parti: una fixa numita deriva si una mobila numita directie, care este actionata la comanda palonierelor.
In functie de cum sunt montate ampenajele orizontale fata de cele verticale vom intalni urmatoarele situatii (vezi fig. 6.9.):
- ampenaje clasice;
- ampenaje in 'T';
- ampenaje in 'V'.
 
 
   
       
  
   
   
    
   
   
     
  
     
   
  
   
 
   
     
  
     
   
   
  
Fig. 6.8. Amenajele planorului Fig. 6.9. Tipuri de ampenaje
7. Materiale folosite in constructia planoarelor
Inainte de a prezenta materialele folosite in constructia planoarelor trebuie sa vedem la ce eforturi sunt supuse piesele care intra in componenta unui planor.
Solicitarile la care sunt supuse piesele sunt:
- tractiunea sau intinderea (declansatoarele, cablurile comenzilor, invelisul aripilor, etc);
- compresiunea (trenul de aterizare);
- incovoierea (lonjeroanele aripilor);
- forfecarea apare in zbor in timpul trecerii printr-o suprafata de separatie dintre un curent ascendent si a unuia descendent. Acest fenomen se petrece in mod special la zborul in norii de formatie verticala;
- torsiunea; aripile in timpul zborului sunt supuse la eforturi de tensiune in jurul lonjeronului.
Pentru a putea indeplini toate conditiile cerute, in constructiile aeronautice se folosesc mai multe categorii de materiale. Acestea pot fi impartite in:
materiale principale ce intra in constructia pieselor de rezistenta si a pieselor ce dau forma aerodinamica a aeronavei.
materiale secundare ce intra in constructia pieselor auxiliare ale unei aeronave.
Dintre materialele folosite in constructia aeronautica putem enumera:
a. lemnul folosit in constructiile aeronautice datorita faptului ca are greutate relativ mica, este ieftin, se prelucreaza usor, etc. Lemnul intrebuintat, trebuie sa indeplineasca urmatoarele conditii:
- rezistenta la tractiune sa fie de cel putin 800 Kgf/cm2;
- umiditatea sa nu depaseasca 15% din greutatea sa;
- rezistenta la compresiune sa fie de cel putin 400 Kgf/cm2;
- rezistenta la incovoiere sa fie de cel putin 600 Kgf/cm2.
In constructiile aeronautice lemnul se foloseste astfel:
pentru lonjeroane: frasin, molid, brad, pin;
pentru piese curbe: frasin, salcam, ulm, stejar;
pentru elice: acaju, nuc, cires, mesteacan, fag.
b. placajul folosit in aviatie este facut din foi neperechi (3, 5, 7, 9, etc.) cu urmatoarele dimensiuni (grosimi):0,8; 1; 1,2; 1,5; 1,8; 2; 2,3; 2,5; 3; 3,5; 4; 5 mm.
Placajul folosit trebuie sa indeplineasca urmatoarele conditii:
- rezistenta la tractiune in lungimea fibrei = 700 kgf/cm2
- rezistenta la tractiune perpendicular pe fibra = 450 kgf/cm2
- rezistenta la forfecare in lungimea fibrei = 100 kgf/cm2
- rezistenta la forfecare perpendicular pe fibra = 750 kgf/cm2
- rezistenta la forfecare la 45o = 150 kgf/cm2
Placajul se foloseste pentru imbracarea aripilor, fuselajului, ampenajelor, in vederea obtinerii formelor arodinamice.
c. cleiurile sunt intrebuintate pentru asamblarea diferitelor piese din lemn, palcaj, panza. Ele trebuie sa indeplineasca urmatoarele conditii:
- sa fie usor de manipulat;
- sa fie usor de preparat;
- sa nu-si schimbe caracteristicile in timp;
- sa fie aderente;
- sa fie rezistente la smulgere.
Cleiurile utilizate sunt: clei de gelatina, caseina, cleiurile pe baza de rasini sintetice (care sunt mai bune decat celelate cleiuri).
d. otelurile folosite in constructiile aeronautice sunt oteluri speciale care prezinta caracteristici superioare. Otelurile folosite pentru constructia pieselor de tractiune, de prindere, bolturi, tendoare, cabluri de comanda, scripeti, parghii, etc. trebuie sa prezinte o rezistenta la tractiune de 80-100 Kgf/mm2.
e. duraluminiul se foloseste foarte mult datorita faptului ca este usor (are aceeasi greutate cu a aluminului) si are o rezistenta mecanica ridicata. Acesta se foloseste la constructiile de lonjeroane, nervuri si a intregului invelis la planoarele metalice.
f. panza folosita in aviatie este din bumbac mercerizat si neapretat cu o desime de 28-35 de fire pe cm2 atat in bataie cat si in urzeala si o greutate de cel mult 200 g/m2.
Rezistenta la tractiune a panzei inmuiata in apa trebuie sa fie de cel putin 3000 Kg/m2.
g. materialele plastice se folosesc pentru confetionarea carcaselor aparatelor de bord, tablouri de bord iar in ultimul timp pentru corectarea si chiar confectionarea profilelor aerodinamice.
h. plexiglasul se foloseste pentru confectionarea cupolei carlingilor datorita faptului ca este transparent si prin incalzire se modeleaza usor.
i. cauciucul se foloseste la trenul de aterizare pentru amortizarea contactului cu solul. Acesta se utilizeaza sub forma de camere si anvelope, cilindri gauriti, discuri amortizoare, etc.
Cauciucul se mai foloseste la garnituri de etansare, ca amortizoare la fixarea tablourilor de bord, deoarece vibratiile si socurile deregleaza aparatele cu care sunt echipate aeronavele.
j. fibra de sticla si fibra de carbon se folosesc in ultimul timp in constructiile aeronautice de performanta datorita faptului ca permit obtinerea suprafetelor aerodinamice foarte bine finisate, si au caracteristici mecanice superioare.
k. protectia aeronavelor impotriva coroziunii si a umiditatii se realizeaza cu ajutorul lacurilor si a vopselelor, iar suprafetele metalice se protejeaza prin acoperire electrochimica, cromare, zincare, cadmiere eloxare, etc.
Datorita dezvoltarii tehnologiei, planoarele moderne au caracteristica de finete maxima de peste 60, fapt care le permite realizarea unor performante ridicate (zboruri de distanta de peste 1.700 Km cu viteze medii de peste 150-200 km/h).
8. Sisteme de lansare la zbor
Deoarece planorul este un aparat de zbor care nu este dotat cu un grup motopropulsor, trebuie sa fie ridicat pana la o anumita inaltime care sa ii permita in continuare un zbor independent.
Mijloacele cu ajutorul carora se realizeaza acest lucru se numesc sisteme de lansare si pot fi:
sandoul;
automosorul;
avionul.
Lansarea cu sandoul se realizeaza prin propulsarea in aer a planorului cu ajutorul unei prastii de dimensiuni mari numita sandou.
Planorul este urcat pe deal si acolo 2 echipe intind sandoul la vale in timp ce aeronava este ancorata. Prin eliberarea planorului, forta elastica din sandou ii imprima acestuia viteza necesara zborului inaltimea fiind asigurata de diferenta de cota a pantei pe care a fost urcat. Acesta metoda de lansare nu se mai foloseste deoarece greutatea planoarelor si viteza de desprindere au crescut mult.
Remorcajul de automosor este metoda prin care planorul este ridicat pana la o anumita inaltime cu ajutorul unui dispozitiv special numit automosor (vezi fig. 8.10).
Automosorul este o masina dotata cu unul sau 2 tamburi, antrenati in miscare de rotatie de un motor, si pe care se infasoara un cablu. Planorul este tras de acest cablu cu o viteza anume. Pilotul planorist va pune planorul pe o panta de urcare (va trage de mansa), pana la o anumita inaltime (cca.200--300 m), dupa care va declansa si va executa tema de zbor.
 
 
   
 
  
   
  
   
 
   
   
     
  
     
   
Fig. 8.10. Remorcajul de automosor
Remorcajul de avion este metoda prin care un planor este adus la inaltimea necesara cu ajutorul unui avion. Planorul este legat de avion prin intermediul unei funii lungi de 25-30 m si cand avionul ajunge la inaltimea dorita, pilotul planorist declanseaza cablul si executa zborul liber in continuare.
In Romania se folosesc, in prezent, pentru remorcaj, avioanele de tip
PZL-104 Wilga-35A de constructie poloneza, sau automosoarele de tip AL-34 de constructie romaneasca. In unele aerocluburi se folosesc automosoare de tip 'Tost' de constructie germana.
 
 
   
   
 
   
   
     
  
     
   
Fig. 8.11. Remorcajul de avion
9. Automosorul AL 34
In continuare vom prezenta pe scurt automosorul de tip AL 34:
Corpul automosorului propriu-zis este montat pe un sasiu de camion tip 'Bucegi' fapt care ii permite sa se deplaseze de la un loc la altul cu mijloace proprii. Automosorul are pentru actionare un motor de 258 CP, ce antreneaza pe rand unul dintre cei 2 tamburi cu care este echipat. Combustibilul folosit este motorina.
Pe tamburi se infasoara cabul de remorcaj de 4,5 mm diametru; acesta este de tip multifilar si are o lungime de aproximativ 900-1500 m., lungime ce variaza in functie de lungimea terenului de decolare.
Fiecare tambur este echipat cu o foarfeca pentru taiat cablul (la comanda pilotului mosorist) si cu un distribuitor care are rolul de a aseza cablul pe tambur spira langa spira.
10. Planorul IS 28 B2
Este un planor de scoala si antrenament de dubla comanda de constructie romaneasca. Este complet metalic (din duraluminiu) si are ca destinatie zborurile de scoala, antrenament si acrobatie.
Postul principal de pilotaj se afla in fata (postul elevului).
Ampenajele sunt in 'T'.
Este prevazut cu volet de curbura si frane aerodinamice de tip Hutter, amplasate pe extrados. Trenul de aterizare este semiescamotabil, echipat cu amortizor oleopneumatic. Roata principala este prevazuta cu frana mecanica actionata in continuarea franei aerodinamice.
La planoarele cu numar de serie pina la 54, comanda franei pe roata se gaseste amplasata fie pe mansa, fie pe podea, in partea stanga a postului de pilotaj.
Voletul de curbura are 5 pozitii: -1 = -5o
0o
1 = 5o
2 = 10o
3 = 15o
Planorul poate executa urmatoarele evolutii acrobatice:
vrie;
looping;
ranversare;
rasturnare.
Pentru zborurile acrobatice planorul va fi echipat cu accelerometru.
Factorii de sarcina ai planorului IS 28 B2 sunt:
- la greutatea de 590 Kgf = + 5.3 si - 2.65 (varianta Utilitar)
- la greutatea de 520 Kgf = + 6.5 si - 4 (varianta Acrobat)
Greutati maxime admise la decolare:
- in dubla comanda = 590 Kgf
- in simpla comanda = 520 Kgf.
Greutatea maxim admisa in spatiul de bagaje
(fara a depasi greutatea maxim admisa) = 20 Kgf.
Greutatea planorului gol = 375 Kgf
Centrajul este realizat in limitele: 22% CMA (fata) si 47% CMA (spate).
In situatia in care pilotul este prea usor se vor monta greutati de plumb pe podeaua postului de pilotaj fata, dupa cum urmeaza:
La planoarele pana la seria 45, pentru pilotii usori, (greutate intre 55-61 Kgf), se va pune lest o greutate de 6 Kgf.
Pentru planoarele cu seria de fabricatie peste 45 centrajul se asigura dupa cum urmeaza:
65-70 Kgf in postul principal 4 Kgf lest
60-65 Kgf in postul principal 8 Kgf lest
55-60 Kgf in postul principal 11.3 Kgf lest
Planorul este echipat cu urmatoarele instrumente de bord:
- variometru + 5 m/s;
- variometru + 30 m/s;
- altimetru;
- vitezometru;
- busola;
- indicator de viraj si glisada.
Ultimele planoare din serie au din constructie montata priza speciala pentru presiune (priza pentru tubul Braunschweich).
Planorul IS 28 B2 se admite la zbor cu urmatoarele defecte:
- trenul de aterizare nu se poate escamota, dar este sigurantat pe pozitia scos;
- mici deformatii pe invelis datorate unor lovituri;
- fisuri ale cupolei de plexiglas (dar nu mai mari de 100 mm);
- lipsa geamurilor;
- nituri miscate pe invelisul aripii (dar nu mai mult de 10% din imbinare si nu mai mult de 3 nituri alaturate);
- sparturi ale invelisului suprafetelor de comanda mai mici de 50 mm.
 
 
   
   
 
   
   
     
  
     
   
Fig. 10.12. Planorul IS 28 B2
Caracteristicile geometrice si parametri de zbor sunt prezentati impreuna cu cele ale planorului IS 29 D2.
Particularitatile privind tehnica pilotajului sunt prelucrate in cap.7 'Tehnica pilotajului'.
11. Descrierea cabinei planorului IS 28 B2
Ambele posturi de pilotaj (asezate in tandem) sunt acoperite de o cupola de plexiglas care se deschide in jurul unor sarniere, spre dreapta.
In partea stanga a cadrului metalic, in dreptul fiecarui pilot se gaseste maneta de inchidere-deschidere a cabinei, iar pe partea dreapta, in mod simetric se gaseste maneta de largare a cupolei (maner de culoare rosie).
Comanda voletului (maner de culoare neagra) si a franei aerodinamice (maner albastru) sunt amplasate pe peretele din stanga posturilor de pilotaj.
Pe podea, in partea stanga, in ambele posuri, se afla maneta de comanda a franei pe roata (la planoarele pana la seria 45).
Pe partea stanga a cabinei in fata comenzii franei aerodinamice se gaseste maneta de comanda a compensatorului (culoare verde).
Pe partea dreapta a cabinei, in ambele posturi de pilotaj se gaseste comanda de escamotare a trenului de aterizare (pozitia inainte = tren escamotat).
 
 
   
 
  
   
  
   
 
   
   
     
  
     
   
Fig. 11.13. Descrierea cabinei planorului IS 28 B2
Comanda declansatorului (maneta galbena) se gaseste amplasata pe postul din fata in partea stanga a tabloului de bord, iar pentru postul de pilotaj spate, aceasta se gaseste pe partea stanga a peretelui cabinei.
In fata mansei, pe podea, in postul de pilotaj fata, se gasesc casetele pentru fixarea lestului suplimentar de corectare a centrajului si deasupra acestora, la centru, rozeta de reglare a pozitiei palonierului.
Descrierea plansei de bord a planorului se gaseste in cap. 5. 'Instrumente de bord'.
12. Planorul IS 29 D2
Este un planor pentru antrenament si performanta, monoloc (de simpla comanda), de constructie romaneasca. Este complet metalic (din duraluminiu).
Ampenajele sunt in 'T'.
Este prevazut cu volet de curbura si frane aerodinamice de tip Hutter, amplasate pe extrados. Trenul de aterizare este escamotabil, echipat cu amortizor de cauciuc. Roata principala este prevazuta cu frana mecanica actionata in continuarea franei aerodinamice.
La ultimele serii de planoare, comanda franei pe roata se gaseste amplasata pe mansa.
Voletul de curbura are 5 pozitii: -1 = -5o
0o
1 = 5o
2 = 10o
3 = 15o
Planorul poate executa urmatoarele evolutii acrobatice:
vrie;
looping;
ranversare;
immelman.
Factorii de sarcina ai planorului IS 29 D2 sunt:
-la greutatea de 360 Kgf + 5.3 si - 2.65
Greutatea maxim admisa in spatiul de bagaje
(fara a depasi greutatea maxim admisa) 20 Kgf.
Greutatea planorului gol 244 Kgf.
Centrajul este realizat in limitele: 18.75% CMA (fata) si 43% CMA (spate).
Planorul este echipat cu urmatoarele instrumente de bord:
- variometru + 5 m/s;
- variometru + 30 m/s;
- altimetru;
- vitezometru;
- busola;
- indicator de viraj si glisada.
 
 
   
   
 
   
   
     
  
     
   
Fig. 12.14. Planorul IS 29 D2
Ultimele planoare din serie au din constructie montata priza speciala pentru presiune (priza pentru tubul Braunschweich).
Particularitatile privind tehnica pilotajului sunt prelucrate in cap.7 'Tehnica pilotajului'.
13. Caracteristicile geometrice ale planoarelor IS 28 B2 si IS 29 D2
| 
   Dimensiuni  |  
   IS 28 B2  |  
   IS 29 D2  | 
 
| 
   Anvergura  |  
   17 m  |  
   15 m  | 
 
| 
   Lungime maxima  |  
   8.45 m  |  
   7.3 m  | 
 
  Inaltime maxima |  
   1.87 m  |  
   m  | 
 
| 
   Suprafata aripii  |  
   18.24 m2  |  
   11.68 m2  | 
 
| 
   Diedrul aripii  |  
   2o.30'  |  
   2o  | 
 
| 
   Suprafata eleronului 2 x  |  
   1.28 m2  |  
   1.04 m2  | 
 
| 
   Suprafata voletului  |  
   1.36 m2  | 
 |
| 
   Suprafata stabilizatorului  |  
   1.37 m2  |  
   0.79 m2  | 
 
| 
   Suprafata derivei  |  
   0.68 m2  |  
   0.628 m2  | 
 
| 
   Suprafata profundorului  |  
   1.36 m2  |  
   0.59 m2  | 
 
| 
   Suprafata directiei  |  
   0.81 m2  |  
   0.556 m2  | 
 
| 
   Bracajul profundorului in sus  |  
   30o  |  
   25o  | 
 
  Bracajul profundorului in jos |  
   26o  |  
   20o  | 
 
| 
   Bracajul directiei la stanga  |  
   30o  |  
   41o  | 
 
| 
   Bracajul directiei la dreapta  |  
   30o  |  
   41o  | 
 
| 
   Bracajul eleroanelor in sus  |  
   28o  |  
   28o  | 
 
| 
   Bracajul eleroanelor in jos  |  
   10o  |  
   15o  | 
 
| 
   Bracajul flapsului in sus  |  
   5o  |  
   5o  | 
 
| 
   Bracajul flapsului in jos  |  
   15o  |  
   15o  | 
 
14. Caracteristicile in zbor ale planoarelor IS 28 B2 si IS 29 D2
| 
   Dimensiuni  |  
   IS 28 B2  |  
   IS 29 D2  | 
 
| 
   Finetea maxima a planorului  |  ||
| 
   Viteza de zbor in S.C.  |  
   94 Km/h  |  
   93 Km/h  | 
 
| 
   Viteza de zbor in D.C.  |  
   100 Km/h  |  |
| 
   Viteza de cadere pentru finete maxima: - in simpla comanda - in dubla comanda  |  
   
   0.82 m/s 0.86 m/s  |  
   
   0.7 m/s  | 
 
| 
   Viteza minima de cadere fiind de: se obtine la viteza de zbor de:  |  
   0.6 m/s 80 Km/h  |  
   0.6 m/s 78 Km/h  | 
 
| 
   Viteza minima de cadere in D.C. este obtinuta la viteza  |  
   0.86 m/s 85 Km/h  |  |
| 
   Viteza maxim admisa (VNE)  |  
   230 Km/h  |  
   225 Km/h  | 
 
| 
   Viteza maxim admisa la rafala a vantului de 15 m/s  |  
   165 Km/h  |  
   172 Km/h  | 
 
| 
   Viteza maxim admisa in remorcaj de avion  |  
   140 Km/h  |  
   140 Km/h  | 
 
| 
   Viteza maxim admisa in remorcaj de automosor  |  
   125 Km/h  |  
   125 Km/h  | 
 
| 
   Viteza maxim admisa de scoatere a trenului si cu trenul de aterizare scos  |  
   
   230 Km/h  |  
   
   225 Km/h  | 
 
| 
   Viteza maxim admisa de scoatere si cu frana aerodinamica scoasa *  |  
   
   230 Km/h  |  
   
   225 Km/h  | 
 
| 
   Viteza de manevra (VA)  |  
   165 Km/h  |  
   172 Km/h  | 
 
| 
   Viteza maxim admisa cu voletul bracat in pozitia: -1 1 si 2 3  |  
   
   230 Km/h 180 Km/h 130 Km/h  |  
   
   225 Km/h 140 Km/h  | 
 
| 
   Viteza de angajare in configuratia de aterizare (viteza limita cu volet in pozitia +3)(VSO)  |  
   
   65 Km/h  |  
   
   65 Km/h  | 
 
| 
   Viteza minima fara volet (greutate planor = 590 Kgf)  |  
   70 Km/h  |  
   75 Km/h  | 
 
| 
   Viteza optima de remorcaj avion  |  
   110-115 Km/h  |  
   110-115 Km/h  | 
 
| 
   Viteza optima de remorcaj automosor  |  
   100 Km/h  |  
   105 Km/h  | 
 
| 
   Viteza optima de apropiere pentru aterizare (cu volet scos)  |  
   100 Km/h  |  
   100 Km/h  | 
 
| 
   Viteza minima de apropiere pentru aterizare  |  
   85 Km/h  |  
   90 Km/h  | 
 
| 
   Viteza normala de aterizare (de contact cu solul la aterizare)  |  
   65-70 Km/h  |  
   70 Km/h  | 
 
| 
   Viteza maxima a componentei laterale a vantului admisa la decolare  |  
   
   6 m/s  |  
   
   6 m/s  | 
 
* La planoarele IS 28 B2cu seria pana la 54, viteza maxima de scoatere si de zbor cu frana aerodinamica scoasa este de 140 Km/h.
15. Marcarea vitezometrului la planoarele IS 28 B2 si IS 29 D2
| 
   Marcaj  |  
   IS 28 B2  |  
   IS 29 D2  | 
 
| 
   linie radiala rosie  |  
   230 Km/h  |  
   225 Km/h  | 
 
| 
   arc galben (utilizare cu prudenta)  |  
   165-230 Km/h  |  
   172-224 Km/h  | 
 
| 
   arc verde (utilizare normala)  |  
   70-165 Km/h  |  
   75-172 Km/h  | 
 
| 
   arc alb (zona de utilizare a voletilor)  |  
   65-130 Km/h  |  
   65-140 Km/h  | 
 
16. Planorul IS 32 A
Este un planor biloc cu locuri in tandem, de constructie complet metalica, cu ampenaj in 'T' si tren de aterizare escamotabil. Este prevazut cu volet de curbura interconectat cu eleroanele (flapperon) si frane aerodinamice.
Planorul este destinat zborului de antrenament si performanta.
Planorul este echipat cu tren principal monoroata, escamotabil, cu amortizor oloepneumatic si cu o roata bechie.
Voletul cu eleronul (cu mansa la mijloc) au 4 pozitii:
-1 = -5o
0 = 0o
1 = 5o
2 = 10o
Frana aerodinamica de tip Hutter este amplasata pe extrados si pe intrados.
Ambele posturi de pilotaj (asezate in tandem) sunt acoperite de o cupola de plexiglas care se deschide in jurul unor sarniere spre dreapta.
In partea stanga a cadrului metalic, in dreptul fiecarui pilot se gaseste maneta de inchidere-deschidere a cabinei, iar pe partea dreapta, in mod simetric se gaseste maneta de largare a cupolei (maner de culoare rosie). Comanda voletului (maner de culoare neagra) si a franei aerodinamice (maner albastru) sunt amplasate pe peretele din stanga posturilor de pilotaj.
Pe podea, in partea stanga, in ambele posturi, se afla maneta de comanda a franei pe roata (a trenului de aterizare).
Pe partea stanga a mansei, la baza sa, se gaseste comanda compensatorului (culoare verde).
Pe partea dreapta a cabinei, in ambele posturi de pilotaj se gaseste comanda de escamotare a trenului de aterizare (pozitia inainte = tren escamotat).
Comanda declansatorului (maneta galbena) se gaseste amplasata pe postul din fata in partea sanga a tabloului de bord, iar pentru postul de pilotaj spate, aceasta se gaseste pe peretele din stanga cabinei.
In fata mansei, pe podea, in postul de pilotaj fata, se gasesc casetele pentru fixarea lestului suplimentar de corectare a centrajului si deasupra acestora, la centru, rozeta de reglare a pozitiei palonierului.
17. Caracteristici geometrice ale planorului IS 32 A
| 
   Anvergura  |  
   20 m  | 
 
| 
   Lungimea maxima  |  
   8.36 m  | 
 
| 
   Inaltimea maxima  |  
   1.55 m  | 
 
| 
   Suprafata aripii (diedru de 2o)  |  
   14.68 m2  | 
 
| 
   Suprafata eleronului (2 x 0.1945 m2 =)  |  
   0.389 m2  | 
 
Suprafete ampenaje:
| 
   Stabilizator  |  
   1.16 m2  | 
 
| 
   Profundor  |  
   0.6 m2  | 
 
| 
   Deriva  |  
   0.697 m2  | 
 
| 
   Directie  |  
   0.57 m2  | 
 
Bracaje:
| 
   Profundor in sus  |  
   30o + 2o  | 
 
| 
   Profundor in jos  |  
   27o + 2o  | 
 
| 
   Directie in stanga  |  
   30o + 2o  | 
 
| 
   Directie in dreapta  |  
   30o + 2o  | 
 
| 
   Eleron in sus  |  
   -17o + 2o  | 
 
| 
   Eleron in jos  |  
   10o + 2o  | 
 
Zborul in nori este interzis.
Zborul de noapte este interzis.
Factori de sarcina la greutatea maxima de 590 Kgf: +4 si -1;
Greutate planor gol: 407 Kgf;
Greutatea maxima in D.C. (utilitar): 590 Kgf;
Greutatea maxima in spatiul de bagaje (fara a depasi greutatea admisa: 20Kgf
Limitele de centraj:
- fata: 19.3% CMA
- spate: 44.1% CMA
Pentru incadrarea in limitele de centraj in cazul pilotilor usori se utilizeaza lest suplimentar de plumb amplasat pe podeaua postului de pilotaj fata, dupa cum urmeaza:
55-65 Kgf in postul de pilotaj principal 14,6 Kgf lest
66-75 Kgf in postul de pilotaj principal 7,3 Kgf lest
Lestul se aplica la zborurile in SC cand greutatea pilotului (inclusiv parasuta) este mai mica decat 75 Kgf.
Finetea optima este de 46.5 si se obtine la viteza de 104 Km/h in SC si 108 Km/h in DC.
Viteza maxim admisa a vantului lateral este de 5 m/s.
18. Caracteristici in zbor ale planorului IS 32 A
| 
   Viteza maxim admisa (VNE)  |  
  195 Km/h | 
 
| 
   Viteza maxima la rafala a vantului de 15 m/s (VB)  |  
   160 Km/h  | 
 
| 
   Viteza maxima in remorcaj de avion (VT)  |  
   140 Km/h  | 
 
| 
   Viteza maxima cu trenul de aterizare scos (VLO)  |  
   195 Km/h  | 
 
| 
   Viteza maxima de scoatere a trenului (VL)  |  
   140 Km/h  | 
 
| 
   Viteza maxima cu franele scoase (Vfrina)  |  
   195 Km/h  | 
 
| 
   Viteza maxima cu voletul bracat la 10o (+2)  |  
   140 Km/h  | 
 
| 
   Viteza maxima de lansare cu automosorul  |  
   125 Km/h  | 
 
| 
   Viteza de manevra (VA)  |  
   160 Km/h  | 
 
| 
   Viteza de angajare in configuratia de aterizare (VSO)  |  
   80 Km/h  | 
 
| 
   Viteza de angajare in configuratie normala (volet=0o)  |  
   86 Km/h  | 
 
| 
   Viteza minima de infundare (de 0.56 m/s) se obtine la viteza de  |  
   90 Km/h  | 
 
Marcarea vitezometrului:
| 
   linie radiala rosie  |  
  195 Km/h | 
 
| 
   arc galben (utilizare cu prudenta)  |  
   160-195 Km/h  | 
 
| 
   arc verde (utilizare normala)  |  
   85-160 Km/h  | 
 
| 
   arc alb (zona de utilizare a voletilor)  |  
   80-140 Km/h  | 
 
| 
   triunghi galben  |  
   110 Km/h  | 
 
19. Norme de intretinere a planoarelor
Normele de intretinere constau intr-o serie de controale, revizii periodice care se fac:
zilnic, inainte de zbor
-la scoaterea din hangar;
-la start.
saptamanal
-la efectuarea unui numar de zboruri stabilite;
-la intoarecerea din zborul de distanta;
-la stocare;
-cand se observa sau se depisteaza un defect.
Intretinerea propriuzisa consta in:
-curatirea interioara si exterioara a planorului;
-gresarea pieselor in miscare;
-controlul si aducerea la pozitia normala a amortizoarelor si a cauciucurilor;
-reglarea comenzilor si a compensatoarelor;
-reglarea instrumentelor de bord;
-aprovizionarea cu surse electrice, oxigen, etc. pentru instrumentele si echipamentul de bord.
Intretinerea aparatelor de bord consta in insasi montarea lor in asa fel incat sa fie ferite de socuri si presiuni. Aceasta se realizeaza prin montarea tabloului de bord pe planor prin intermediul garniturilor de cauciuc. Se va avea grija sa nu existe gatuiri sau fisuri la conducte.
Conductorii electrici trebuie sa aiba continuitate, sa aiba izolatia in buna stare.
Prizele de aer trebuie sa fie curate, iar in repaus sa fie husate.
Prizele trebuie sa fie ferite de socuri mecanice si de modificari de sectiune.
Bateriile pentru instrumentul giroscopic sa fie schimbate la timp.
Busola sa fie compensata, controlata zilnic pentru depistarea eventualelor defecte.
Orice instrument va fi inlocuit in situatia in care o cauza interna face ca acesta sa nu functioneze sau sa dea indicatii eronate.
PARTEA a II-a
INSTRUMENTE DE BORD
1. Importanta instrumentelor de bord
Odata cu dezvoltarea tehnicii s-a dezvoltat si aviatia. Astfel, in cadrul zborului fara motor, avand planoare cu finete mare, iar zborul efectuandu-se in totalitate pe baza unor calcule, s-a impus perfectionarea si diversificarea instrumentelor de la bordul aeronavelor.
Instrumentele de bord, pentru a putea fi observate mai usor se instaleaza pe un bord aflat in fata pilotului.
In perfectionarea zborului s-a ajuns ca la bordul planoarelor sa existe calculatoare de bord care indica pilotului cat sa spiraleze intr-o termica, cu ce viteza si pana la ce inaltime sa execute un salt.
2. Clasificarea instrumentelor de bord
a. instrumente de bord pentru controlul functionarii motorului
Aceste instrumente se gasesc la bordul avioanelor si motoplanoarelor si sunt:
- indicatorul de ture al motorului (tachimetrul sau comptur);
- manometre de presiune pentru benzina, ulei si amestec admisie;
- termometre ulei, chiulase, lichide de racire;
- litrometre (pentru cantitatea de combustibil existenta);
b. instrumente de bord pentru controlul calitatii zborului
- indicatorul viraj si glisada;
- vitezometrul;
- variometrul;
- calculatorul de bord;
- abace si inele;
c. instrumente de bord pentru controlul pozitiei in zbor
- altimetrul;
- barograful;
- orizontul artificial;
- girocompasul si radiocompasul;
- compasul magnetic;
- transponder, statie de radio ;
d. instrumente de bord pentru controlul navigatiei aeriene
- compasul de aviatie (busola);
- girodirectionalul;
- vitezometrul;
- altimetrul;
- variometrul;
- ceas, abace, rigle, harta si aparatura radioelectrica;
e. instrumente de bord pentru protectia echipajului
- parasuta;
- inhalatorul de oxigen;
- echipamentul de zbor special;
- senzori de coleziune ;
Capsule, tuburi, membrane
Instrumentele de bord pentru a putea functiona au in componenta lor surse de tensiune, capsule aneroide, capsule deschise, prize de presiune, membrane, tuburi Bourdon si capsule armonice.
a. Capsulele sunt cutii metalice, cilindrice cu suprafetele de baza din membrane metalice subtiri, ondulate si elastice. La unele capsule lipseste inelul rigid si suprafetele de baza sunt sudate (lipite direct) (fig 3.1.).
Capsulele aneroide sunt capsule inchise vidate la interior mai mult sau mai putin (o presiune scazuta si constanta in permanenta).
Capsulele manometrice (deschise) sunt de acelasi format cu cele aneroide, avand o comunicatie cu exteriorul prin care se poate introduce o presiune.
b. Membranele sunt foi metalice (sau folii de material plastic) subtiri si elastice, plate sau ondulate, care, sub influenta presiunilor ce nu depasesc 2 Kgf/cm2 pot transmite deformatiile lor unui mecanism indicator.
 
   
   
 
   
   
     
  
     
   
 
 
   
   
 
   
   
     
  
     
   
c. Tubul Bourdon este o teava subtire confectionata din metal elastic. Un capat al tevii este inchis si pus in legatura cu un sistem indicator, iar celalalt capat este deschis si pus in legatura cu un organ de comanda. Teava elastica este infasurata circular in forma de serpentina.
Tuburile Bourdon se intrebuinteaza in constructia termometrelor de ulei si a manometrelor. Acestea functioneaza pe principiul deformarii tevii elastice sub actiunea unei presiuni ce actioneaza prin capatul deschis (fig 3.2.).
d. Capsula armonica este un burduf cu peretii laterali elastici si interiorul pus in legatura cu un tub Bourdon.
e. Prizele de presiune (de aer) intrebuintate in aviatia sportiva sunt:
- trompa Venturi;
- tubul Pittot;
- tubul Braunschwich;
Trompa Venturi se foloseste la planoarele de viteza mica datorita sensibiltatii mari a acesteia. Trompa (tubul) Venturi este un corp deschis al carui diametru interior se ingusteaza la aproximativ 1/4-1/5 din lungimea sa, apoi se largeste treptat pana la marimea sectiunii de intrare. In sectiunea micsorata curentul de aer isi va mari viteza, deci si energia cinetica, respectiv presiunea dinamica. In baza legii continuitatii (legea lui Bernoulli) presiunea statica pe sectiune va scadea. Marimea presiunii dinamice este direct proportionala cu diferenta dintre presiunea statica de la intrarea in tub si cea din sectiunea micsorata. Masurand cu un vitezometru aceasta diferenta, vom afla viteza cu care zboara aeronava (fig 3.3.).
 
   
   
 
   
   
     
  
     
   
 
 
   
   
 
   
   
     
  
     
   
Fig. 3.3. Tubul (trompa) Venturi Fig. 3.4. Tubul Pittot
Tubul Pittot este un dispozitiv care inlocuieste in prezent trompa Venturi. Acest lucru s-a impus datorita simplitatii constructive a acestuia. Cu ajutorul tubului Pittot se culege din exterior presiunea totala si presiunea statica.
Presiunea dinamica apare ca efect al vitezei fluidului, perpendicular pe directia de deplasare a fileurilor de aer.
Presiunea statica este presiunea care actioneaza perpendicular pe o suprafata indiferent de orientarea acesteia, ca efect al greutatii coloanei de aer la inaltimea respectiva. Aceste presiuni, culese cu ajutorul tubului Pittot se introduc in instrumentele de la bordul aeronavei.
La constuctiile actuale, pe planoare, tubul Pittot este inlocuit cu 2 prize, din care una pentru presiunea statica aflata pe fuselaj si una pentru presiunea totala aflata in bot, pe directia fileurilor de aer.
Priza de depresiune (tubul Braunschwich) este un dispozitiv care culege presiunea statica diminuata cu o fractiune proportionala cu presiunea dinamica. Acest dispozitiv se cupleaza la variometrul de energie totala.
 
 
   
   
 
   
   
     
  
     
   
Fig. 3.5. Tubul Braunschwich
4. Altimetrul
Altimetrul barometric este un instrument cu ajutorul caruia se poate determina inaltimea la care zboara aeronava in raport cu locul de decolare sau in raport cu nivelul marii.
Altimetrul cu capsula are ca traductor o capsula aneroida care se deformeaza odata cu modificarile presiunii atmosferice (Ps); vezi (fig. 4.5.).
Capsula se va dilata odata cu scaderea presiunii si se va contracta odata cu cresterea presiunii. Aceste deformatii se transmit prin intermediul unui sistem cu parghii unui ac indicator care se roteste in fata unei scale gradate in unitati de inaltime.
 
 
   
   
 
   
   
     
  
     
   
Altimetrul este format din:
- carcasa de aluminiu sau ebonita prevazuta cu un orificiu pentru cuplarea la priza de presiune statica (1);
- capsula aneroida pusa in legatura cu un ac indicator printr-un sistem de parghii (2);
- ac indicator (4);
- sistem de parghii (3);
- scala gradata in metri sau picioare (feet) altitudine (5).
Functionare: Odata cu cresterea inaltimii, presiunea statica scade, capsula se dilata si acul indicator ne va indica inaltimea la care ne aflam.
La scaderea inaltimii presiunea creste, capsula se comprima si acul se va deplasa prin intermediul sistemului de pirghii, indicandu-ne noua inaltime.
Altimetrul electric masoara inaltimea fata de sol pe principiul emiterii de semnale electromagnetice.
Masurand timpul intre momentul emiterii si momentul receptionarii semnalului, se determina inaltimea la care se afla aeronava fata de obstacolele de pe sol (inaltimea reala).
4.1. Calajul altimetric
Necesitatea reglarii altimetrului barometric in raport cu presiunea atmosferica in cazul zborului pe caile aeriene, cat si la celelalte zboruri, pentru a avea o indicatie corecta la altimetru in raport cu pragul pistei, a dus la introducerea unei scale barometrice in interiorul instrumentului. Aceasta scala barometrica este vizibila intr-o fereastra a altimetrului si este gradata in mb sau mm Hg.
Operatiunea de calaj altimetric este descrisa in paragraful 8.1.
5. Vitezometrul
Vitezometrul este instrumentul de bord care indica viteza de zbor a aeronavei fata de fileurile de aer (aceasta viteza se mai numeste si viteza proprie).
Principiul de constructie a vitezometrului se bazeaza pe masurarea presiunii dinamice.
Cunoscand densitatea aerului din relatia presiunii dinamice se poate calcula viteza:
 
 unde:
q = presiunea dinamica;
ρ = densitatea aerului;
v = viteza de zbor.
rezulta:
 
 
Desi instrumentul masoara o presiune printr-o calibrare corespunzatoare scala vitezometrului este gradata in unitati de viteza (km/h).
Constructiv, vitezometrul este realizat din:
- carcasa de aluminiu sau ebonita (1);
- capsula deschisa (2);
- sistem de parghii (3);
- acul indicator (4);
- scala gradata (5).
Functionare: capsula se cupleaza la priza de presiune totala Pt iar carcasa la priza de presiune statica Ps. Cu cat viteza este mai mare si presiunea dinamica va fi mai mare.
Pd = Pt - Ps
Capsula se va deforma cu o marime proportionala cu:
Pt-Ps= (Pd+Ps)-Ps= Pd+Ps-Ps= Pd
Deci capsula se va deforma proportional cu presiunea dinamica Pd. Aceasta va fi indicata pe scala gradata direct in km/h.
Datorita faptului ca vitezometrul masoara de fapt presiunea dinamica, iar trasarea scalei a fost realizata la joasa inaltime in conditii de densitate constanta a aerului, aceasta va da erori odata cu cresterea inaltimii de zbor. In general in practica se considera sporirea vitezei reale fata de fileurile de aer cu 0.5% pentru fiecare 100 m inaltime.
Exemplu: o aeronava care are vitezometrul etalonat la nivelul marii (760 mmHg) si va zbura la 200 m cu viteza de 100 km/h indicata la aparat, va avea in realitate, fata de mediul inconjurator, o viteza de cca.101 Km/h.
Corectarea vitezei cu inaltimea este necesara pentru domeniul vitezelor mari pentru a nu depasi VNE.
 
 
   
   
 
   
   
     
  
     
   
Fig. 5.7. Vitezometrul
6. Variometrul
Variometrul este un aparat (instrument de bord) care masoara viteza de urcare sau de coborare a aeronavei (in m/s).
Pentru pilotul planorist acest instrument are o importanta deosebita deoarece in baza acestor indicatii va exploata curentul ascendent.
Constructiv variometrele se impart in:
variometru cu capsula;
variometru cu paleta;
variometru cu bila;
variometru electric;
variometru cu lichid;
variometru de energie totala.
6.1. Variometrul cu capsula
Variometrul cu capsula este confectionat dintr-o carcasa de aluminiu sau ebonita [1], o capsula manometrica [2], un sistem de parghii [3], un ac indicator [4] si un termos [5]. Termosul este legat de capsula prin intermediul unei conducte care are practicata in ea un orificiu capilar [6]. Termosul are rolul de a mari, cu capacitatea sa, volumul capsulei deschise. Se foloseste termosul pentru ca aceasta marire de volum sa fie influentata cat mai putin de variatiile de temperatura ale mediului.
Functionare: in cazul zborului orizontal, presiunea din carcasa va fi egala cu presiunea din termos-capsula, acest echilibru fiind realizat prin intermediul tubului capilar. In aceasta situatie acul va indica 0 m/s.
In momentul cand planorul va incepe sa urce, presiunea statica va scadea, fapt care va duce la o scadere a presiunii din carcasa fata de presiunea din capsula-termos. Acest fapt va determina deformarea capsulei si respectiv transmiterea acestei deformatii acului indicator.
In acelasi timp, prin spatiul capilar presiunile cauta sa se egalizeze, dar aceasta se va realiza cu o anumita intarziere.
Daca planorul urca cu o viteza constanta, presiunea din carcasa scade continuu, dar in acelasi timp prin tubul capilar va exista o tendinta de egalizare a acestor presiuni. Din acest motiv capsula va ramane cu o deformatie constanta deoarece la un moment dat variatia de presiune din carcasa devine egala cu variatia de presiune din capsula-termos datorita tubului capilar. Aceasta deformatie este cu atat mai mare cu cat viteza de urcare este mai mare.
In momentul cand urcarea va inceta, presiunile din carcasa si capsula-termos se vor egaliza prin tubul capilar, cu o oarecare intarziere, iar acul va reveni la '0'. Datorita acestui fenomen indicatiile variometrului au o intarziere de cateva secunde.
La coborare fenomenul se produce in mod similar, capsula se va contracta datorita faptului ca presiunea din carcasa (Ps) este mai mare decat presiunea din capsula-termos. si in acest caz va exista tendinta de egalizare prin intermediul tubului capilar.
Variometrele de acest tip sunt in general variometrele cu scala gradata pana la 30 m/s.
 
 
   
   
 
   
   
     
  
     
   
6.2. Variometrul cu paleta
Variometrul cu paleta (vezi fig. 6.9.), este construit din urmatoarele elemente:
- carcasa in care se misca o paleta (1), care transmite miscarea unui ac indicator (4);
- paleta (2);
- ac indicator (3);
- scala gradata(5)
- termos ;
- spatiul capilar care preia rolul tubului capilar. Acesta este spatiul dintre carcasa si paleta(6).
Functionarea este asemanatoare cu a variometrului cu capsula:
Astfel daca aeronava urca, presiunea in spatiul II va fi mai mica decat presiunea din spatiul I-termos si sub efectul acestei diferente de presiune, paleta se va deplasa. Aceasta deplasare va fi transmisa acului indicator care ne va arata valoarea urcarii. Totodata exista tendinta de egalizare a presiunilor prin spatiul capilar (spatiul dintre paleta si carcasa).
 
 
   
   
 
   
   
     
  
     
   
Fig. 6.9. Variometrul cu paleta
Cand urcarea va inceta, presiunile se vor egaliza prin spatiul capilar si acul va reveni la pozitia 0 (m/s).
Acest tip de variometru aflat la bordul planoarelor este etalonat pana la 5 m/s. In cazul urcarilor cu viteze mai mari de 5 m/s, variometrul nu se va defecta deoareace paleta se va lipi de suport, presiunile din termos si exterior egalizandu-se direct. In momentul cand scade viteza de urcare, paleta se va dezlipi de suport datorita cuplului asigurat de catre resortul spiral si va indica din nou viteza de urcare in domeniul 0-5 m/s.
Acest tip de variometru este folosit pe planoare pentru centrarea in termica, fiind mai precis si mai sensibil (scala totala este de 5 m/s).
6.3. Variometrul cu bile
Variometrul cu bile functioneaza pe acelasi principiu ca si variometrele descrise anterior. Curentul de aer care se naste din cauza tendintei de egalizare a presiunii dintre exterior si termos, misca bilele din tubul conic de sticla dupa cum se vede in fig. 6.10, la urcare (a) si la coborare (b). Bilele se executa din materiale usoare si se coloreaza in verde pentru urcare si in rosu pentru coborare.
6.4. Variometrul electric
La toate variometrele descrise exista intarzieri in indicatii datorita spatiului capilar. Pentru a se elimina aceste intarzieri s-a construit variometrul electric.
La baza functionarii acestui instrument sta principiul masurarii vitezei maselor de aer prin metoda firului incandescent. Un fir foarte subtire de platina este incalzit electric, curentul de aer a carui viteza se masoara raceste firul si prin aceasta ii schimba rezistenta electrica.
Masurarea se bazeaza pe principiul puntii Wheastone, unde pe doua laturi avem rezistentele de platina (d), o sursa de alimentare (E), un aparat indicator si un po tentiometru (P) care serveste la modificarea limitei de masurare. Potentiometrul foloseste la aducerea acului in pozitia '0'.
 
 
   
   
 
   
   
     
  
     
   
 
 
   
   
 
   
   
     
  
     
   
Fig. 6.10. Variometrul cu bile Fig. 6.11. Variometrul electric
6.5. Variometrul cu lichid
Variometrul cu lichid functioneaza pe principiul manometrului cu lichid (fig. 6.12.).
Deoarece tubul capilar in care se fac citirile este orizontal nu este in concordanta cu sensul fizic al indicatiei, cat si datorita faptului ca lichidul este influentat de fortele centrifuge si de inertie, acest tip de variometru nu se foloseste in practica.
 
 
   
   
 
   
   
     
  
     
   
Fig. 6.12. Variometrul cu lichid
6.6. Variometrul de energie totala (VET)
Odata cu aparitia variometrului pe plansa de bord s-a revolutionat zborul fara motor. Astfel a fost facut un pas inainte privind zborul de performanta si in special zborul in curenti ascendenti termici.
Totusi variometrele normale au un mare dezavantaj si anume isi modifica indicatia in functie de viteza de zbor, adica indica si urcarile sau coborarile datorate miscarilor mansei in profunzime. Pentru centrarea in caminul termic este important sa citim la variometru numai valoarea curentului ascendent in diferite puncte ale spiralei.
Daca analizam un zbor cu variometrele normale, vom vedea ca pilotul care executa un salt cu o viteza de cca. 120-150 Km/h, cand va intalni o ascendenta, va trage de mansa pentru a putea sa execute spirale mai stranse si sa zboare in caminul termic in zona de viteza care asigura infundarea minima. In acel moment si variometrul va indica urcare (datorata atat cabrajului planorului cat si urcarii in caminul ascendent), fapt care va duce in eroare pilotul planorist privind valoarea reala a termicii.
VET cauta sa elimine aceasta deficienta a variometrului normal. Denumirea acestui instrument vine de la faptul ca urmareste modificarile de energie totala ale aeronavei:
Et = Ec+ Ep, unde:
Et = energia totala a planorului;
Ec = energia cinetica a planorului ce depinde de viteza de zbor;
Ep = energia de pozitie a planorului ce depinde de inaltimea la care se afla in zbor. Tinand cont ca la zborul normal Et = constant, rezulta ca se pot modifica energiile Ec si Ep una in dauna celeilalte. Astfel daca viteza va creste prin impingerea mansei, va creste si Ec, iar Ep va scadea (deoarece scade inaltimea de zbor).
Daca, insa planorul intra intr-un curent ascendent, el poate castiga energie potentiala, fara a modifica energia cinetica (Ec), dar in acest caz va creste energia totala (Et).
Pe pilotul planorist il intereseaza tocmai aceasta modificare de energie totala, (Et) datorata curentului ascendent sau descendent.
La miscarile mansei in profunzime VET nu va indica viteza de urcare sau coborare:
Wt = Wv - W
unde:
Wt este indicatia VET;
Wv este indicatia variometrului normal;
W este viteza verticala produsa prin transformarea energiei cinetice in energie potentiala si invers.
 
  
    
  
   
    
   ![]()
 
 
  
    
  
   
    
   ![]()
 
unde Ph este presiunea statica la inaltimea h.
 
  
    
  
   
    
   ![]()
grupand termenii, vom obtine:
 
  
    
  
   
    
   ![]()
 
unde q este presiunea dinamica.
Din relatia de mai sus se vede ca la variometrul de energie totala, fata de variometrul normal trebuie sa i se aplice diferenta dintre presiunea statica si cea dinamica.
Aceasta solutie se poate obtine prin 2 metode:
a. prin folosirea unui variometru normal si a tubului Venturi modificat in asa fel ca depresiunea din tub sa fie proportionala vitezei de inaintare a planorului, adica
 
  
    
  
   
    
   ![]()
 
unde K = 1 si este constanta trompei Venturi.
b. prin folosirea unui variometru modificat care se racordeaza la tubul Pittot. Acest principiu este redat in fig. 6.13.
 
 
   
   
 
   
   
     
  
     
   
Dupa cu se vede, variometrul normal este legat la presiunea statica si la termos. Paralel cu termosul este legat dispozitivul de compensare prevazut cu membrana elastica. Membrana este astfel construita ca la variatia presiunii totale Pt sa-si schimbe volumul cu dV, marind presiunea in termos in mod egal cu cresterea presiunii statice dPs.
Astfel, daca impingem de mansa, planorul coboara, creste Ps, dar in acelasi timp creste si Pt (creste Pd datorita maririi vitezei). La cresterea Pt membrana se va deforma si va mari presiunea din termos cu o cantitate egala cu cresterea presiunii statice.
In cazul actionarii mansei spre inapoi fenomenele se produc in sens invers. In momentul cand planorul urca in curent ascendent, presiunea statica va scadea, dar presiunea dinamica va ramane constanta. In felul acesta membrana de compensare nu se va deforma, iar variometrul va indica urcare datorita scaderii presiunii statice.
Aceasta indicatie este tocmai valoarea curentului ascendent.
6.7. VET cu priza de depresiune (tub Braunschwich)
In acest caz cuplarea prizei de presiune statica a variometrului normal se va face la o priza de depresiune (tub Braunschwich).
In acest caz, la o crestere suplimentara a vitezei, va rezulta o crestere suplimentara a depresiunii care va fi egala si de sens contrar cresterii de presiune statica, datorata infundarii suplimentare prin picaj.
Pentru obtinerea acestui efect, priza trebuie sa capteze o presiune egala cu:
Pp = Ps - q, unde:
Pp = presiune captata de priza Braunschwich;
Ps = presiunea statica;
q = depresiune generata de priza.
Functionarea variometrului:
La actionarea mansei spre inainte va creste viteza, deci va creste q. In acelasi timp, datorita infundarii suplimentare, va creste si Ps. La aceasta priza, cresterea lui Ps este anulata de catre suptiunea dinamica q. Acest lucru face ca presiunea de priza Pp sa ramana constanta, deci variometrul nu va arata coborare. Acelasi fenomen se va intampla si la actionarea mansei spre inapoi. In momentul cand planorul urca intr-un curent ascendent, Ps va scadea in timp ce q va ramane constanta. Aceasta scadere a presiunii statice va face ca variometrul sa indice urcare. Indicatia variometrului va fi direct proportionala cu valoarea curentului ascendent.
Pentru ca priza sa functioneze normal, trebuie sa aiba coeficientul -1
 
 
   
   
 
   
   
     
  
     
   
Fig. 6.14. VET cu tub Braunschwich
Chiar daca priza a fost calibrata la coeficientul -1, nu este garantata o functionare multumitoare intrucat depinde si de zona turbionara a locului unde a fost montata.
In fig. 3.5. se poate observa constructia prizei de depresiune (tubul Braunschwich).
Pentru a verifica priza Braunschwich se va cupla un vitezometru de control Vc intre presiunea statica si priza in asa fel ca stutul carcasei Ps a vitezometrului sa fie cuplat la priza, iar stutul membranei vitezometrului Pt se cupleaza la presiunea statica a planorului. In situatia cand priza a fost bine calibrata, cele doua vitezometre cel de control si vitezometrul planorului, in timpul zborului, vor indica acceasi viteza.
Daca vitezometrul Vc indica viteza mai mica, depresiunea generata de priza este sub valoarea ceruta si invers (vezi fig. 6.15.).
Compensarea prizei in cazul unei erori cunoscute:
Graficul din figura arata traiectoria indicatiilor in caz de compensare inalta sau joasa.
Astfel, un variometru subcompensat, in timpul cresterii vitezei de la v1 la v2 arata o infundare mai mare decit infundarea normala, in timp ce la scaderea vitezei de la v2 la v1 va arata gresit in directia urcarii. Supracompensarea duce la erori in mod invers, adica la o crestere a vitezei va arata o infundare mai mare decat normala.
Daca dupa mai multe incercari in zbor vom constata o compensare gresita, va trebui sa modificam priza. La priza cu fanta dubla se poate inlatura subcompensarea prin scurtarea capatului tevii. La supracompensare, teava trebuie prelungita (de exemplu cu cositor). In general modificari de sutimi de milimetru sunt suficiente pentru compensarea prizei.
 
 
   
   
 
   
   
     
  
     
   
Fig. 6.15. Schema si grafic de verificare a tubului Braunschwich
7. Indicatorul de viraj si glisada
Indicatorul de viraj si glisada este compus practic din 2 instrumente:
- indicatorul de viraj si
- indicatorul de glisada.
7.1. Indicatorul de viraj
Indicatorul de viraj se foloseste pentru stabilirea directiei si sensului de rotire a aeronavei fata de axa verticala (axa de giratie), cat si a marimii virajului.
Indicatorul de viraj are ca element principal un giroscop cu doua grade de libertate (fig. 7.16.)
 
 
   
   
 
   
   
     
  
     
   
Fig. 7.16. Indicatorul de viraj (giroscopul)
Rotorul giroscopului este actionat de un electromotor de curent continuu [1]. Axul principal al giroscopului si axul cadrului sau [2] sunt dispuse paralel cu axa logitudinala si respectiv transversala a aeronavei. Cand aeronava executa un viraj are loc rotirea fortata a giroscopului in jurul axei verticale.
Functionarea indicatorului de viraj se bazeaza pe proprietatea giroscopului de a-si pastra planul de rotatie. Astfel, cand intervine o forta perturbatoare din exterior care tinde sa-i schimbe planul de rotatie, giroscopul va genera un moment (momentul giroscopic) care va tinde sa suprapuna pe drumul cel mai scurt vectorul vitezei de rotatie proprie a giroscopului cu vectorul fortei perturbatoare. In cazul indicatorului de viraj rolul fortei perturbatoare il are forta centrifuga care apare in momentul executarii virajului. Deplasarea cadrului giroscopului se transmite acului indicator [3].
Deoarece unghiul de inclinare a cadrului este o functie de doua variabile: unghiul de inclinare a avionului si viteza de rotire in jurul axei verticale, scala nu poate fi gradata in unitati de viteza unghiulara. Din acest motiv instrumentul lucreaza ca un indicator al prezentei vitezei unghiulare in jurul axei verticale si al sensului de rotire. Desi nu este facuta o calibrare exacta a aparatului deplasarea unghiulara este proportionala cu acceleratia normala aparuta in timpul virajului deci implicit cu viteza de rotire.
7.2. Indicatorul de glisada
Indicatorul de glisada se monteaza de regula, impreuna cu indicatorul de viraj, dand astfel posibilitatea, pilotului sa aprecieze daca virajele se executa corect din punct de vedere aerodinamic.
Indicatorul de glisada reprezinta un fel de pendul, o sfera de metal care culiseaza intr-un tub curbat din sticla (fig. 6.17.).
 
 
   
   
 
   
   
     
  
     
   
Fig. 7.17. Indicatorul de glisada (clinometrul)
In zbor orizontal, sub actiunea greutatii, bila va ocupa o pozitie intre cele 2 repere. In timpul virajului asupra bilei va actiona, in afara fortei de greutate si forta centrifuga si din acest motiv bila va ocupa o pozitie determinata de directia rezultantei celor 2 forte. Daca virajul este executat corect, bila ramane in centrul tubului, intre repere, indicand lipsa oricarei componente orientate in lungul aripii (glisada sau derapaj). Pentru a amortiza oscilatiile bilei, tubul se umple cu un lichid (toluen, petrol).
8. Compasul de aviatie
In practica navigatiei aeriene se deosebesc urmatoarele categorii de instrumente pentru indicarea directiei de zbor:
- compas magnetic;
- compas giroscopic;
- compas giromagnetic;
- compas giroinductiv.
Deoarece in planorism se utilizeaza numai compasul magnetic, in continuare va fi descris acesta.
Compasul magnetic (fig. 8.18.) are ca principiu de functionare proprietatea acului magnetic de a se orienta pe directia liniilor de forta ale camplui magnetic terestru. Aceasta orientare a acului magnetic indica directia nordului magnetic, iar cand este corelat cu utilizarea unei roze gradate ofera posibilitatea mentinerii deplasarii pe o directie constanta.
 
 
   
   
 
   
   
     
  
     
   
Fig. 8.18. Compasul magnetic
Partile componente ale unui compas magnetic sunt:
- echipamentul magnetic format din una sau mai multe perechi de ace magnetice [1];
- scala [2];
- plutitorul [3], toate acestea fiind inchise intr-o
- carcasa umpluta cu
- lichid (de amortizare) [5];
- indicele de control [6];
- dispozitivul de compensare [7].
Datorita variatiilor de temperatura, in compunerea compasului de aviatie mai exista si o carcasa de compensare formata din una sau mai multe capsule elastice in care intra lichidul cand se dilata.
Compasul magnetic va avea anumite erori in indicatie datorate faptului ca pe glob intalnim o inclinatie si o declinatie magnetica variabile. Totodata vom mai avea erori si datorita antrenarii acelor magnetice si a rozei gradate in timpul virajelor. Astfel, lichidul se roteste in sensul virajului datorita inertiei si frecarii de pereti. Cand virajul inceteaza, lichidul isi continua rotirea din cauza inertiei si antreneaza si acul magnetic cateva grade mai mult fata de directia spre care s-a orientat axa aeronavei.
Pentru a retine mai usor erorile se recomanda metoda de memorare prezentata in tabelul urmator.
Metoda de memorare a erorilor comasului magnetic:
| 
   DIRECTIA DE DEPLASARE  |  
   MISCAREA  |  
   INDICATIA ROZEI  |  
   INITIALELE DE MEMORAT  | 
 
| 
   spre sud  |  
   viraj stanga  |  
   scade  |  
   S S S  | 
 
| 
   spre sud  |  
   viraj dreapta  |  
   creste  |  
   S D C  | 
 
| 
   spre nord  |  
   viraj stanga  |  
   creste  |  
   N S C  | 
 
| 
   spre nord  |  
   viraj dreapta  |  
   scade  |  
   N D S  | 
 
| 
   spre est  |  
   cabraj  |  
   creste  |  
   E C C  | 
 
| 
   spre est  |  
   picaj  |  
   scade  |  
   E P S  | 
 
| 
   spre vest  |  
   cabraj  |  
   scade  |  
   W C S  | 
 
| 
   spre vest  |  
   picaj  |  
   creste  |  
   W C C  | 
 
Compasul magnetic sufera influenta maselor metalice de la bord. Din acest motiv nu va putea indica nordul magnetic ci o alta directie, Nordul Compas. Aceste deviatii ale compasului se vor micsora prin operatia de compensare. Dupa ce se efectueaza aceasta operatie de compensare se intocmeste un grafic (fig. 8.19.) care se afiseaza la bordul aeronavei:
La calculele de navigatie se tine cont si de acest tabel din care se determina deviatia compasului Dc.
 
 
   
   
 
   
   
     
  
     
   
Fig. 8.19. Grafic compensare busola
9. Barograful
Barograful este aparatul care instalat la bordul planorului inregistreaza inaltimea la care se executa zborul pe o durata de timp prestabilita.
Barograful functioneaza ca si altimetrul, pe baza deformatiilor unei (sau mai multor) capsule aneroide in functie de presiunea statica (presiunea corespunzatoare inaltimii la care se zboara). Fata de altimetru, care indica doar inaltimea instantanee, barograful va inregistra pe un tambur inaltimea la care se zboara in functie de timp
 
 
   
   
 
   
   
     
  
     
   
Barograful este alcatuit din:
- placa de baza;
- capac;
- capsula pentru presiunea statica;
- capsula aneroida;
- cilindru;
- sistem de ceasornic sau motoras electric;
- ac inregistrator;
- sitem de parghii;
- racord pentru presiunea statica;
- parghie pentru schimbarea timpului de rotire;
- arc pentru fixarea capacului pe placa de baza (carcasa).
Inregistrarea se poate face pe suport de fum prin zgariere, sau pe hartie cu cerneala care contine glicerina. Cerneala cu glicerina nu se usuca pe penita in timpul functionarii. Durata de rotire a tamburului poate fi stabilita de pilot la 12, 10, 4 sau 2 ore, iar inaltimea pana la care se poate inregistra urcarea depinde de tipul barografului si este precizata pe carcasa acestuia. Barograma inregistrata se va interpreta dupa zbor studiindu-se urmatoarele elemente de zbor:
- exploatarea termicii;
- executarea saltului d.p.d.v. al duratei, vitezei si inaltimii inferioare;
- executarea ultimului salt, etc.
Totodata barogramele inregistrate constituie dovada castigurilor de inaltime necesare obtinerii insignelor si omologarilor recordurilor.
10. Schema de legatura a instrumentelor de bord
Instrumentele de bord, in functie de sursa de alimentare, se vor racorda la:
- tubul Pittot: vitezometru, variometru, altimetru, VET.
- sursa de curent continuu: giroclinometru, statie radio.
 
 Giroclinometrul
(indicatorul de viraj si glisada) se va alimenta de la 2 baterii de 4.5 V.
C.C., iar statia radio de la acumulator de 12 V. C.C.
   
   
 
   
   
     
  
     
   
| 
Politica de confidentialitate | Termeni si conditii de utilizare | 
              
                Vizualizari: 3764				
                Importanta: ![]()
Termeni si conditii de utilizare | Contact 
     
      © SCRIGROUP 2025 . All rights reserved