MOTOARE DE CURENT CONTINUU. PRINCIPII CONSTRUCTIVE SI FUNCTIONALE. METODE DE COMANDA
MOTOARE DE CURENT CONTINUU. PRINCIPII CONSTRUCTIVE SI FUNCTIONALE. METODE DE COMANDA 1. Constructia si functionarea motoarelor de curent continuu. Clasificare · Motoare cu excitatie electronagneCiteste tot ... 2021 cuvinte
Dimensiune medie + cu poze |
 |
 |
Scheme de conexiuni cu doua sau mai multe sisteme de bare colectoare si un singur intreruptor pe circuit
Scheme de conexiuni cu doua sau mai multe sisteme de bare colectoare si un singur intreruptor pe circuit − Varianta de baza:Citeste tot ... 1815 cuvinte
Dimensiune medie + cu poze |
 |
 |
Alimentarea serviciilor proprii din centralele electrice
Alimentarea serviciilor proprii din centralele electrice Aspecte generale Servicii proprii ® instalatii care contribuie la buna functionare a centralelor electrice (SP) Clasificarea SP: Dupa locul amplasaCiteste tot ... 3398 cuvinte
Dimensiune medie + cu poze |
 |
 |
Criterii de alegere a aparatelor electrice
Criterii de alegere a aparatelor electrice 1 Aspecte generale Aparatele electrice alese trebuie sa satisfaca o serie de grupe de criterii tehnice, indicandu-se valorile necesare determinate de solicitarile din instalaCiteste tot ... 3505 cuvinte
Dimensiune medie + cu poze |
 |
 |
Simboluri si semne conventionale
Simboluri si semne conventionale Denumire Simbol Denumire Simbol 1. curent continuu sau 12. Citeste tot ... 558 cuvinte
Dimensiune mica + cu imagini |
 |
 |
Solicitari in exploatare ale echipamentelor si aparatelor electrice
Solicitari in exploatare ale echipamentelor si aparatelor electrice Solicitarile sunt influentate in mare masura de parametrii fizici ai retelelor in care echipamentele si aparatele sunt integrate funCiteste tot ... 99 cuvinte
Dimensiune mica - fara poza |
 |
 |
Prelucrarea electronica a semnalelor analogice
introducere In curs se prezinta dispozitivele si circuitele electronice fundamentale ce intervin in prelucrarea electronica a semnalelor analogice. Termenul de 'electronic' este asociat mecanismului electronic de coCiteste tot ... 932 cuvinte
Dimensiune mica + cu imagini |
 |
 |
CIRCUITE BASCULANTE CU ELEMENTE DISCRETE
CIRCUITE BASCULANTE CU ELEMENTE DISCRETE 1. Scopul lucrarii: in lucrare sunt testate un circuit basculant monostabil si un circuit basculant astabil, ambele realizate cu tranzistoare bipolare, cu cuplaje colector baza; sCiteste tot ... 744 cuvinte
Dimensiune mica + cu imagini |
 |
 |
Extractia optimala a parametrilor de model ai dispozitivelor semiconductoare
Extractia optimala a parametrilor de model ai dispozitivelor semiconductoare Prin extractie de parametri se intelege determinarea parametrilor de model ce caracterizeaza un dispozitiv electronic, utilizand datelCiteste tot ... 968 cuvinte
Dimensiune mica + cu imagini |
 |
 |
Laborator de Componente si Circuite Pasive - Rezistoare liniare fixe
Laborator de Componente si Circuite Pasive Numele lucrarii : Rezistoare liniare fixe 1.- Scopul lucrarii : Cunoasterea structurii constructive a diverselor tipuri de rezistoare, a parametrilorCiteste tot ... 2331 cuvinte
Dimensiune medie - fara imagini |
 |
 |
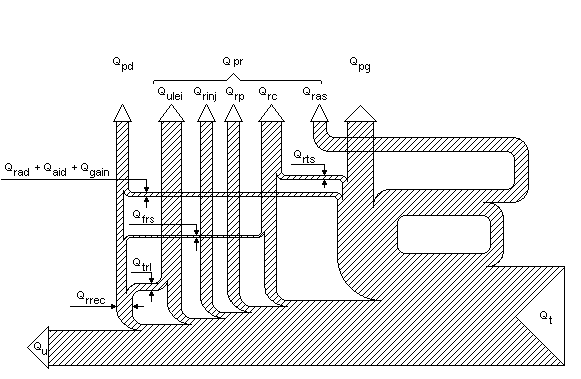
Bilantul Energetic al M.P.
Bilantul Energetic al M.P. Acest bilant exprima modul in care energia produsa prin arderea combustibilului in motor este repartizata in diverse schimburi ale acestuia cu mediul exterior. Caldura disponibila Qd [KJ / h] sau [Kcal / h] repCiteste tot ... 1224 cuvinte
Dimensiune mica + cu imagini |
 |
 |
CIRCUITE LOGICE COMBINATIONALE ELEMENTARE
CIRCUITE LOGICE COMBINATIONALE ELEMENTARE SI V(1) V(2) Citeste tot ... 2090 cuvinte
Dimensiune medie + cu poze |
 |
 |
NORMATIV PENTRU CONSTRUCTIA LINIILOR AERIENE DE ENERGIE ELECTRICA CU TENSIUNI PESTE 1000 V
NORMATIV PENTRU CONSTRUCTIA LINIILOR AERIENE DE ENERGIE ELECTRICA CU TENSIUNI PESTE 1000 V NTE 003/04/00 NORMATIV PENTRU CONSTRUCTIA LINIILOR AERIENE DE ENERGIE ELECTRICĂCiteste tot ... 43765 cuvinte
Dimensiune mare + cu imagini |
 |
 |
Dispozitive de afisare cu sapte segmente
fig.1 Sistemul de codificare si decodificare pentru transformarea numerelor zecimale in numere binare si invers In figura 1 este prezentata schema bloc a dispozitivului electronic ce realizeaza transformarea numerelor zecimale in numereCiteste tot ... 467 cuvinte
Dimensiune mica + cu imagini |
 |
 |
APARATE ELECTRICE DE INALTA TENSIUNE
APARATE ELECTRICE DE INALTA TENSIUNE 1. Generalitati Legatura dintre centralele electrice si liniile de transport de energie, intre liniile de transport si retelele de distributie de inalta tensiCiteste tot ... 9590 cuvinte
Dimensiune mare + cu imagini |
 |
 |
CIRCUITE PLL - Schema bloc a unui circuit PLL
CIRCUITE PLL Circuitele PLL (Phase Locked Loops) sunt sisteme automate dupa abatere, ca in figura 6.1, care actioneaza pentru mentinerea constanta a frecventei f 0 a semnalului de iesire, egalCiteste tot ... 1984 cuvinte
Dimensiune medie + cu poze |
 |
 |
Protectia impotriva electrocutarii
Protectia impotriva electrocutarii Aceasta lucrare ofera un rezumat privind modalitatile de protectie impotriva electrocutarilor. Protectia se realizeaza in urmatoarele cazuri de bazCiteste tot ... 5565 cuvinte
Dimensiune mare + cu imagini |
 |
 |
CUADRIPOLI ELECTRICI - ECUATIILE CUADRIPOLULUI
CUADRIPOLI ELECTRICI Numim cuadripol este o retea electrica care are patru borne de acces cu exteriorul, iar laturile interioare nu prezinta cuplaje magnetice cu exteriorul. In cele ce urmeazCiteste tot ... 2007 cuvinte
Dimensiune medie + cu poze |
 |
 |
Cromatografia de inalta performanta HPLC
Cromatografia de inalta performanta HPLC Metode cromatografice Dintre toate metodele de separare, cromatografia are o pozitie unica, putand fi aplicata tuturor problemelor din toate domeniile stiintei, avand o raspandire de-a dreptuCiteste tot ... 4927 cuvinte
Dimensiune medie + cu poze |
 |
 |
Sectiunea totala de producere de perechi electron-pozitron cu electronul creat in subpatura 2S
Sectiunea totala de producere de perechi electron-pozitron cu electronul creat in subpatura 2S. Expresia sectiunii eficace de producere de perechi electron – positron poate fi obtinuta prin teorema optica daca este calculata paCiteste tot ... 1211 cuvinte
Dimensiune mica + cu imagini |
 |
 |
Alte pagini