| CATEGORII DOCUMENTE |
| Aeronautica | Comunicatii | Electronica electricitate | Merceologie | Tehnica mecanica |
Pentru a patrunde in acest domeniu se vor prezenta mai intai cateva definitii si concepte specifice absolut necesare.
Metrologia este definita ca domeniul de cunostinte referitoare la masurari, cuprinzand toate aspectele, atat teoretice cat si practice, ale masurarilor, oricare ar fi nivelul lor de precizie, marimea masurata, modalitatea si scopul efectuarii, domeniul stiintei sau tehnicii in care intervin.
Obiectul metrologiei include marimi si unitati de masura, etaloane, metode si mijloace de masurare, erori si incertitudini de masurare, influenta conditiilor de masurare, caracteristici ale mijloacelor de masurare, relatia om-aparat, etalonari, norme si prescriptii privind asigurarea metrologica.
Activitatea de metrologie este guvernata de reglementari si legi care prevad: mijloacele de masurare legale, sistemul national de etalonare, fabricarea si importul mijloacelor de masurare, transmiterea unitatilor de masura, autorizarea laboratoarelor si a personalului din metrologie.
Masurarea poate fi definita ca un proces (succesiune de operatii) prin care se obtin informatii cantitative despre o marime fizica Acest proces de masurare poate fi definit pe baza mai multor modele dintre care se descriu doua mai importante.
a) Modelul matematic al masurarii.
Conform acestui model procesul de masurare este un proces fizic experimental de comparatie a marimii de masurat cu o alta marime de aceeasi natura cu ea, considerata unitate de masura, rezultatul comparatiei fiind un numar real:
(1.1)
unde: X - marimea de masurat;
n - valoarea numerica a marimii de masurat, care arata numarul de unitati de masura Um cuprinse in marimea de masurat.
Definitia
se poate generaliza considerand o multime de masura X caracterizat prin m parametri
(1.2)
Operatia de masurare consta in aflarea unei multimi:
(1.3)
de numere reale, care permite ca prin intermediul unei functii de
masurare f sa se puna
in corespondenta fiecarui element xiI X un anumit element nj
Y.
Bazat pe aceste considerente, modelul matematic al masurarii este prezentat in fig.1.1.

Fig. 1.1. Modelul matematic al procesului de masurare.
Masurarea
este descrisa de functia:
Masurarea este deci atribuirea de numere marimilor astfel incat sa poata fi descrise relatiile cantitative dintre ele. Aceste numere se numesc valori ale marimii masurate.
Mijlocul tehnic necesar efectuarii acestei atribuiri il constituie mijlocul de masurare.
Daca masurarea ar fi ideala am obtine ca rezultat valoarea adevarata a marimii de masurat. In realitate, datorita imperfectiunilor mijlocului de masurare, datorita influentei unor factori perturbatori (temperatura, umiditate, semnale parazite etc.) ca si datorita limitelor operatorului uman informatia de masurare este afectata de erori.
Apare
necesitatea estimarii intervalului de incertitudine in care se afla
valoarea adevarata a marimii masurate, (de exemplu: U=220
1V). Cu cat acest interval este mai restrans cu atat valoarea
furnizata de mijlocul de masurare este mai apropiata de valoarea
adevarata, deci cu atat masurarea este mai buna, mai
exacta.
Exactitatea este calitatea cea mai importanta ce caracterizeaza o masurare.

Fig.1.2. Modelul cibernetic al procesului de masurare.
Din punct de vedere cibernetic (fig.1.2), procesul de masurare este considerat un sistem in care marimea de intrare X, supusa unor transformari succesive, apare la iesire sub forma unei marimi Y, operatia de masurare fiind descrisa de relatia:
Y =
f(X,I)
(1.4)
unde:
I - marimile de influenta ale procesului de masurare (temperatura, presiune, umiditate, etc.)
Df - eroarea de masurare.
Din definitiile prezentate se pot distinge urmatoarele componente ale procesului de masurare:
marimea de masurat - care constituie obiectul masurarii,
mijloacele de masurare - formate din aparatele de masura si etaloane si care reprezinta totalitatea mijloacelor tehnice cu ajutorul carora se determina cantitativ marimea de masurat,
metoda de masurare - reprezinta modalitate principiala de comparare a marimii de masurat cu unitatea de masura.
Marimea reprezinta o proprietate comuna a unei clase de obiecte, fenomene, procese, care poate fi deosebita calitativ si determinata calitativ.
Considerand (fig. 1.3) ca M este multimea marimilor existente in natura putem evidentia submultimea M1 corespunzatoare marimilor definibile (observabile) marimi pentru care se poate obtine o informatie care sa permita discriminarea lor calitativa.
Submultimea M1 include submultimea M2 corespunzatoare marimilor masurabile - marimi definibile pentru care este posibila atribuirea unui numar fiecarui element (aprecierea cantitativa) si pentru care s-a elaborat metoda de masurare si mijlocul de masurare prin care este posibila aceasta atribuire.

Fig.1.3. Marimi definibile si masurabile.
Deci, conditiile ca o marime sa fie masurabile sunt:
posibilitatea de a fi definita (observabilitatea),
posibilitatea construirii unei scale de masurare (totalitatea numerelor reale ce pot fi atribuite) adica definirea unor unitati de masura,
posibilitatea conceperii mijlocului de masurare pe baza unei metode de masurare.
Largirea necontenita a frontierelor cunoasterii adauga noi elemente la submultimea marimilor definibile M1 iar dezvoltarea stiintei masurarii conduce la absorbirea treptata a marimilor definibile de catre submultimea marimilor masurabile.
Pentru intelegere, se va da un exemplu simplu. Omul a putut detecta cu simturile sale starea de cald sau rece a corpurilor, deci temperatura ca marime a fost definibila din cele mai vechi timpuri. Temperatura a devenit insa marime masurabila numai cand au fost definite (de catre Celsius, Ferenheit, Kelvin) scarile de masurare si unitatile de masura functie de punctele caracteristice ale apei si s-au imaginat si construit primele termometre, bazate pe dilatarea substantelor sau alte fenomene dependente de temperatura (tensiunea termoelectromotoare, termorezistenta etc.).
Alte exemple mai apropiate de zilele noastre se pot da din domeniul marimilor electrice, magnetice, chimice etc.
Acest proces, indispensabil procesului cunoasterii, evidentiaza importanta masurarii pentru toate celelalte stiinte.
Activitatea umana din orice domeniu de activitate presupune masurarea a numeroase marimi fizice. In domeniul energetic si electrotehnic automatizarea si controlul proceselor, verificarea calitatii produselor, intretinerea masinilor si aparatelor electrice, presupun masurarea a numeroase marimi electrice, magnetice si neelectrice masurare care se face pe cale electrica. Scopul cursului este de a prezenta studentilor mijloacele si metodele de masurare electrica care sa le permita determinarea valorica a largi game de marimi fizice, cum ar fi:
marimi electrice: tensiunea electrica, curentul electric, puterea electrica, energia electrica, frecventa, defazajul, rezistenta electrica, inductivitatea, capacitatea, sarcina electrica, etc.
marimi magnetice: fluxul magnetic, inductia magnetica, intensitatea campului magnetic. De asemenea sunt prezentate masurarile utilizate la determinarea caracteristicilor materialelor feromagnetice.
marimi neelectrice: marimi termice (temperatura, flux termic, cantitate de caldura), marimi geometrice si mecanice(deplasari, lungimi, deformatii, eforturi, forte, presiuni, nivele debite, turatii, viteze, vibratii, acceleratii etc.), marimi fizice (densitate, vascozitate, intensitate luminoasa, flux luminos etc.), marimi chimice (concentratii, pH etc.)
Clasificarea acestor marimi se poate face dupa diverse criterii, cum ar fi:
marimi active - sunt marimile masurabile ce permit eliberarea energiei de masurare (exemplu: tensiunea electrica, intensitatea curentului electric, etc.). Raportul dintre energia totala si cea folosita pentru masurare trebuie sa fie cat mai ridicat, asa incat prin operatia de masurare sa nu afecteze valoarea marimii masurate.
marimi pasive - sunt marimile masurabile care nu poseda o energie proprie disponibila a fi utilizata in procesul de masurare si pentru masurarea carora este necesar sa se recurga la o sursa de energie auxiliara (energie de activare). Exemple: rezistenta electrica, inductivitatea, capacitatea electrica.
marimile
masurabile constante sunt cele invariabile in timpul masurarii.
Timpul de masurare Tm
(0,1-10)s depinde in principal de timpul de raspuns al
aparatului si de durata necesara transmiterii informatiei de
masurare.
marimile variabile stationare sunt cele a caror valoare efectiva, de varf si medie sunt constante in timp. Se pot masura: valoarea instantanee corespunzatoare unui anumit moment, valoarea medie Xm, valoarea efectiva X, valoarea de varf Xmax etc.
marimile variabile nestationare - se pot masura: valoarea instantanee la un anumit moment, un sir de valori instantanee (curba marimii in functie de timp) sau valoarea medie pe un interval de timp.
marimi de grad 0 - definita de obicei ca un raport de marimi (de exemplu: R=U/I, C=Q/U etc.) ce caracterizeaza de obicei un parametru.
marimi de grad 1 - definita prin ecuatii de gradul 1 (de proportionalitate) si care exprima intensitatea unui fenomen (de exemplu: I - curentul electric, U - tensiunea electrica, H - intensitatea campului magnetic, B - inductia magnetica etc.
marimi de gradul 2 - definita ca un produs de doua marimi caracterizand puterea sau energia din sistem (de exemplu: P=UI, Wm=BH/2 - energia campului magnetic, We=QU/2 - energia campului electric al uni condensator etc.)
Nu toate marimile electrice si magnetice se pot masura direct in tehnica actuala. Masurarea unora dintre aceste marimi, fie nu prezinta importanta practica, fie se determina indirect in functie de marimi masurate direct.
Tabelul 1.1. Marimi electromagnetice direct masurabile
|
Marimea fizica |
Simbol |
Interval de frecventa Hz |
Intervalul de valori masurabile |
|
Rezistenta Capacitate Inductivitate Impedanta Reactanta Factor de calitate Factor de pierderi in dielectric Permitivitate relativa Permeabilitate relativa |
R C L Z X Q
er mr |
10-18-100 F 10-10-106 H |
|
|
Intensitate curent electric Tensiune electrica Sarcina electrica Flux magnetic Intensitate camp electric Inductie magnetica |
I U Q
K B |
0-108 0-109 0 0 0-1010 0-105 |
10-15-105A 10-10-106V 10-15-10-1C 10-6 102Wb 10-8-106V/m 10-9-10T |
|
Putere electrica activa Putere electrica reactiva Putere aparenta Energie electrica |
P Q S W |
10-8-108W 1-108 var 1-109 VA 10-2-1011kWh |
In Tabelul 1.1. sunt prezentate principalele marimi pentru a caror masurare directa exista mijloace si metode de masurare cunoscute si utilizate in prezent. Se indica orientativ intervalul de frecvente in care se face masurarea acestor marimi si intervalul de valori masurabile in practica.
Valoarea masurata a unei marimi se exprima printr-un numar real urmat de unitatea de masura respectiva.
Unitatea de masura este de aceeasi natura cu marimea de masurat si poate fi aleasa arbitrar.
Pentru coordonarea si simplificarea relatiilor matematice ce caracterizeaza fenomenele fizice a fost necesar sa se grupeze unitatile de masura intr-un sistem de unitati de masura.
Un astfel de sistem de unitati de masura este constituit din unitati de masura fundamentale adoptate prin conventii internationale si din unitati de masura derivate definite in functie de unitatile fundamentale prin ecuatii ale caror coeficienti numerici sa fie unitari.
O unitate fundamentala poate fi adoptata prin conventie din cele care caracterizeaza marimile esentiale ale domeniului de marimi fizice (domeniul electromagnetic, timp spatiu etc.), celelalte putand fi exprimate functie de aceasta, prin ecuatii date de legile cunoscute ce actioneaza in domeniul respectiv.
Alegerea acesteia s-a facut insa dupa anumite conditii obligatorii.
Conditiile pe care trebuie sa le indeplineasca marimile si unitatile fundamentale sunt:
sa caracterizeze fenomenele din domeniul respectiv avand proprietati de invarianta in timp si spatiu,
sa poata fi reproduse usor sub forma de etaloane,
relatiile stabilite intre unitatile fundamentale si cele derivate trebuie sa fie simple pentru a inlesni realizarea unitatilor derivate.
Istoria stiintei si tehnicii cunoaste un numar mare de sisteme si unitati de masura, diferind intre ele prin alegerea unitatilor fundamentale si prin definirea celor derivate CGS, MKS, MTS etc.
In anul 1960, la cea de-a 11-a Conferinta Generala de Masuri si Greutati de la Paris, s-a adoptat Sistemul International de Unitati (SI) care are:
7 unitati fundamentale
- metru - pentru lungime, kilogram - pentru masa, secunda - pentru timp, amperul - pentru intensitatea curentului electric, kelvin - pentru temperatura termodinamica, mol - pentru cantitatea de substanta, candela - pentru intensitatea luminoasa ;
2 unitati suplimentare
- radian - pentru unghi plan, steradian - pentru unghi solid;
35 unitati derivate
- acestea se pot deduce prin relatii matematice din unitatile fundamentale.
Definitiile unitatilor fundamentale s-au schimbat in decursul timpului functie de posibilitatile tehnice de materializare a etalonului si transmiterea acestuia. Definitiile actuale ale unitatilor fundamentale SI sunt:
metrul (m) - reprezinta distanta parcursa de lumina in vid pe durata a 1/299792458 s.
kilogramul (kg) - este definit ca masa prototipului de platina aliata cu iridiu adoptat in 1889 de catre CGM si pastrata la Biroul International de Masuri si Greutati din Svres din Franta.
secunda (s) - este definita ca durata de timp egala cu 9192631770 perioade ale radiatiei emise de izotopul de cesiu Cs133 la tranzitia intre cele doua nivele de energie hiperfine ale starii fundamentale.
amperul (A) - este definit ca intensitatea unui curent electric constant care strabatand doua conductoare paralele, rectilinii, infinit lungi, asezate in vid la distanta de 1m unul de altul, produce o forta de interactiune intre ele de 2.10-7 N/m.
kelvinul (K) - este unitatea de temperatura ce reprezinta fractiunea de 1/273,16 din temperatura termodinamica a punctului triplu al apei.
candela (cd) - reprezinta intensitatea luminoasa, intr-o directie prestabilita, a unei surse de lumina ce emite o radiatie monocromatica cu frecventa de 5,4.1024Hz (l mm) si a carei intensitate energetica este de 1/683W/sr.
molul (mol) - este definita ca reprezentand cantitatea de substanta a unui sistem care contine atatea entitati elementare (atomi, molecule, ioni) cati atomi exista in 0,012kg de carbon C12 adica 6,02.1023atomi.
Unitatile suplimentare se definesc in felul urmator:
radianul (rad) - este definit ca unghiul plan cuprins intre doua raze ale unui cerc ce delimiteaza pe circumferinta o lungime de arc egala cu raza cercului.
steradianul (sr) - este definit ca unghiul solid care, avand varful in centrul unei sfere delimiteaza pe suprafata acesteia o arie egala cu patratul razei sferei.
|
Factor de multiplicare |
Prefixul |
Simbolul |
Factor de multiplicare |
Prefixul |
Simbolul |
|
exa peta tera giga mega kilo hecto deca |
E P T G M k h da |
deci centi mili micro nano pico femto atto |
d c m
n p f a |
Aceste reguli sunt:
denumirile unitatilor se scriu cu litere mici (metru, newton, kelvin),
simbolurile se scriu cu litere mici (m, s, cd, mol) cu exceptia celor ce deriva din nume proprii (K,W,N), pluralul se formeaza dupa regulile gramaticale din limba romana (secunda - secunde, volt - volti).
pentru formarea multiplilor si submultiplilor se utilizeaza prefixe care se scriu fara spatiu fata de unitate (kilometru - km, megawatt - MW)
Romania a adoptat Sistemul International de Unitati (SI) in 1961 si incepand de la acea data este singurul sistem se unitati de masura legal si obligatoriu in tara noastra.
Metoda de masurare reprezinta ansamblul de principii si mijloace utilizate la efectuarea masurarii cu scopul ca rezultatul obtinut sa reprezinte cat mai corect valoarea marimii masurate si sa satisfaca cerintele de utilizare.
Diversitatea marimilor de masurat, mijloacele si scopurile diverse in care sunt facute masurarile , au condus la elaborarea unei mari diversitati de metode de masurare, ce pot fi clasificate din diferite puncte de vedere.
Clasificarea principala a metodelor electrice de masurare, dupa modul de obtinere a valorii marimii masurate, este urmatoarea:
|
Metode electrice de masurare : |
directa | |
|
indirecta | ||
|
prin comparatie : |
de compensatie |
|
|
de substitutie |
||
|
de coincidenta |
||
|
de baleiaj |
||
|
de punte |
||
|
diferentiala |
Este cea care permite obtinerea nemijlocita a valorii masurate folosindu-se un singur aparat de masurare. Aparatele realizate pe baza acestei metode sunt foarte numeroase, analogice sau numerice: ampermetre, voltmetre, etc.
Este metoda prin care rezultatul masurarii se obtine prin calcul, utilizand date furnizate de alte masurari.
Exemple: masurarea rezistentelor electrice prin metoda ampermetrului si voltmetrului, masurarea capacitatii electrice prin aceeasi metoda etc.
Se bazeaza pe utilizarea pe etaloane care furnizeaza marimea de comparatie. Aparatul de masurare are rolul de a asigura egalitatea dintre marimea de masurat si cea de comparatie.
In cazul metodei de substitutie - marimea de masurat si cea de comparatie se introduc pe rand in circuit urmarindu-se obtinerea aceluiasi rezultat la aparatul de masurare in ambele cazuri. Valoarea marimii de masurat este egala cu valoarea marimii de comparatie in momentul in care se obtine acelasi rezultat la aparatul de masurare prin introducerea marimii de comparatie ca si in cazul marimii de masurat.
In cazul metodei de coincidenta - marimea de comparatie este suprapusa peste marimea de masurat in cadrul aparatului de masurare si este variata pana la aparitia unui fenomen care indica o coincidenta, in acel moment putandu-se aprecia valoarea marimii de masurat.
In cazul metodei de baleiaj se face comparatia intre o marime de masurat constanta X si marimea de comparatie M variabila dupa o lege cunoscuta (Fig.1.4.)
Evaluarea marimii x se face prin semnalarea momentului schimbarii semnului diferentei:
D = X - M (1.5)
sau prin impulsurile generate in intervalul de timp dintre trecerea prin zero a marimii M si momentul coincidentei ( D = 0 )
In cazul metodei de punte - marimea de masurat este comparata cu o marime cunoscuta si variabila in cadrul unui montaj in punte.

Fig.1.4. Metoda de masurare diferentiala.
Este o combinatiei de metode. Aparatul de masurare masoara diferenta:
(1.6)
intre marimea de masurat X si marimea de comparatie etalon M, cunoscuta cu precizie.
Rezultatul masurarii este:
(1.7)
metode de laborator - efectuate in mod repetat, cu aparate cu precizie ridicata, timpul afectat masurarii fiind mai putin important, rezultatele fiind totdeauna evaluate din punct de vedere al exactitatii, estimandu-se intervalul de incertitudine (calculul erorilor de masurare)
metode industriale - efectuate cu aparate mai putin sensibile dar robuste, integrate procesului tehnologic, viteza de masurare fiind uneori foarte importanta. Scopul urmarit este mentinerea sub control a marimii masurate.
b) Dupa regimul de variatie in timp al marimii de masurat, se cunosc:
masurari statice - marimile masurate sunt constante in intervalul de timp in care se desfasoara procesul de masurare.
masurari dinamice - marimile masurate sunt variabile in timpul masurarii.

a) b)
Fig. 1.5. Afisarea rezultatului la aparatele de masurare
a) analogice; b) numerice (digitale)
c) Dupa modul de obtinere al valorii masurate:
masurari analogice - intre marimea de masurat X si marimea de iesire Y exista
o relatie continua (uzual de proportionalitate) iar valoarea masurata se obtine prin aprecierea pozitiei unui ac indicator sau spot luminos in raport cu reperele unei scari gradate. (fig. 1.5. a)
masurari numerice (digitale) - masurarea se efectueaza discontinuu, repetandu-se la intervale egale de timp, valoarea masurata fiind prezentata sub forma numerica pe un afisaj. (fig. 1.5 b)
Ierarhia MEM se stabileste in principal in functie de exactitatea (precizia) cu care se obtine valoarea masurata. MEM ce utilizeaza doua aparate de masurare (de exemplu, MEM indirecta) prezinta o precizie mai scazuta.
MEM directe, se utilizeaza pentru masurari de precizie medie, cu aparatele analogice obtinandu-se precizii de 0,2-1%, iar cu aparatele digitale precizia creste uzual la 0,01
In cazul MEM de zero se urmareste echilibrarea circuitului de masurare pana cand indicatorul de nul arata ca s-a stabilit un curent de intensitate nula.
Astfel, datorita sensibilitatii mari a indicatorului de nul, precizia de masurare este determinata numai de exactitatea cu care sunt cunoscute marimile etalon ce intervin in schema. De aceea, MEM de punte si MEM de compensare sunt masuri de mare precizie (0,02
Mijloacele electrice de masurare (MEM) reprezinta ansamblul mijloacelor tehnice care materializeaza si conserva unitatile de masura si furnizeaza informatii de masurare. Componentele principale sunt:
masura - mijlocul de masurare ce materializeaza una sau mai multe valori ale unei marimi fizice, de exemplu rezistoare electrice, condensatoare electrice, etc.
instrumentul de masurare - cea mai simpla asociere de dispozitive si elemente care poate furniza informatii de masurare, marimea masurata fiind raportata la o scara de repere, de exemplu: subler, balanta, instrumentul magnetoelectric, instrumentul electrodinamic, etc.
aparatul de masurare - mijlocul de masurare constituit pe baza unei scheme ce contine mai multe convertoare electrice de masurare, de exemplu: ampermetru, voltmetru, etc.
Reprezentarea generala a unui aparat de masurare este prezentata in Fig.1.6.

Fig. 1.6 .Aparatul de masurare - reprezentarea generala
Se disting:
aparate de masurare analogice,
aparate de masurare numerice (digitale),
punti si compensatoare
Aparatele de masurare analogice (cu spot sau ac indicator) sunt aparate la care legea de corespondenta intre marimea de masurat X, aplicata la intrare si rezultatul masurarii Y, obtinut la iesire, este o functie continua (fig. 1.7).

Fig. 1.7. Dependenta Y = f(X) la un aparat analogic.
Aparatele de masurare digitale sunt aparate la care rezultatul masurarii este prezentat direct sub forma numerica, ca urmare a esantionarii, cuantificarii si codificarii.
Esantionarea este operatia de prelevare, la anumite momente, a amplitudinii marimii de masurat.
Cuantificarea consta in discretizarea esantionului prelevat prin compararea lui cu o subdiviziune a domeniului de masurare numita cuanta, rezultatul fiind un numar intreg obtinut prin aproximare (rotunjire sau trunchiere). Dependenta intre marimea de masurat si rezultatul masurarii este deci o functie discontinua (fig.1.8)
Exactitatea masurarii depinde foarte mult de marimea cuantei.
Codificarea are rolul de a atribui numere marimii cuantificate, utilizandu-se un anumit cod numeric, de obicei binar. Pentru afisarea in cod zecimal a rezultatului se utilizeaza un decodificator care comanda direct afisajul, in functie de tipul acestuia.

Fig. 1.8. Dependenta Y=f(X) la un aparat digital.
instalatia de masurare - ansamblul de aparate de masurare, marimi si dispozitive anexa, reunite printr-o schema sau metoda comuna si care servesc pentru masurarea unuia sau mai multor marimi, de exemplu: compensatorul de curent continuu, inregistratorul electronic, puntea tensometrica etc.
In functie de destinatia lor, mijloacele electrice de masurare se clasifica in etaloane si mijloace de lucru.
In ultimele decenii, odata cu dezvoltarea informaticii si implementarea ei in domeniul masurarilor, a aparut si conceptul de sistem de masurare.
Sistemul de masurare este definit ca ansamblul de senzori si traductoare, conditionere, retele informatice sau de transmisie a semnalelor, sisteme de achizitii de date, aparate de masurare conectate la o magistrala de comunicatii etc., acest ansamblu fiind condus de un calculator (microcontroler, microprocesor, PC etc.) pe baza unui program elaborat de utilizator pentru efectuarea automata a masurarilor in vederea gestionarii si controlului unui proces industrial. Deoarece in ultimii ani se tinde spre utilizarea unor unitati independente de masurare si actionare (actuator), dotate cu inteligenta proprie, conectate la magistrale informatice ce le subordoneaza unui sistem informatic central, ierarhizat, a aparut si notiunea de sistem distribuit de masurare (cu inteligenta distribuita).
Sunt realizari tehnice concrete capabile sa furnizeze marimi reprezentand unitatile de masura, multiplii sau submultiplii acestora.
Necesitatile practice au determinat elaborarea de sisteme ierarhizate de etaloane corespunzatoare urmatoarelor functiuni:
etaloane de definitie - furnizeaza principalelor unitati de masura in conformitate cu definitiile acestora.
etaloane de conservare - asigura conservarea acestor unitati de masura in cadrul laboratoarelor metrologice.
etaloane de transfer - se utilizeaza pentru corelarea intre ele a diverse unitati, efectuarea operatiilor de etalonare si verificare a celorlalte mijloace de masurare in faza de constructie si in perioada de exploatare.
In functie de exactitate, etaloanele se impart in etaloane primare, etaloane secundare si de lucru. Etaloanele primare (nationale ) sunt pastrate la Institutul National de Metrologie (INM) si sunt comparate periodic cu etaloanele internationale pastrate la Biroul International de Masuri si Greutati cu sediu la S vres (langa Paris). Etaloanele secundare se pastreaza la INM si la laboratoarele metrologice regionale si servesc la verificarea etaloanelor de lucru. Etaloanele de lucru doteaza toate laboratoarele metrologice autorizate si servesc la etalonarea si verificarea mijloacelor de masurare de uz curent.
Etaloanele de definitie sunt cele care materializeaza - de regula printr-un experiment - definitia unei anumite unitati de masura. Etaloanele de definitie au evoluat de la realizarile initiale de prototipuri din materiale cu o cat mai buna stabilitate, la instalatii moderne, sofisticate, ce utilizeaza noile cuceriri din domeniul fizicii atomice ce conduc la valori determinate cu mare finete si foarte buna reproductibilitate (vezi definirea unitatii de masura pentru lungime sau timp).
Ca exemple de etaloane de definitie pentru curent (amperul) si tensiune (voltul) sunt date: balanta de curent (fig.1.9.) si jonctiunea cu efect Josephson.
Balanta de curent utilizeaza efectul electrodinamic ce consta in aparitia unor forte intre conductoare (bobine) parcurse de curenti. Aceasta forta este echilibrata prin intermediul unei balante cu brate inegale cu ajutorul unor greutati determinate corespunzator astfel ca la echilibru:
(1.8)

Fig.1.9. Etalonul amperului ce utilizeaza balanta de curent.
Exactitatea asigurata de acest etalon este de 10-6 10-8, insa realizarea sa este foarte costisitoare si ea se afla la cateva laboratoare de prestigiu din tarile bogate (PTB- Physikalische Technische Bundesanstalt, din Germania, NPL - National Physical Laboratory, Anglia etc.)
In cazul etalonului de definitie al voltului se utilizeaza o jonctiune tunel formata din doua elemente supraconductoare separate printr-un dielectric subtire caruia i se aplica o tensiune continua. Apare in acest caz un curent de frecventa proportionala cu tensiunea aplicata. Astfel o tensiune de 1mV produce o frecventa de 483,6MHz. (efect Josephson). Controlandu-se frecventa se poate sti cu precizie tensiunea.
Cel mai exact etalon realizat in prezent este cel de timp-frecventa. Astfel pentru secunda sau dat mai multe definitii printre care amintim:
Timpul universal (TU) are la baza secunda anului tropic(1900) definita drept 1/86400 din ziua solara medie care are ca referinta meridianul zero ce trece prin Greenwich (GMT). Eroarea este de minimum 10-8.
Timpul Efemeridelor (TE) are ca referinta secunda definita pe baza rotatiei pamantului in jurul soarelui: fractiunea de 1/31556925,9747 din anul tropic 1900.
Timpul atomic (TA) are la baza secunda definita functie de frecventa naturala a etalonului atomic cu Cesiu 133, la care exactitatea este de ordinul a 10-12. (1s=9192631770 perioade ale radiatiei emise de izotopul de cesiu Cs133).
Etalonul de frecventa deriva din etalonul de timp, secunda, realizat pe baza rezonatorului cu Cesiu 133 a carui frecventa naturala este de n=9,192631770 GHz. Oscilatiile se obtin la tranzitia atomilor de valenta de pe un nivel energetic inferior pe unul superior, cand este excitat cu energie exterioara, si trecerea lui inapoi cu emisia unei cuante de energie, cand excitatia inceteaza.
unde h = constanta lui Plank
Utilizandu-se ca excitatie un camp electromagnetic de frecventa n se obtine un rezonator cu frecventa foarte stabila. Se mai utilizeaza in afara cesiului si rubidiu sau hidrogenul dar mai rar din cauza unor dificultati suplimentare de realizare.
Alte etaloane de definitie se realizeaza pentru rezistenta, cu exactitati de 0,001 0,005% (etaloane primare si secundare) sub forma unor rezistoare etalon din manganin in 14 valori nominale 10-4 W, pentru capacitate, sub forma unor condensatoare etalon (tip Thomson-Lampard) cu exactitati mai bune de 0,001%.
Pentru inductivitati se realizeaza bobine de inductivitate proprie etalon sub forma de bobine plate sau toroidale cu exactitati mult mai mici, de ordinul 0,05 05% (valorile nominale fiind in gama 0,1mH 10H).
Etaloanele de conservare sunt obtinute prin intermediul unor obiecte sau fenomene caracterizate printr-un parametru fizic foarte stabil in timp si fata de influentele exterioare. Ca exemple de etaloane de conservare pentru domeniul electric se pot cita: etaloanele de tensiune, de rezistenta, de capacitate, de inductivitate, de timp-frecventa etc.
Exemple de etaloane de conservare pentru tensiune sunt elementul normal (Veston) si cel realizat cu stabilizator cu dioda Zenner termocompensata (fig. 1.9). Etalonul Veston este un element galvanic, cu anodul din mercur si catodul din amalgam de cadmiu, electrolitul fiind o solutie saturata de sulfat de cadmiu (cristale de sulfat de cadmiu la catod). Ca depolarizant, la anod, se utilizeaza sulfatul mercuros.


a) b)
Fig.1.10.Etaloane de conservare pentru tensiune
a) Elementul Veston; b) Etalonul cu dioda Zenner termocompensata
Tensiunea electromotoare a elementelor normale saturate, la 20 C, este cuprinsa intre 1,01854V si 1,01870V iar variatia cu temperatura este perfect cunoscuta si data in tabele. Exactitatea este de 0,001 0,005% iar deriva in timp, de 1 mV/an. Se construiesc si elemente Veston nesaturate dar exactitatea lor este mai mica cu un ordin de marime. Ele pot furniza curenti de maximum 10mA, sunt fragile si scumpe.
Etaloanele de tensiune cu diode Zenner sunt mai robuste, pot fi realizate pentru mai multe tensiuni sau chiar reglabile in trepte, pot livra curenti mai mari si au performante de exactitate de acelasi ordin de marime ca si elementele Veston.
Clasele de exactitate ale elementelor normale utilizate in laboratoarelor metrologice sunt: 0,001; 0,002; 0,005.
Etaloanele de conservare pentru alte marimi electrice cum ar fi cele pentru curent, rezistenta, capacitate inductivitate, etc., se realizeaza astfel ca sa fie mult mai usor de utilizat si mai robuste dar avand o clasa de exactitate cu 1 2 ordine de marime mai mica.
Astfel pentru curent se utilizeaza legea lui ohm masurandu-se tensiunea la bornele unui rezistor etalon (c=0,001 0,005) cu un compensator de curent continuu (c=0,01
Etaloanele de transfer asigura etalonarea diverselor tipuri de aparate de masurare pentru domenii largi de variatie ale marimilor de masurat. Ele sunt aparate de masurare de executie speciala, de mare exactitate. Se pot aminti:
etaloane de raport: compensatoare de curent continuu de mare precizie, divizoare de precizie, divizoarele inductive de tensiune, puntile de precizie, etc.
etaloane de derivare: suntul-permite masurarea indirecta a curentului electric prin masurarea caderii de tensiune la bornele suntului, etalonul de flux magnetic - pentru masurarea fluxului magnetic in functie de curent si inductivitate.
etaloane de transfer curent alternativ/curent continuu - bazate pe dispozitive care compara o marime alternativa cu o marime continua corespunzatoare, observandu-se egalitatea efectelor termice sau electrodinamice exercitate de ambele marimi asupra unui element sensibil.
Mijlocul electric de masurare stabileste o dependenta intre marimea de masurat si o alta ce poate fi perceputa in mod nemijlocit de organele de simt umane, astfel incat permite determinarea valorii marimii respective pe baza unei scari de masurare.
Mijlocul electric de masurare constituie un lant de masurare si de aceea poate fi reprezentat printr-o schema functionala ale carei elemente le vom numi, in general, convertoare de masurare si care pot fi de trei tipuri: convertoare de intrare, convertoare de prelucrare, convertoare de iesire.
Convertoarele de intrare (senzori sI traductoare) transforma marimea de masurat intr-un semnal electric: curent, tensiune, numar de impulsuri, etc.
Convertoarele de prelucrare (amplificatoare, circuite de mediere, circuite de comparare, etc.) transforma semnalul electric astfel incat sa poata actiona convertorul de iesire.
Convertoarele de iesire permit citirea sau inregistrarea valorii masurate.
Schema functionala a unui aparat analogic pentru masurarea unei marimi active este prezenta in fig.1.10.a).

a)

b)
Fig. 1.10.Schema functionala a unui aparat analogic.
a) pentru marimi active, b) pentru marimi pasive
In cazul marimilor pasive acestea nu pot furniza energia formarii semnalului metrologic si se face apel la o marime exterioara fenomenului - marime de activare - ce poate furniza energia necesara masurarii si care este modulata de catre marimea de masurat (fig. 1.10. b)
Schema functionala a unui aparat digital de prima generatie (cu logica cablata), este foarte asemanatoare, inlocuindu-se convertorul de iesire (instrumentul electric de masurare) cu un convertor analog-digital si un circuit de afisare numeric.
Aparatele numerice din generatiile urmatoare (cu microprocesor), au scheme functionale diferite si mult mai complexe, ele fiind prezentate in capitolele respective.
Sunt caracteristici referitoare la comportarea aparatelor de masurare in raport cu marimea masurata, cu mediul ambiant si cu beneficiarul masurarii. Se exprima prin parametrii functionali privind marimea de intrare, marimea de iesire, marimile de influenta, fara sa implice structura interna a mijlocului de masurare.
Principalele caracteristici metrologice ale unui mijloc de masurare sunt:
a) Intervalul de masurare - reprezinta intervalul de valori ale marimii de masurat pe intinderea caruia un mijloc de masurare poate furniza informatii de masurare cu erori limita prestabilite. Intervalul de masurare este cuprins intre o limita inferioara Xmin si o limita superioara Xmax. Pentru marirea exactitatii de masurare mijloacele electrice de masurare se realizeaza cu intervalul de masurare impartit in mai multe game.
b) Sensibilitatea absoluta este raportul dintre variatia marimii de iesire si variatia corespunzatoare a marimii de intrare:
(1.9)
Se mai utilizeaza si notiunea de sensibilitate relativa care se defineste cu expresia:
(1.10)
Se mai utilizeaza, cu precadere la aparatele analogice notiunea de "prag de sensibilitate" definit ca cea mai mica valoare a marimii de intrare care determina o variatie distinct sesizabila a marimii de iesire (de exemplu 1/2 sau 1/3 dintr-o diviziune).
c) Rezolutia este cea mai mica variatie a marimii de masurat care poate fi apreciata pe dispozitivul de afisare al aparatului. Termenul de rezolutie este utilizat, cu precadere, pentru mijloacele de masurare la care marimea de iesire are o variatie discontinua. De exemplu, la aparatele digitale, rezolutia este egala cu o unitate a ultimului rang zecimal (un digit).
d) Finetea este calitatea unui aparat de a perturba cat mai putin prin prezenta sa marimea fizica masurata. Astfel, la un voltmetru, rezistenta de intrare cat mai mare constituie un parametru ce poate caracteriza finetea.
e) Puterea consumata este puterea absorbita de aparat de la fenomenul supus masurarii in cazul marimilor active sau de la marimea de activare, in cazul marimilor pasive. Aparatele analogice, in functie de tipul lor, pot consuma o putere pana la cativa wati, in timp ce aparatele electronice au consumuri mult mai mici. In cadrul unor metode de masurare cum ar fi comparatia, energia de masurare poate fi furnizata de aparat procesului de masurare de la o sursa auxiliara, caz in care consumul de la marimea masurata este nul. Puterea consumata de aparatul de masurare poate caracteriza, de asemenea, finetea acestuia.
f) Capacitatea de supraincarcare reprezinta proprietatea aparatului de a suporta, fara deteriorari, marimi de masurat care depasesc limitele intervalului de masurare.
De exemplu, un ampermetru cu clasa de exactitate c = 1 trebuie sa suporte timp de 2 ore o marime X=1,20 Xmax si timp de 0,5 secunde o marime X=10 Xmax, fara a-i fi afectate calitatile.
g) Exactitatea instrumentala reprezinta caracteristica aparatului de a da rezultate cat mai apropiate de valoarea adevarata a marimii de masurat. In acest domeniu se mai utilizeaza si notiunile de:
justete - calitatea ce exprima gradul de concordanta dintre valoarea medie obtinuta dintr-un numar mare de masurari repetate si valoarea de masurat.
fidelitate - este calitatea ce se refera la concordanta dintre mai multe rezultate ale masurarii aceleiasi marimi obtinute in conditii prescrise. Daca erorile aleatoare se obtin in cazul repetarii masurarii in conditii identice calitatea aparatului se numeste repetabilitate iar daca masurarea aceleiasi marimi se efectueaza in conditii diferite calitatea se numeste reproductibilitate.
exactitate - exprima gradul de concordanta dintre rezultatul unei masurari si o valoare furnizata de un aparat etalon acceptata ca adevarata.
Rezultatul masurarii in acest caz se exprima cu ajutorul incertitudinii de masurare, care este determinata de erorile de masurare calculate cu metodele expuse in paragraful 1.7.
X = Xmas DX (1.11)
La un mijloc de masurare analogic, intervalul de incertitudine este dat de incertitudinea instrumentala. Mijloacele de masurare ce au incertitudinea de masurare cuprinsa intre aceleasi limite formeaza o clasa de exactitate notata cu un indice. Valorile pentru indicii clasei de exactitate sunt standardizate si sunt multipli de 1, 2 si 5 (cu unele exceptii puse intre paranteze): 0,001; 0,002; 0,005; 0,01; 0,02; 0,05; 0,1; 0,2; 0,5; 1; (1,5); 2; (2,5); 5.
Pentru aparatele numerice modul de caracterizare al exactitatii (formula de calcul a erorii) este dat in cartea tehnica functie de caracteristicile marimii de masurat si de conditiile de utilizare (domeniul de frecventa, temperatura etc.).
La aparatele analogice utilizate in conditii de referinta (marimile de influenta se afla in intervalele prevazute de constructor) cu indice clasei de exactitate se poate determina eroarea intriseca (eroarea instrumentala maxima admisibila) pentru gama pe care se face masurarea.
Astfel , daca se masoara cu un voltmetru avand c = 0,5 pe gama de Umax=120V, eroarea instrumentala tolerata pe aceasta gama, numita si eroare intriseca, are valoarea:
In cazul cand parametrii de influenta externi se situeaza in afara intervalelor de referinta dar in intervalele de utilizare ale aparatului (prevazute tot de constructor) trebuie calculate si erori suplimentare conform normelor specifice sau cartii tehnice a aparatului.
h) Fiabilitatea metrologica reprezinta probabilitatea ca aparatul de masurare sa functioneze corect un timp dat, fiind utilizat in mod corespunzator scopului pentru care a fost realizat.
Calitatea unui aparat de masurare este caracterizata nu numai prin faptul ca el corespunde normelor de performante, ci si prin aptitudinea lui de a-si conserva aceste performante in timp.
Aparatul
de masurare este un sistem reparabil, adica in momentul in care se
constata ca nu mai are performantele nominale, poate fi reparat
si apoi utilizat din nou. Exista deci intervale de timp
in care
functioneaza si intervale de timp
in care este supus
reparatiilor (fig.1.11)

Fig. 1.11.Intervalele de timp de functionare si de reparatii.
Aprecierea fiabilitatii se face cu ajutorul unor indicatori statistici ai fiabilitatii:
media timpului de buna functionare
(1.12)
media timpului de reparatii
(1.13)
rata caderilor (rata defectarilor)
(1.14)
rata reparatiilor
(1.15)
disponibilitatea aparatului de masurare
(1.16)
functia de fiabilitate
in care:
(1.17)
unde:
R(t) - functia de fiabilitate, furnizeaza probabilitatea ca un aparat de masurare sa nu se defecteze pana la timpul t.
F(t) - reprezinta probabilitatea ca un aparat de masurare sa se defecteze in orice moment pana la timpul t.
f(t) - functia densitatii de probabilitate a repartitiei defectelor.
Urmarirea in exploatare a aparatelor de masurare poate sa furnizeze direct rata defectarilor l
Pentru un aparat de masurare normal, rata defectarilor are evolutia conform graficului din fig. 1.12.

Fig. 1.12. Evolutia ratei defectarilor pentru un aparat de masurare.
Zona I corespunde tineretii aparatului. Este zona defectarilor premature datorita unor deficiente de proiectare, productie sau control. Defectele se elimina prin reparatiile si verificarile din perioada de garantie.
Zona II este practic perioada de viata utila a aparatului, defectele aparand aleator. Comportarea in aceasta zona poate fi descrisa de o functie de densitate de probabilitate:
(1.18)
deci:
(1.19)
Zona III este zona de batranete a aparatului cand incepe sa aiba loc defectari din ce in ce mai frecvente datorita uzurii.
In multe cazuri, din cauza evolutiei tehnologice rapide, poate aparea uzura morala a mijlocului de masurare, caz in care el nu mai corespunde din punct de vedere al vitezei de masurare, al exactitatii sau al productivitatii in general. Astfel el va fi inlocuit inainte de a intra in zona a III-a a perioadei de folosire din ratiuni economice.
Fiabilitatea este un parametru impus prin tema de proiectare pentru un aparat de masurare.
Constructorii
sunt acum obligati prin lege sa indice pentru fiecare tip de aparat
de masurare cel putin unul din parametrii de fiabilitate MTBF,
sau
si nivelele de incredere cu care au fost stabiliti.
Determinarea experimentala a indicatorilor de fiabilitate se desfasoara pe loturi de aparate luate din productia curenta.
Clasele de fiabilitate sunt prezentate in tabelul 1.3.
Tabelul 1.3 Clasele de fiabilitate
|
Clasa de fiabilitate |
|
|
|
|
| |||
|
| |||
|
| |||
|
| |||
|
|
In regim dinamic, marimea de intrare x(t) aplicata MEM este variabila in timp rezultand la iesire tot o marime y(t) dependenta de timp. Relatia dintre aceste marimi este, in general, o ecuatie diferentiala de ordinul n cu coeficienti constati:
(1.20)
Clasificarea mijloacelor electrice de masurare functie de gradul n al ecuatiei diferentiale ce descrie functionarea acestora este:
MEM de ordinul zero - ecuatia de functionare este o ecuatie diferentiala de ordin zero:
(1.21)
MEM de ordinul intai - ecuatia de functionare este o ecuatie diferentiala liniara cu coeficienti constanti, de ordinul intai:
(1.22)
MEM de ordinul al doilea - ecuatia de functionare este o ecuatie diferentiala liniara cu coeficienti constanti, de ordinul al doilea:
In majoritatea cazurilor, variatiile marimii de intrare nu pot fi urmarite instantaneu la iesire. In general, datorita inertiei, care poate fi de natura mecanica, termica sau electromagnetica, a amortizarilor dependente de viteza de variatie, evolutia in timp a intrarii se transmite cu intarziere la iesire si uneori cu abateri importante de la caracteristica statica.
Cunoasterea comportarii in regim dinamic este importanta atat pentru aparatele destinate vizualizarii si masurarii curbei de variatie in timp a marimii de masurat (osciloscoape, oscilografe, aparate inregistratoare) cat si pentru cele la care timpul de raspuns trebuie sa fie scurt (sunturi, divizoare de tensiune, instrumente de masurare, etc.). Informatii utile privind comportarea in regim dinamic se pot obtine prin rezolvarea ecuatiei diferentiale ce caracterizeaza aparatul la aplicarea unei marimi de intrare x(t) de forma standard.
Pentru caracterizarea comportarii in regim dinamic a mijloacelor de masurare electrice se utilizeaza doua categorii de caracteristici determinate in domeniul timp si in domeniul frecventa.
Se face in functie de raspunsul la functii de intrare standard:
a) Functia treapta (variatie instantanee a marimii de intrare - fig. 1.13.a)
(1.24)

a) b)
Fig. 1.13. Functii standard pentru caracterizarea in domeniul timp.
a) functia treapta, b) functia rampa.
Raspunsul la functia treapta se numeste raspuns indicial - g(t). Raspunsul indicial g(t) caracterizeaza complet comportarea dinamica a aparatului de masurat. Se poate arata ca daca se cunoaste g(t) se poate deduce raspunsul mijlocului de masurare la orice marime de intrare cu o variatie data in timp, In cazul unui aparat ideal functia indiciala g(t) este identica cu functia aplicata la intrare. In cazul unui aparat real functia tranzitorie este diferita de cea ideala (marimea de iesire nu poate urmari variatia brusca a marimii de intrare).

a) b)
Fig. 1.14. Raspunsuri la functia treapta
a) raspuns aperiodic, b) raspuns oscilator amortizat.
Indicatorii utilizati la aprecierea calitatii comportarii mijlocului de masurare in domeniu timp, cand la intrarea sa se aplica functia treapta, sunt:
- timpul de crestere Tcr se defineste ca fiind intervalul de timp in care semnalul creste de la valoarea de 10% pana la valoarea de 90% din valoarea de regim stabilizat.
In figura 1.14 se prezinta definirea timpului de crestere pentru raspunsuri de tip aperiodic (1.14.a) si oscilant (1.14.b)
Pentru raspunsul de tip oscilator amortizat se introduce in plus drept parametru de apreciere a comportarii in regim dinamic supracresterea s aceasta reprezentand depasirea maxima relativa a valorii de regim stabilizat.
- timpul de stabilizare (de raspuns) Ts - reprezinta intervalul de timp care trece de la aplicarea marimii de intrare si pana cand marimea de iesire atinge o valoare care se abate cu mai putin de o valoare prescrisa e fata de valoarea de regim stabilizat.
Aparatele mecanice si cele electromecanice sunt in general relativ "lente" cu un timp de stabilizare intre 1 si 10 s. Unele aparate electromecanice, care servesc la inregistrarea proceselor de viteza relativ mare, ajung la Ts =350 ms. Aparatele electronice numerice obisnuite, de laborator, pot avea Ts =0,11 s, iar cele speciale, folosite in sisteme de masurare au Ts =0,110 ms. Mai rapide sunt aparatele speciale pentru procese foarte rapide sau de scurta durata, cum sunt osciloscoapele, la care Ts ajunge de ordinul nano secundelor.
In unele cazuri se mai utilizeaza unii indicatori cum ar fi:
- factorul de amplificare - definit de relatia:
(1.25)
unde:
y - valoarea de regim stabilizat a marimii de iesire.
- eroarea dinamica - definita ca:
(1.26)
b) Functia rampa (variatia liniara a marimii de intrare - fig. 1.14.b)
(1.27)
Se realizeaza prin aplicarea la intrare a unui semnal sinusoidal de amplitudine constanta si frecventa variabila:
(1.28)
Considerand mijlocul de masurare liniar si pasiv, raspunsul lui va fi tot o marime sinusoidala.
(1.29)
Un mijloc de masurare este cu atat mai bun, cu cat marimea de la iesire reda mai fidel ca valoare si faza marimea aplicata la intrare.
Pentru caracterizarea comportarii in domeniul frecventa se utilizeaza caracteristica de frecventa:
(1.30)
Modulul functiei H(jw) se numeste caracteristica amplitudine-frecventa:
(1.31)
iar argumentul functiei H(jw) se numeste caracteristica faza-frecventa:
(1.32)
Pentru
un aparat ideal
si
, ceea ce inseamna ca marimea de iesire
este proportionala si in faza cu marimea de intrare,
oricare ar fi frecventa acesteia. In cazul unui aparat real, atat
caracteristica de amplitudine cat si caracteristica de faza
prezinta variatii cu frecventa. Aceasta inseamna ca
daca frecventa marimii de intrare este in afara domeniului de
referinta (stabilit de constructor) ea nu mai este redata corect
la iesire.
Un criteriu de calitate foarte utilizat privind aprecierea comportarii in domeniul frecventa a mijlocului de masurare este banda de frecventa.
Banda de frecventa - B - reprezinta intervalul de frecventa cuprins intre o
frecventa limita inferioara si o frecventa
limita superioara in care caracteristica de amplitudine nu scade sub
valoarea
din valoarea pe care o
are la o frecventa de referinta f0.

Fig.1.15. Caracteristici amplitudine frecventa caracteristice MEM.
a) caracteristica unui MEM numai pentru c.a.,
b) caracteristica unui MEM pentru c.c. si c.a.
Aceasta
scadere a amplitudinii de
echivaleaza cu o
atenuare de -3dB:
(1.33)
In fig.1.15.a este reprezentata banda de frecventa pentru un mijloc de masurare ce nu poate masura in curent continuu iar in fig. 1.15.b banda de frecventa pentru unul care masoara si in curent continuu.
Ca un mijloc de masurare sa indice corect o marime variabila este necesar ca spectrul de frecventa al acesteia sa fie inclus in banda de frecventa a aparatului.
Caracteristica de frecventa se poate determina analitic prin trei metode:
- metoda directa - consta in rezolvarea ecuatiei diferentiale ce descrie sistemul, aflandu-se y pentru fiecare pulsatie w a lui x. Metoda necesita, in general, calcule laborioase.
- metoda functiei de variabila complexa - utilizeaza scrierea in complex simplificat a expresiilor pentru marimea de intrare si iesire. Se obtine o expresie in complex care, scrisa sub forma raportului dintre marimea de iesire si cea de intrare, reprezinta, in modul, caracteristica de frecventa.
-
metoda
functiei de transfer. Se inlocuieste
in caracteristica de
transfer H(p), pentru a se
obtine:
(1.34)
Fiind caracterizat prin ecuatia diferentiala a0 y(t) = x(t) constituie mijlocul de masurare cel mai simplu si reprezinta cazul ideal in care marimea de iesire este proportionala cu marimea de intrare.
Un exemplu de MEM de acest tip il constituie traductorul rezistiv de pozitie. La acesta, rezistenta intre un capat si cursor este proportionala cu pozitia (fig.1. 16):
sau
(1.35)

Fig.1.16. Traductorul rezistiv de pozitie.
Caracteristicile de timp si frecventa sunt teoretic ideale. Practic, si in acest caz intervin rezistente parazite aleatoare la cursor, iar in cazul asocierii unei scheme de conversie a rezistentei in tensiune, pot sa apara si alte abateri de la caracteristica ideala datorita consumului convertorului de masurare conectat la traductor, datorita inductivitatilor si capacitatilor parazite, ce se manifesta la variatii rapide sau frecvente ridicate ale semnalului de intrare etc.
Acestea sunt caracterizate de ecuatia diferentiala:
(1.36)
sau daca se impart termenii cu a0:
(1.37)
unde: t - constanta de timp, S - sensibilitatea.
Pentru caracterizarea in domeniu timp se aplica la intrarea acestora (exemplu. circuite RL, RC din constructia aparatelor electrice, convertoare termice, etc.) o excitatie treapta:
x(t) = x0 l(t) (1.38)
rezulta semnalul de iesire
(1.39)
deci functia indiciala
(1.40)

Fig. 1.17. Raspunsul convertorului de ordinul I la excitatie treapta
si determinarea constantei de timp.
In
ecuatia (1.37)
reprezinta
constanta de timp si ea caracterizeaza viteza de raspuns a
convertorului. De asemenea constanta de timp reprezinta timpul dupa
care marimea de iesire a atins (1 - 1/e) = 0,632 din valoarea de
echilibru.
Constanta de timp nu se confunda cu timpul de raspuns care reprezinta timpul dupa care, cu o anumita eroare acceptata este obtinuta valoarea stabilizata.
Tabelul 1.4. Timpul de raspuns in functie de eroarea de masurare
|
Eroarea de masurare e |
% |
0,5 |
0,2 |
0,1 |
0,5 |
||||
|
Timpul de raspuns Tr |
S |
|
|
|
|
|
|
|
|
Din
tabelul 1.4 se constata ca pentru o eroare de 1%, timpul de
raspuns - care se noteaza
- este de
, iar pentru o eroare de 0,1% timpul de raspuns este
Pentru analiza comportarii in frecventa se aplica un semnal sinusoidal de amplitudine constanta si pulsatie variabila.
Considerand ecuatia diferentiala:
(1.41)
si utilizand calculul in complex simplificat se obtine caracteristica de frecventa
(1.42)
(1.43)
- caracteristica amplitudine - frecventa (fig. 1.19 a)
(1.44)
- caracteristica faza-frecventa (fig. 1.19 b)
(1.45)

Fig.1.18. Caracteristicile de frecventa ale MEM de ord. I
a) caracteristica amplitudine-frecventa, b) caracteristica faza-frecventa
Banda de frecventa este cuprinsa intre w = 0 si w t. Demonstratie se poate face imediat:
(1.46)
Exemplu: Sa se determine raspunsul unui element de ordinul I cu t = 0,1s la aplicarea unui semnal sinusoidal:
O ecuatie diferentiala de ordinul al doilea caracterizeaza sistemele oscilante simple, mecanice (masa, resort, frecare) sau electrice (inductivitate, capacitate, rezistenta)
Pentru determinarea comportarii in domeniul timp se considera aplicata functia treapta (1.24). Ecuatia devine:
(1.47)
cu:
- pulsatie proprie (1.48)
- grad de amortizare (1.49)
-
sensibilitatea sistemului (1.50)
Ecuatia capata forma:
(1.51)
Solutia ecuatiei este :
- cazul
(regim oscilatoriu amortizat)
(1.52)
- cazul
(regim aperiodic critic)
(1.53)
- cazul
(regim aperiodic supra amortizat)
(1.54) In fig. 1.19 se prezinta solutia
ecuatiei (1.42) pentru cateva valori uzuale ale gradului de amortizare b la aparatele de masurare.
In regim oscilator, pulsatia oscilatiilor w este:
(1.55)
iar supracresterea s depinde numai de factorul de amortizare b
(1.56)
Timpul de raspuns Tr este minim in cazul regimului aperiodic critic. El constituie un parametru important al caracterizarii aparatelor de masurare analogice, standardele precizand ca aceste aparate trebuie sa aiba Tr < 4s pentru o eroare admisa e = 1,5% din lungimea scarii gradate.

Fig. 1.19. Raspunsul la semnal treapta functie de gradul de amortizare
Comportarea MEM de ordinul al doilea in domeniul frecventa se studiaza similar. Pornind de la ecuatia diferentiala (1.47) rezulta caracteristica de frecventa:
(1.57)
unde:
;
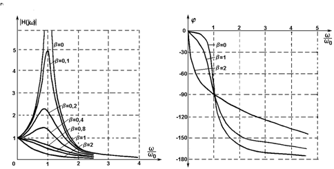
- caracteristica amplitudine-frecventa (fig. 1.20 a)
(1.58)
- caracteristica faza-frecventa (fig 1.20 b)
(1.59)
In fig. 1.20 sunt reprezentate cele
doua caracteristici pentru valori ale factorului de amortizare uzuale la
aparatele de masurare. Caracteristica amplitudine-frecventa este
constanta la frecvente joase si prezinta o scadere
pronuntata la frecvente inalte.
Pentru amortizari slabe, curba are un maximum (rezonanta):
(1.60)

a) b)
Fig. 1.20. Caracteristicile de frecventa ale MEM de ordinul II
a) caracteristica amplitudine-frecventa; b) caracteristica faza frecventa
Banda de
frecventa pentru elementul de ordinul II oscilator amortizat este
determinata atat de pulsatia naturala
cat si de
factorul de amortizare b. Se
demonstreaza ca:
(1.61)
In tabelul 1.5 sunt indicate valorile parametrilor caracteristici ai comportarii dinamice, calculati pentru un sistem de ordinul doi (parametrii B si Tc sunt exprimati in functie de T - perioada oscilatiilor libere neamortizate).
Tabelul 1.5 Parametrii dinamici caracteristici ai unui sistem de ord.II
|
Parametrul |
Factorul de amortizare |
||
|
b |
b |
b |
|
|
Largimea de banda B |
1,15 1/T |
1/T |
0,643 1/T |
|
Timp de crestere Tc |
0,3 T |
0,35 T |
0,54 T |
|
Supracresterea s | |||
In orice masurare, oricat de corect ar fi executata, valoarea masurata Xm difera de valoarea reala (adevarata) X a marimii de masurat.
Diferenta
dintre valoarea masurata si cea reala:
se numeste eroare
absoluta de masurare. Aceasta eroare este inevitabila din
cauze multiple. Siguranta rezultatului obtinut din masurari
este direct proportional cu numarul de masurari efectuate
asupra aceleasi marimi fizice. Rezultatul masurarii trebuie
sa fie insotit de o apreciere a erorii cu care este creditata
masurarea respectiva. Determinarea erorilor care afecteaza
rezultatul masurarii este, prin urmare, o etapa importanta
a prelucrarii rezultatelor si trebuie sa fie fundamentata
stiintific.
Pentru ca rezultatul masurarii sa corespunda ca siguranta a valorii trebuie ca experimentatorul sa respecte urmatoarele reguli:
inainte de inceperea masurarii sa aleaga metodele, mijloacele si conditiile de masurare adecvate pentru un pret minim al procesului de masurare;
sa poata aprecia, cat mai usor si corect posibil, incertitudinea totala, tinand seama de principalele surse de erori, confirmand sau infirmand precizia estimata
exprimarea rezultatelor masurarii sa fie adecvata beneficiarului acesteia, care decide daca este corespunzator sau nu cerintelor sale, deci daca procesul de masurare in ansamblu a fost corect sau trebuie reluat.

Fig. 1.21.Erorile si procesul de masurare
Avand in vedere interactiunile din procesul de masurare (fig. 1.21), distingem urmatoarele surse de erori:
modelul considerat pentru obiectul supus masurarii, datorita simplificarilor si idealizarilor unora din proprietatile sale,
interactiunea obiect - MEM datorita actiunii perturbatoare pe care o exercita mijlocul electric de masurare asupra obiectului supus masurarii. O perturbare a obiectului supus masurarii se produce la orice masurare. In principiu, la scara macroscopica, orice masurare poate fi facuta neperturbatoare, prin cresterea "finetii" aparatului de masurat. La scara microscopica (scara fenomenelor atomice), masurarea are o limita naturala, impusa de legile fizicii. Astfel, principiul lui Heiselberg afirma ca pozitia x si impulsul p al unei particule pot fi cunoscute cu incertitudini Dx si delta Dp al caror produs este dat de relatia:
Dx Dp = h; h = 6,62 10-34 Js - constanta lui Plank.
mijlocul electric de masurare - prin erorile instrumentale dependente de conceptia si constructia aparatului. In conditii obisnuite de utilizare a aparatului de masurare, limitele erorilor instrumentale sunt cunoscute din documentatia tehnica. De aceea, ele sunt cele ale caror evaluare este cea mai usoara pentru utilizator.
influente exterioare - prin erorile de influenta datorate in principal factorilor de mediu (temperatura, umiditate, radiatii, socuri etc.) dar si a altor factori: conditii de alimentare electrica (tensiune, frecventa, pozitie, fixare etc.)
Repetand masurarea unei marimi in conditii practic identice se constata ca nu se obtine totdeauna acelasi rezultat.
Repetarea masurarii pune in evidenta o eroare de masurare care variaza intamplator, imprevizibil in ambele sensuri. De asemenea, trebuie admis ca apare si o eroare neschimbata de la o masurare la alta, pe care repetarea masurarii nu o pune in evidenta.
Clasificarea erorilor de masura se poate face dupa mai multe criterii: dupa evolutia lor in timp, dupa sursa generatoare, dupa modul de manifestare, dupa legatura cu marimea fizica.
a) Dupa evolutia lor in timp erorile sunt:
dinamice: erori care se produc la masurarea in regim dinamic a marimilor variabile in timp si depind atat de caracteristicile mijlocului de masurat, de metodele aplicate cat si de natura variatiei marimii de masurat;
statice: erori care rezulta la masurarea in regim stationar, constant al marimii de masurat,
b) Dupa legatura cu marimea fizica eroarea poate fi:
absoluta: diferenta dintre valoarea masurata si valoarea marimii masurate definita la inceput:
DX = X - Xe (1.62)
Eroarea absoluta are aceiasi dimensiune fizica cu marimea masurata si se exprima in aceleasi unitati de masura. Eroarea absoluta luata cu semn schimbat se numeste corectie.
relativa: este un raportul dintre eroarea absoluta si valoarea adevarata sau cea de referinta:
(1.63)
Se exprima adimensional, ca un numar, in procente sau p.p.m (parts per million).
raportata: raportul dintre eroarea absoluta si o valoare conventionala, Xc exprima in acelasi mod ca si eroarea relativa dar semnificatia este diferita.
(1.64)
c) Dupa modul de manifestare eroarea poate fi:
sistematica: diferenta dintre valoarea medie a unui numar infinit de masurari si valoarea adevarata a marimii. Cauzele acestor erori pot fi cunoscute sau necunoscute. Erorile sistematice determinabile se elimina prin corectii. Ele se estimeaza in functie de caracteristicile metrologice ale mijloacelor de masurat utilizate si de contributia tuturor factorilor ce intervin in procesul de masurare. Prin generalizarea tuturor marimilor ce pot influenta rezultatul masurarii ca marimi de influenta, atunci erorile sistematice sunt constante pe toata durata repetarii masurarii;
aleatoare: diferenta dintre media valorilor masurate pentru un numar finit de masurari si media valorilor masurate pentru un numar inifinit (foarte mare) de masurari. Ea nu poate fi eliminata prin corectie ci doar estimata ca limita ce nu poate fi depasita cu o anumita probabilitate. Marimile de influenta variaza in acest caz rapid, luand valori diferite, nedeterminabile cu precizie, pe durata repetarii masurarilor;
grosolana (greseala): apare prin alegerea gresita a metodei si/sau mijloacelor de masurat, neatentiei in timpul masurarii, calculelor gresite, aparat defect etc. Estimarea erorilor se poate face numai dupa ce valorile gresite au fost eliminate din sirul de date.
Daca se repeta masurarea atat pentru un numar foarte mare de masurari (n ) cat si pentru un numar mic de masurari se obtin doua siruri distincte de valori masurate si de aceea daca se reprezinta grafic frecventele de aparitie a valorii masurate in functie de valorile masurate se obtin (fig. 1.22) doua curbe care difera intre ele.
Clasificarea prezentata se bazeaza pe modul de manifestare al erorilor la repetarea unei masurari.

Fig. 1.22. Definirea erorilor de masurare
Sa incercam sa patrundem putin in mecanismul producerii acestor erori. Putem presupune, fara a restrange generalitatea fenomenelor, ca orice eroare de masurare este generata de modificarea unei marimi de influenta. Acele marimi de influenta care fluctueaza relativ rapid, luand in timpul unor marimi repetate valori intamplatoare, dau nastere erorilor aleatoare. Dimpotriva, marimile de influenta care variaza relativ lent (sau sunt constante), pastrand in timpul unor marimi repetate aceleasi valori, dau nastere erorilor sistematice. De aici rezulta, in primul rand, ca nu exista o deosebire esentiala intre cele doua categorii de erori; ele pot fi atribuite deseori unor cauze similare, dar cu viteze de variatie in timp diferite. In al doilea rand, departajarea lor depinde de durata totala a masurarilor repetate; daca o masurare se repeta la intervale de timp mai mari, o eroare sistematica devine eroare aleatoare.
Pentru scopuri practice este util ca erorile aleatoare si erorile sistematice sa fie tratate distinct.
Eroarea aleatoare poate fi evaluata prin repetarea masurarii, pe cand aprecierea erorii sistematice necesita informatii suplimentare despre procesul de masurare concret.
d) Dupa sursa generatoare erorile pot fi:
de model: sunt datorate fenomenului supus masurarii si provin din simplificarea sau idealizarea sistemului fizic asupra caruia se efectueaza masurarea, neglijandu-se unele proprietati sau marimi fizice caracteristice acestuia;
de influenta: sunt o consecinta a actiunii mediului in care se efectueaza masurarile, prin intermediul factorilor caracteristici sau a campurilor electromagnetice perturbatoare asupra fenomenului investigat, asupra mijloacelor de masurat si asupra circuitelor de interfata;
de interactiune: sunt cauzate de actiuni diverse ale mijlocului de masurat asupra fenomenului supus masurarii si de experimentator asupra mijlocului de masurat;
instrumentale: reprezinta erorile proprii ale mijlocului de masurat fiind cuprinse, de regula, in limite cunoscute in functie de modul concret de definire a preciziei fiecarui mijloc de masurat in parte si de erorile suplimentare datorate factorilor de inf1uenta.
Rezultatele individuale ale masurarilor repetate au valori intamplatoare, distribuite dupa o anumita lege in jurul valorii medii. Oricare ar fi legea de distributie, practica arata ca se pot admite urmatoarele doua propozitii:
a) Media aritmetica a celor n rezultate individuale:
(1.65)
este cea mai buna aproximare a valorii adevarate x a marimii.
b) Abaterea standard:
este o masura a dispersiei rezultatelor in jurul mediei, adica a erorilor aleatoare.
Aprecieri cantitative se pot face numai daca se admite o anumita lege de distributie a erorilor.
Distributia normala (Gauss) prezinta o deosebita importanta in stiinta masurarii. Se disting doua situatii in care se poate aplica aceasta distributie:
la efectuarea unor masuratori, riguros in aceleasi conditii experimentale, aceleasi marimi fizice X.
la efectuarea unor masuratori pentru determinarea unei caracteristici a unei populatii.
Pentru distributia normala (Gauss), densitatea de probabilitate de repartitie a rezultatelor unui sir de masuratori este:
(1.67)
unde:
y este densitatea de probabilitate;
x - marimea masurata; valoarea medie;
s - eroarea medie patratica

Fig.1.23. Curba repartitiei normale Gauss
Legea normala de distributie reda proprietatea de simetrie a erorilor aleatoare (erorile aleatoare de semne diferite se intalnesc cu aceeasi probabilitate) si proprietatea de concentrare (erorile aleatoare mici in valoare absoluta apar mai frecvent decat cele mari).
Probabilitatea ca variabile aleatoare X sa se afle intr-un interval X1, X2 este:
unde Y
are expresia din relatia (1.67) iar probabilitatea ca eroarea
absoluta
X sa fie cuprinsa in
intervalul d este :
(1.69)
Daca se face schimbarea de variabila DX=zs (z fiind variabila normata), relatia a forma:
(1.70)
unde: F(z) este functia integrala a lui Laplace.
In tabelul 1.6. se dau cateva valori uzuale ale functiei F(z). Se poate observa plafonarea acestei functii pentru z
|
q = z | |||||
|
F(z) | |||||
|
N(%) |
Probabilitatea ca z sa ia valori in intervalul q exprimata in procente (inmultita cu 100), adica:
(1.71)
se numeste nivel de incredere.
Probabilitatea ca eroarea unei masurari sa ia valori in afara
intervalului m s este foarte mica de numai 0,27%. Deci
99,73% din masurarile repetate vor da rezultate grupate in intervalul
s fata de valoarea medie. De aceea, valoarea 3s poate
fi considerata ca eroare limita.
Probabilitatea ca eroarea de masurare sa fie in limitele s este de 95,45%, deci valorile s pot fi considerate ca limite rezonabile ale erorilor aleatoare.
Probabilitatea ca erorile individuale sa fie in limitele s este de 68,27%.
Aplicarea practica a acestor relatii necesita un numar foarte mare de masuratori.
In practica, pentru un numar mic de masuratori se utilizeaza estimatori ai indicatorilor m si s
- media m se aproximeaza prin media aritmetica:
(1.72)
- eroarea medie practica se aproximeaza prin eroarea medie patratica a unei masuratori:
(1.73)]
Valorile
si s, fiind
estimari, bazate pe un numar relativ mic de masurari, nu se
bucura de proprietatile enuntate mai sus pentru m si s si determinarea intervalelor de incredere cu ajutorul
coeficientilor q nu mai este
posibila.
Pentru
construirea acestor intervale de incredere corespunzatoare nivelelor de
incredere dorite, se foloseste parametrul t al distributiei Student valabila si pentru un
numar mai mic de masurari. Acest t depinde de n iar limitele intervalului de
incredere devin
ts. Pentru acelasi nivel de incredere t este mai mare decat q din distributia Gauss cu cat
numarul de masurari este mai mic.
In tabelul 1.7 se dau cateva valori ale lui t functie de in functie de nivelul de incredere N(%) admis si de numarul de masuratori n.
|
n N(%) | ||||||||||
|
| ||||||||||
Se observa ca pentru un numar mic de masuratori valoarea parametrului t este mai mare, ceea ce inseamna ca la acelasi nivel de incredere intervalul de incredere se largeste daca n scade. Pentru n > 200 corespondenta dintre q si t devine identica cu cea de la distributia normala.
In practica, nivelul de incredere se alege dupa criteriul importantei rezultatului. Astfel, in cazul masurarilor curente se poate alege un nivel de incredere de 0,9 sau 0,95, iar la masurarile de mare importanta se poate lua 0,99.
In concluzie, prelucrarea rezultatelor unui sir de masurari, pentru determinarea incertitudinii aleatoare, reclama un numar relativ mare de masurari si calcule laborioase, daca se urmareste o reducere insemnata a acestei incertitudini. In aparatura electronica moderna se aplica tot mai frecvent tehnici de prelucrare automata a rezultatelor, repetarea masurarilor si calculele parametrilor prezentati mai sus fiind automatizate.
Ca un ultim comentariu la problema incertitudinilor aleatoare, trebuie subliniat ca in multe masurari uzuale ele se neglijeaza in comparatie cu incertitudinea sistematica. Daca diferenta dintre doua masurari este sensibil mai mica decat incertitudinea sistematica estimata, efectul erorilor aleatoare poate fi ignorat.
Erorile sistematice sunt produse de factori perturbatori care au o actiune permanenta in timpul masurarii. Ele sunt caracteristice pentru un anumit mijloc de masurare, pentru o anumita metoda de masurare sau pentru anumite conditii de masurare si prin definitie, sunt neestimabile prin experimentul in sine. Pentru a evalua erorile sistematice sunt necesare informatii din afara experimentului considerat: rezultatele altor masuratori; date suplimentare privind aparatura folosita, metode, conditiile masurarii etc.
Exemple de erori sistematice: a)strambarea acului indicator - conduce la aparitia unei erori sistematice constante (pozitiva sau negativa); b) trasarea incorecta a unei scari gradate - conduce la aparitia unei erori sistematice progresive (crescatoare sau descrescatoare); c) daca la un aparat cu scara circulara, pe care acul indicator parcurge mai multe ture in timpul masurarii (cronometru, tahometru, etc.), cadranul este montat excentric fata de axul acului indicator, se produce o eroare sistematica periodica.
Deci este necesar sa facem distinctie intre erorile sistematice cunoscute, pe care le putem elimina prin aplicarea imediata a unei corectii potrivite si erori sistematice necunoscute, pe care le putem doar evalua.
O eroare sistematica identificata, determinata si adaugata cu semn schimbat la rezultatul masurarii nu mai contribuie la incertitudinea sistematica a acestuia.
Deci discutarea acestor erori sistematice va fi facuta odata cu examinarea metodelor de masurare, a mijloacelor de masurare si a conditiilor de etalonare.
In acest capitol prezinta interes erorile sistematice nedeterminate (neidentificate), deci cele care nu sunt cunoscute ci doar estimate. Singura cale a evaluarii este cea analitica, prin aprecierea incertitudinilor sistematice pe care le poate introduce fiecare sursa posibila de erori.
Analiza poate fi condusa luand in considerare sursele de erori discutate anterior si anume: obiectul supus masurarii, aparatul de masurat, interactiunea obiect - aparat, influentele exterioare.
Pentru fiecare sursa posibila, incertitudinea sistematica introdusa trebuie estimata tinand cont de conditiile concrete ale experimentului.
Este necesar sa se cunoasca toti parametrii obiectului supus masurarii, care pot influenta masurarea (de exemplu frecventa si forma tensiunii alternative, stabilitatea ei in timp, etc.) Estimarea incertitudinii sistematice a aparatului de masurat se face luand ca baza eroarea tolerata a acestuia, conform documentatiei sale tehnice. Interactiunea aparat - obiect se analizeaza pe schema concreta a circuitului de masurare, ai carui parametri trebuie precis cunoscuti. Evaluarea influentelor exterioare este cea mai dificila, necesitand consideratii teoretice judicios aplicate.
Estimarea tuturor acestor incertitudini reclama o buna cunoastere a tehnicilor de masurare specifice, o analiza teoretica a fenomenelor care intervin si o experienta temeinica a aparatului.
Atat timp cat eroarea sistematica nedeterminata este doar apreciata, prin estimarea unui interval probabil in care se situeaza, ea poate fi privita ca realizare a unui eveniment a carui probabilitate este repartizata dupa o anumita lege. In aceasta situatie eroarea sistematica poate fi caracterizata prin indicatori probabilistici, ca si eroarea aleatoare (cu dificultatea ca acesti indicatori nu pot fi determinati prin repetarea masuratorii).
Modul
uzual de caracterizare a erorilor sistematice este prin estimarea limitelor
a intre care se
apreciaza ca este situata valoarea erori sistematice.
Intrucat
in interiorul acestor limite eroarea poate lua orice limite valoare, se poate
considera echiprobabila intre
a (distributiei
rectangulara a probabilitatii erorii sistematice ). Eroarea medie
patratica, in cazul acestei distributii rectangulare este:
(1.74)
In cazul mai multor surse de erori sistematice, se estimeaza contributia acestora, atribuindu-se fiecareia o eroare medie patratica si (i = 1,2m,) m fiind numarul surselor de erori sistematice luate in considerare. Se pune problema estimarii efectului global al acestor erori componente.
Conform teoriei probabilitatilor, eroarea medie patratica totala, datorata unor erori componente independente intre ele, se obtine prin insumarea patratica.
(1.75)
unde: rij
- coeficient de corelatie dintre variabilele caracterizate prin
parametri si sj (rij =
variabilele corelate
total intre ele).
In practica, o mare parte din erorile sistematice nedeterminate provin din surse intre care nu exista practic corelatie. Exemple de surse de incertitudini partiale fara corelatie intre ele: incertitudinea etalonului de referinta, incertitudinea aparatului de comparatie, temperatura ambianta, alti factori de mediu, erori de metoda, erori de operator.
In general, se poate scrie, independent de legile de repartitie ale variabilelor:
(1.76)
Daca din cele m variabile numai variabilele 1 si 2 sunt corelate intre ele, cu r12 = 1, celelalte variabile fiind practic necorelate intre ele, relatia devine:
(1.77)
In practica, asemenea cazuri apar atunci cand aceeasi marime de influenta actioneaza asupra a doua surse de erori distincte.
De exemplu, la etalonarea in curent continuu a unui wattmetru, daca si tensiunea si curentul sunt masurate cu acelasi voltmetru digital, cele doua erori componente vor fi puternic corelate intre ele.
Prin eroare grosolana se intelege o eroare ce depaseste considerabil erorile probabile, specifice unui proces de masurare.
Daca se fac masurari separate, valoarea afectata de o eroare grosolana se detaseaza din repartitia statistica a sirului. De exemplu daca intr-un sir de rezultate, caracterizat prin eroarea medie patratica s, o valoare difera cu peste 3s de valoarea medie, este vorba - cu o probabilitate foarte mare - de o eroare grosolana si valoarea respectiva trebuie exclusa.
In realitate in cazurile practice in care numarul masuratorilor nu este foarte mare, valoarea lui s nu este cunoscuta (este doar estimata prin s) deci criteriul devine inoperant.
Pentru cazul legii de repartitie normale, unul din criteriile uzuale de indentificare a erorilor grosolane este criteriul Grubbs-Smirnov.
Se ordoneaza sirul de rezultate x1xn in ordine crescatoare si se suspecteaza valoarea cea mai mare xn. Se calculeaza raportul :
(1.78)
si se compara cu valoarea nn a din tabelul 1.8 corespunzatoare numarului n de valori ale sirului si
riscului
ales (de obicei 0.05
sau 0.01).
Daca
n
nn,a, valoarea Xn
trebuie exclusa din sirul de rezultate.
Daca
n
nn,a, , ipoteza erorii grosolane nu se confirma si valoarea xn
trebuie mentinuta in sir.
Daca se suspecta valoarea X1 - cea mai mica din sir - metoda se aplica identic.
Valorile parametrului nn,a, sunt date in tabelul 1.8.
|
|
||
|
n | ||
|
10 | ||
La efectuarea unei masurari cu un mijloc electric de masurare trebuie sa se estimeze eroarea cu care se va obtine valoarea masurata.
a)Eroarea
limita de masurare -
reprezinta valoarea maxima posibila
pentru eroarea instrumentala, garantandu-se ca pentru intreg
intervalul de masurare erorile de masurare sunt mai mici sau egale cu
Eroarea limita de masurare se determina ca:
unde:
- eroarea
intrinseca (eroarea limita de masurare in conditii de
referinta)
- eroarea suplimentara provocata de variatia
marimilor de influenta in afara intervalelor de
referinta dar in interiorul intervalului de utilizare.
Ca exemplu, in fig. 1.24 sunt prezentate pentru temperatura: valoarea de referinta, intervalul de referinta, intervalul de utilizare, intervalul conditiilor de transport si depozitare, stabilite de standarde in vigoare, pentru aparatele electronice din grupa 1.

Fig. 1.24. Intervalele de temperatura la aparate de masurare electronice din grupa 1
La masurarea cu aparate analogice.
Pentru estimarea erorii limita de masurare a aparatelor analogice s-a introdus notiunea de clasa de precizie. Clasa de precizie reprezinta ansamblul mijloacelor electrice de masurare a caror precizie, calculata cu aceeasi formula, este caracterizata prin acelasi numar (indice de clasa) precum si printr-un ansamblu de proprietati metrologice specificate prin norme internationale sau standarde de stat.
Indicele de clasa poate lua urmatoarele valori: 0,0005; 0,001; 0,002; 0,005; 0,01; 0,02; 0,05; 0,1; 0,2; 0,5; 1; 1,5; 2,5.
Indicele clasei de precizie a aparatului este egal cu eroarea raportata tolerata limita (exprimata in procente):
(1.67)
Valoarea conventionala Xc poate fi:
a) limita superioara a intervalului de masurare Xlim la aparatele care au raportul care la extremitatea scarii sau in afara ei si limita superioara a intervalului de masurare finita.
Exemple: ampermetru, voltmetru, wattmetru
b) valoarea nominala a marimii de masurat pentru aparatele destinate sa masoare in jurul unei valori nominale a marimii de masurat.
Exemplu: frecventmetrele pentru masurarea frecventei retelei.
c) Suma modulelor limitelor de masurare - la aparatele avand reperul zero in interiorul scarii.
Observatii:
1) Pentru aparatele din aceste categorii clasa de precizie este inscrisa pe cadranul lor printr-un numar
2) Eroarea absoluta limita este:
(1.68)
3) Valoarea reala X a marimii de masurat este cuprinsa in intervalul:
- Eroarea relativa cu care se face masurarea marimii X1 < Xlim este:
In fig. 1.25 sunt prezentate erorile relative limita de masurare pentru aparatele electrice analogice de clase 1; 2; 5 considerandu-se o crestere proportionala a erorilor relative spre valori mici, deci o micsorare a preciziei si de aceea se recomanda utilizarea acestor aparate numai pentru valori cuprinse in a doua jumatate a intervalului de masurare, precizia fiind pastrata intre indicele de clasa si dublul lui.

Fig. 1.25. Erorile relative limita de masurare la aparatele analogice
pentru cateva clase de exactitate
d) o valoare egala cu lungimea scarii gradate Xc = L la aparatele cu scara neliniara sau limita superioara a intervalului de masurare infinita. Exemplu: fazmetre, ohmmetre.
Daca raportarea se face la lungimea scarii gradate, atunci sub cifra care indica clasa de precizie exista un semn suplimentar( ca in Tab.1.10)
e) La o serie de aparate de aparate electrice de masurare analogice (contoare, transformatoare de masura, rezistente decadice, etc.) eroarea absoluta limita se determina in functie de valoarea masurata
(1.71)
In tabelul 1.10 se prezinta exemple de desemnare a clasei de precizie in cazurile prezentate mai sus.
Tabelul 1.10. Simboluri pentru clase de precizie a aparatelor analogice
|
Modul de exprimarea al erorii intriseci |
Eroare totala |
Simbolul clasei de exactitate |
|
Functie de valorarea masurata |
eR |
|
|
Functie de Xc = Xlim |
eR | |
|
Functie de lungimea scarii gradate |
eR |
|
2) Masurari efectuate cu punti si compensatoare
Eroarea absoluta tolerata
limita se calculeaza cu o suma dintre eroarea
intrinseca
si cea suplimentara
(1.72)
Eroarea intrinseca (mijlocul de masurare fiind in conditii de referinta ) se calculeaza cu relatia:
(1.73)
unde:
c- indicele clasei de preciziei
Xlim - limita intervalului de masurare
k - constanta indicata de constructor (uzual k=10)
Xm - valoarea masurata
Valorile de referinta ale marimilor de influenta pentru punti sunt: (tabel 1.11)
|
Marimea de influenta |
Valoarea de referinta |
Clasa de exactitate |
Variatii admisibile ale erorii raportata la Xi |
|
Temperatura ambianta |
C |
C C C |
|
|
Umiditatea relativa |
Eroarea suplimentara
- apare la
variatia intre anumite limite a unui singur factor de influenta,
ceilalti mentinandu-se la valorile de referinta.
In
normele metrologice se prezinta limitele domeniului nominal de utilizare
si variatiile admisibile ale erorii (
) v pentru punti.
|
Marimea de influenta |
Clasa de exactitate |
Limitele domeniului nominal de utilizare |
Variatii admisibile ale erorii raportata la Xi |
|
Temperatura ambianta |
C C C | ||
|
Umiditatea relativa |
Exemplu. Cu o punte
Wheatstone cu clasa de precizie c = 0,05 avand decade cu
si raport
se masoara
rezistenta unui rezistor obtinandu-se Xm = 1540,1
Temperatura la locul masurarii este 24 C. Sa se calculeze: eroarea intrinseca, eroarea limita si intervalul de incertitudine pentru rezultatul masurarii.
Din cartea tehnica k = 10 deci:
Deoarece temperatura de 24 C este in afara domeniului de referinta.
si deci:
Rezultatul masurarii cu intervalul de incertitudine calculat, va fi:
3. Masurari efectuate cu aparate numerice
In general eroarea absoluta tolerata limita, in conditii de referinta ale mediului, este de forma:
unde:
a,b - numere pozitive exprimate in procente
Xlim - limita intervalului de masurare
Xm - valoarea masurata
1 digit - incertitudinea cifrei ultimului rang zecimal al
afisajului.
Unele firme constructoare utilizeaza relatia:
digiti (1.75)
unde:
b - numar pozitiv exprimat in procente
Xm - valoarea masurata citita pe afisaj
n - incertitudinea afisajului numeric cumulata cu eroarea constanta independenta de marimea de masurat
Valoarea x a marimii de masurat este functia de marimile x1 x2.xn masurabile direct:
x = f(x1,x2.xn) (1.76)
incat se pune problema modului in care erorile masurarilor directe asupra lui x1 x2.xn se propaga asupra rezultatului obtinut prin calcul pentru marimea x:
Metoda cea mai simpla de calcul este metoda diferentialei logaritmice.
Se logaritmeaza relatia (1.76):
(1.77)
si se diferentiaza aceasta relatie:
(1.78)
Inlocuind diferentialele dx, dx1.dxn cu cresterile finite foarte mici Dx, Dx1 Dx2 , .Dxn se obtine:
deci:
(1.80)
Eroarea absoluta maxima probabila va fi:
(1.81)
In tabelul 1.14 se prezinta eroarea maxima probabila pentru diferite functii f de dependenta a marimii calculate de marimile masurate direct.
Tabelul 1.14
Exemple:
a) Eroarea maxima probabila la masurarea puterii electrice in c.c. cu ampermetru si voltmetru dupa relatia: P = UI
rezulta (caz 3)
b) Eroarea maxima probabila la masurarea puterii electrice dupa relatia:
considerand:
rezulta (caz 4):
Rezultatele obtinute din masuratori constituie o multime dezordonata de valori. Pentru interpretare , se prefera reprezentarea grafica sub forma de histograma si de poligon de frecvente .
Indiferent de modalitatea de reprezentare grafica, domeniul de variatie a rezultatelor se imparte in intervale elementare de aceeasi lungime denumite intervale de grupare.
Daca intr-un sir de masuratori se obtine valorile limita xmax si xmin , lungimea intervalului de grupare se determina cu relatia:
(1.82)
Uzual, lungimea intervalului d se rotunjeste la numarul intreg cel mai apropriat.
Pentru reprezentarea grafica a rezultatelor experimentale se procedeaza astfel:
Se intocmeste tabelul cu datele rezultate din masuratori.
Se ordoneaza crescator datele din tabel si pe baza relatiei se stabilesc intervalele de grupare.
Se determina numarul de date ni corespunzator fiecarui interval (frecventa absoluta) si se calculeaza frecventa relativa
(1.83)
unde : n - numarul total de masuratori
Se construieste histograma - diagrama formata din dreptunghiuri avand baza egala cu intervalul de grupare si inaltimea proportionala cu frecventa absoluta (sau relativa).

Fig.1.27. Histograma si poligonul frecventelor
|
Politica de confidentialitate | Termeni si conditii de utilizare |
Vizualizari: 4642
Importanta: ![]()
Termeni si conditii de utilizare | Contact
© SCRIGROUP 2025 . All rights reserved