| CATEGORII DOCUMENTE |
| Aeronautica | Comunicatii | Electronica electricitate | Merceologie | Tehnica mecanica |
FACULTATEA DE MECANICA
LA
INVENTICA
cu gabarit redus,usor si puternic necesar actionarii mecanismelor de fixare
sau de fixare si centrare.
1.ETAPA DE DOCUMENTARE
SOLUTIA 1.
Figura 1
Descrierea constructiv-functionala :
Elementul care transforma energia uleiului sub presiune in lucru mecanic util este pistonul 2 unitar cu tija 3 ansamblu fixat in cilindrul 1 inchis ermetic cu
capacele 4 si 5.
Separarea camerelor de lucru A si B,precum si legatura acestora cu exteriorul
se face cu ajutorul unor elemente de etansare.
Pentru functionare, uleiul sub presiune este introdus in camera A, creeaza o forta de presiune pe suprafata pistonului, care provoaca deplasarea acestuia(impreuna cu tija) de la stanga la dreapta, iar uleiul sub presiune este evacuat.
Avantaje
-constructie simpla ;
-randamentul mecanic n=85%;
-viteza de lucru este ridicata;
-gabaritul axial mic.
Dezavantaje :
-modul de prindere al motorului de corpul dispozitivului ;
-rezistenta hidraulica a circuitului de retur nu este suficient de mare ;
-lungimea de franare este limitata.
SOLUTIA 2 :
Figura 2
Descrierea constructiv-functionala :
Motorul se leaga de dispozitiv prin intermediul unei tije, insurubata in tija 3 si a unei bucse de presiune 6, insurubata pe capacul din fata 4.Bucsa de presiune este impiedicata sa se roteasca in timpul procesului prin intermediul surubului 7.Aceste componente sunt introduse in corpul 1 inchis prin capacele 4,5, 6.
Principiul de functionare este asemanator solutiei 1 cu particularitatea cala acest motor,in timpul lucrului, pisronul ramane fix si se deplaseaza motorul propriu-zis,care, prin bucsa de presiune 6,transmite forta de actionare dezvoltata.
Avantaje :
-constructie compacta ;
-prin orificile calibrate practicate in camasa cilindrului se mareste rezistenta hidraulica ;
-forta de actionare dezvoltata este ridicata ;
-randamentul mecanic este de 90% ;
-prin folosirea suruburilor de presiune permite adaptarea acestora la diferite constructii de dispozitive ;
-domeniul de utilizare este larg.
Dezavantaje :
-gabarit axial mare ;
-instabilitate la vibratii ;
-cursa de lucru este limitata ;
-greutate specifica relativ mare.
SOLUTIA 3 :

Figura 3
Descrierea constructiv-functionala :
Motorul se leaga prin intermediul unei tije insurubata in tija 3 si a unei parghii articulate cu urechea din capacul din spate 5.
Motorul este compus din corpul 1,pistonul 2,tija 3 si capacele 4si5.Etansarea se face cu garnituri din cauciuc rezistent la ulei.
Aceste motor permit transmiterea fortei de actionare simultan in doua sensuri ,in timpul lucrului deplasindu-se atit pistonul cat si motorul propriu-zis.
Avantaje :
-transmiterea fortei de actionare in ambele sensuri ;
-randamentul mecanic 91% ;
-gabarit axial redus ;
-stabilitate la vibratii datorita modului de strangere.
Dezavantaje:
-presiuni de lucru scazute ;
-lungimea de franare este limitata ;
-viteza de lucru este scazuta.
2.SISTEMATIZAREA INFORMATILOR
2.1.Stabilirea criteriilor de clasificare
Pentru a obtine solutia optima am ales urmatoarele criterii de clasificare
A.Ansamblu de franare
A1.-piston in doua trepte ,cu treapta suplimentara cilindrica ;
A2.-piston in doua trepte,cu treapta suplimentara conica ;
A3.-piston in doua trepte ,cu treapta suplimentara cilindrica prevazuta cu crestaturi ;
A4.-franare cu drosel variabil dispus paralel cu racordul de alimentare al cilindrului ;
A5.-franare cu supapa de limitare a presiuni ;
A6.-franare cu ajutorul orificiilor calibrate practicate in camasa cilindrica.
B.Ansamblu de transmitere a fortei de actionare
B1.- bucsa de presiune ;
B2.- tija ;
B3.- suruburi de presiune.
C.Ansamblu de fixare a pistonului cu tija :
C1.-strangere cu piulita si contrapiulita ;
C2.-tije duble,dintr-o singura bucata ;
C3.-bucse cu umar si filet ;
D.Ansamlul de fixare a motorului de corpul dispozitivului :
D1.-capac cu portiune filetata ;
D2.-prin intermediul unei tije si a unei bucse de presiune ;
D3 -cu ajutorul unei tije insurubata insurubata in tija pistonului si unei parghii articulate
cu urechea din capacul din spate al motorului ;
D4.-prin intermediul unui surub , insurubat intr-o gaura centrala a capacului din spate ;
D5.-prin intermediul unor suruburi ce trec prin urechi practicate in capacul din spate.
2.2DIAGRAMA DE IDEI

Ansamblul de fixare A Ansamblul de prindere a motorului de corpul
dispozitivului D Ansamblul
de fixare a pistonului cu tija C Ansamblul
contra pierderilor de ulei hidraulic B
![]()
![]()
![]()
![]()








2.3.CERCETAREA MORFOLOGICA SECVENTIAL SELECTIVA
Am considerat cele 4 ansambluri cu variantele respective:
A=
B=
C=
D=
B1 B2 B3 C1 C2 C3
|
X |
A1B2C2 |
X |
|
A2B1C1 |
X |
X |
|
X |
X |
A3B2C3 |
|
A4B3C1 |
A4B3C2 |
X |
|
X |
X |
X |
|
X |
X |
A5B3C3 |
|
X |
X |
A6B1C3 |
|
A6B2C1 |
X |
A6B2C3 |
|
X |
A1B2 |
X |
|
A2B1 |
X |
X |
|
X |
A3B2 |
X |
|
X |
X |
A4B3 |
|
A5B1 |
X |
A5B3 |
|
A6B1 |
A6B2 |
X |
D1 D2 D3 D4 D5
|
A1B2C2D1 |
X |
X |
X |
X |
|
X |
X |
X |
A2B1C1D4 |
X |
|
X |
X |
A3B2C3D3 |
X |
X |
|
X |
X |
X |
X |
X |
|
X |
A4B3C1D2 |
X |
X |
A4B3C1D5 |
|
X |
X |
X |
A5B3C3D4 |
X |
|
X |
A6B1C3D2 |
X |
X |
X |
|
A6B2C3D1 |
X |
X |
X |
X |
|
X |
X |
A6B2C3D3 |
X |
X |
A1B2C2
A2B1C1
A3B2C3
A4B3C1
A4B3C2
A5B3C3
A6B1C1
A6B2C1
A6B2C3
Se observa ca din totalul de 270 de variante 9 sunt solutii constructive posibile,din care 3 sunt standardizate.
3.ANALIZA COMPARATIVA A SOLUTIILOR
3.1.Stabilirea criteriilor de apreciere
Pentru compararea solutiilor existente luam in considerare urmatoarele criterii de apreciere :
a)Transmiterea fortelor de actionare ridicate-F
b)Durata de exploatare ridicata-D
c)Randament mecanic ridicat-R
d)Gabarit axial redus-G
.Ordonarea solutiilor prin tehnica deciziilor impuse
|
Criterii |
DECIZII |
Total decizii pozitive N |
Coeficient de importanta N /D |
|||||
|
1 |
2 |
3 |
4 |
5 |
6 |
|||
|
F D R G | ||||||||
Ordinea reala de importanta a celor 4 criterii reiese din tabelul urmator
|
CRITERIU |
F |
R |
D |
G |
|
N/D |
0.33 |
0.33 |
0.25 |
3.2.Compararea dispozitivelor dupa criterii
|
|
Decizii dupa criteriul F |
DF |
0,33DF/D |
||||||||||||||
|
A1B2C2D1 A2B1C1D4 A3B2C3D3 A4B3C1D2 A4B3C1D5 A5B3C3D4 |
| ||||||||||||||||
Ordinea reala de importanta a celor 4 criterii reiese din tabelul urmator
|
|
Decizii dupa criteriul R |
DR |
0,33DR/D |
||||||||||||||
|
A1B2C2D1 A2B1C1D4 A3B2C3D3 A4B3C1D2 A4B3C1D5 A5B3C3D4 | |||||||||||||||||
|
|
Decizii dupa criteriul D |
DD |
0,33DD/D |
||||||||||||||
|
A1B2C2D1 A2B1C1D4 A3B2C3D3 A4B3C1D2 A4B3C1D5 A5B3C3D4 |
| ||||||||||||||||
|
|
Decizii dupa criteriul G |
DG |
0,33DG/D |
||||||||||||||
|
A1B2C2D1 A2B1C1D4 A3B2C3D3 A4B3C1D2 A4B3C1D5 A5B3C3D4 | |||||||||||||||||
|
Solutia |
A1B2C2D1 |
A2B1C1D4 |
A3B2C3D3 |
A4B3C1D2 |
A4B3C1D5 |
A5B3C3D4 |
|
NV |
Ca atare solutia A5B3C3D4 este cea care trebuie luata in considerare ca fiind cea mai satisfacatoare pentru rezolvarea temei date.
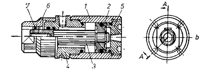
Motor hidraulic aplicat cu piston
Inventia se refera la un motor utilizat constructia dispozitivelor pentru masinile-unelte agregate,la fixarea simultana a unui semifabricat in mai multe puncte sau a mai multor semifabricate in acelesi dispozitiv.
Este de asemenea cunoscut un motor care se leaga de corpul dispozitivului cu ajutorul capacului din fata ,prevazut cu o portiune filetata si care transmite forta de actionare simultan in doua sensuri,in timpul lucrului deplasindu-se atat pistonul cat si motorul propriu-zis.
Dezavantajele acestui motor consta in faptul ca are rezistenta hidraulica a circuitului de retur nu este suficient de mare si are instabilitate la vibratii.
Este de asemenea cunoscut un motor la care forta de actionare este transmisa printr-o bucsade presiune care este impiedicata sa se roteasca cu ajutorul unui surub.acest motor se leaga prin intermediul unei tije si abucsei de presiune.
Dezavantajul acestui motor consta in faptul ca are cursa de lucru limitata,iar forta de actionare scade cu cresterea cursei.
Este de asemenea cunoscut un motor care se leaga de corpul dispozitivului cu ajutorul unei tije insurubata in tija motorului si aunei parghii articulate cu urechea din capacul din spate.Acest motor permite transmiterea fortei de actionare simultan in doua sensuri, in timpul lucrului deplasandu-se atat pistonul cat si motorul propriu-zis.
Dezavantajele acestui motor constau in faptul ca realizeaza presiuni de lucru mici,deci viteze de lucru scazute si are un randament relativ scazut.
Inventia elimina dezavantajele de mai sus,prin aceea ca in scopul reducerii vibratiilor, maririi fortei de actionare ,este alcatuita dintr-un surub de presiune prin care se transmite forta de actionare,alimentarea cu ulei se face cu ajutorul unor stuturi sudate pe corpul motorului, legarea realizandu-se prin intermediul unui surub insurubat intr-o gaura centrala a capacului din spate al motorului.
Inventia prezinta urmatoarele avantaje ;
-folosirea suruburilor de presiune ,insurubate in tijele motoarelor,permite adaptare acestora la diferite constructii de dispozitive,precum si largirea domeniului de utilizare a acestora;
-asigurarea unei alimentari corespunzatoare cu ulei prin folosirea unor stuturi;
-realizarea unor presiuni de lucru ridicate,de aici realizarea unor forte de actionare ridicate si deci un randament ridicat.
-stabilitatea la vibratii,precum si la alte forte externe ce actioneaza asupra motorului si care tind sa-i modifice parametrii ;
-simplitatea constructiei ;
-costul de realizare si de intretinere a motorului este relativ scazut.
Se da in continuare un exemplu de realizare a inventiei in legatura cu figura1

|
Politica de confidentialitate | Termeni si conditii de utilizare |
Vizualizari: 2100
Importanta: ![]()
Termeni si conditii de utilizare | Contact
© SCRIGROUP 2026 . All rights reserved