| CATEGORII DOCUMENTE |
| Arhitectura | Auto | Casa gradina | Constructii | Instalatii | Pomicultura | Silvicultura |
Breviar de calcul al elementelor structurale.
1. Date generale
Noua cladire se va construi pe un teren intravilan situat pe B-dul 1 Mai, in judetul Constanta.
In conformitate cu prevederile normativului P100-2006 constructia face parte din clasa de importanta II. Conform hartii de macrozonare seismica din normativul de proiectare antiseismica constructia se afla in zona E caracterizata prin perioada de colt Tc=0.7s si acceleratia terenului pentru proiectare ag=0,16g,avand o structura in cadre etajate cu pereti de umplutura care nu sunt tratati ca elemente structurale.
Fiind amplasata in orasul Constanta, zona de incarcare cu zapada la nivelul solului sok=0 kN/m2 avand IMR=50 ani (conform indicativului CR 1-1-3 - 2005).
Regimul de inaltime P + 3E.
Structura de rezistenta.
a) Infrastructura - grinzi continue pe mediul elastic;
b) Suprastructura - cadre din beton.
Materiale folosite:
Beton armat: C16/20 (Bc20) pentru infrastructura
C20/25 pentru suprastructura
Fier beton: OB 37, PC 5
Calculul elementelor structurale si a structurii de rezistenta in ansamblu la diferite stari limita s-a facut luand in considerare combinatiile sau gruparile de incarcari cele mai defavorabile.
La proiectarea acestei constructii s-au avut in vedere urmatoarele grupari de incarcari:
a) Gruparea fundamentala
- incarcari permanente;
- incarcari cvasipermanente;
- incarcari variabile .
+![]()
in care:
Gk,j, Qk,i, Qk,l - incarcari permanente, cvasipermanente si variabile normate;
a) Gruparea speciala:
incarcari prmanente;
incarcari cvasipermanente;
incarcari variabile ;
incarcari exceptionale.
![]()
![]()
in care:
AEk-valoarea caracteristica a actiunii seismice ce corespunde intervalului mediu de recurenta
2,i-coeficient pentru determinarea valorii cvasipermanente a actiunii variabile Qi
γi-coeficient de importanta a constructiei.
Evaluarea incarcarilor gravitationale.
1. Incarcari gravitationale (pe 1 m2)
Evaluarea incarcarilor permanente normate gn si de calcul g precum si inacarcarea variabila s-a centralizat in tabelul urmator :
|
Element constructie |
Denumire element |
Grosime strat[m] |
Greutate specifica [daN/mp] |
Actiuni normate [daN/mp] |
n [coef] |
Valoare de calcul | |
|
Planseu rece | |||||||
|
Tencuiala | |||||||
|
Placa beton armat | |||||||
|
Sapa egalizare | |||||||
|
Gresie | |||||||
|
Rigips | |||||||
|
Total actiuni pemanente | |||||||
|
Planseu cald |
Tencuiala | ||||||
|
Placa beton armat | |||||||
|
placa LU din stejarcu sapa de egalizare | |||||||
|
Rigips | |||||||
|
Total actiuni pemanente | |||||||
|
Perete exterior |
Tencuiala | ||||||
|
Blocuri BCA | |||||||
|
Termoizolatie | |||||||
|
Tencuiala | |||||||
|
Total actiuni pemanente | |||||||
|
Perete interior |
Tencuiala | ||||||
|
Blocuri BCA | |||||||
|
Tencuiala | |||||||
|
Total actiuni pemanente | |||||||
|
Perete rigips |
Rigips | ||||||
|
Vata mimerala | |||||||
|
Rigips | |||||||
|
Total actiuni pemanente | |||||||
Evalurea incarcarilor variabile.
Incarcarea din actiunea zapezii.
, unde:
sk - valoarea caracteristica a incarcarii din zapada pe acoperis [kN/m2];
ce - coeficient de expunere a amplasamentului constructiei;
ct - coeficient termic;
so,k - valoarea caracteristica a incarcarii de zapada pe sol, in amplasamentul constructiei [kN/m2].
so,k=2,00 [kN/m2] - conform indicativului 1-1-3 - 2005;
ce=0,8 - expunere partiala;
ct=1,00.
Sk=2,0
[kN/m2]
=1600 [N/m2]
3. Incarcari cvasipermanente.
Peretii neportanti de compartimentare se considera pe un m2 de placa (planseu) conform punctului 3.1.3 din STAS 10101/2a1 - 87:
-pereti din zidarie din BCA de maxim 30 cm grosime la exterior si de 25 cm la interior pentru compartimentare reprezinta 3KN/m2
3. Proiectarea preliminara a elementelor structurale
Predimensionarea elementelor structurale s-a realizat pe criterii de rigiditate si de rezistenta.
3.1. Predimensionarea pe criteri de rigiditate.
Placa:
= 10.4 cm
hp = 13 cm,
unde:
hp - inaltimea placii;
P - perimetrul unui ochi de placa.
Grinzi:
La
grinzile monolite, dimensiunile sectiunii transversale se adopta, de regula,
multiplu de 50 mm pentru h < 800 mm si multiplu de 100 mm pentru h
800 mm.In
continuare voi prezenta algoritmul de calcul pentru o grinda astfel functie de deschiderea de calcul au rezultat
urmatoarele sectiuni de grinzi :
GRINDA 1 L=5.97m
=> 400 mm
=>250mm
unde:
L - deschiderea grinzii;
hg - inaltimea grinzii;
bg - latimea grinzii.
Din predimensionare rezulta grinzi de 250mmx400mm (pe directie longitudinala si transversala)
Stalpi:
Dimensiuni minime constructive conform P100/2006 pentru orice directie: 30cm.
Se ia in considerare si latimea grinzilor, astfel tinand cont ca bg=25cm vom alege dimensiunile stalpilor minim bg+10cm=35cm.
Conform
STAS 10107/0-90, pentru evitarea aparitiei efectelor de ordinul II,
coeficientul de zveltete trebuie sa aiba o valoare corespunzatoare:
<10. pentru sectiuni dreptunghiulare se considera
unde:
lf - lungimea de flambaj, pentru stalpi incastrati la ambele capete considerandu-se 0,5 din deschiderea libera a stalpului, deci
lf = 0,5 275= 140 cm
unde:
h - dimensiunea stalpului pe directia considerata.
Deci
, adica h > 14cm.
Pentru evitarea aparitiei
mecanismului de stalp scurt (care are ca rezultat ruperea casanta a stalpului),
trebuie respsctata conditia:
unde:
Hs - dimensiunea libera a stalpului, Hs=75m,
h - dimensiunea stalpului pe directia considerata.
Deci
In concluzie dimensiunile
stalpilor trebuie sa se situeze in intervalul: 35
110 cm
Grinzi:
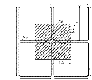
Incarcarile luate in considerare pentru predimensionarea grinzilor provin din incarcarea transmisa de planseu si din greutatea proprie.Incarcarea transmisa de planseu se calculeaza luand in considerare aria aferenta grinzii, (ca in figura 2).

Fig. - Aria aferenta unei grinzi.
Obtinem astfel incarcarea pe
grinda:
, unde:
Aaf - aria aferenta;
L - lumina.
Acoperirea cu beton de calcul se considera a = 25 mm.
Stalpi:
Evaluarea fortelor axiale in stalpi.
Pentru predimensionarea stalpilor se urmeaza etapele:
a) se stabilesc stalpii cei mai solicitati care se vor dimensiona;
b) se evalueaza incarcarile axiale aferente fiecarui stalp luat in considerare;
c) pe baza caracteristicilor de material si a incarcarii axiale se calculeaza o arie de beton necesara.
Aria necesara de beton o vom
calcula considerand forta axiala de proiectare normalizata "n" cu valoarea de
0,3. Se asigura astfel o ductilizare moderata a stalpilor in cazul extrem al
solicitarii seismice. Stiind ca forta axiala de proiectare normalizata n =
, unde: Ab este aria sectiunii de beton, iar N
este efortul axial, si ca inaltimea zonei comprimate este:
se va observa ca
acestea vor avea valori apropiate si v >
. Plafonul admis pentru zona comprimata este
in cazul armarii cu
otel PC 5 Alegand astfel valoarea de mai sus vom obtine o arie a sectiunii
stalpului satisfacatoare atat din punct de vedere al rezistentei, dar si din
punct de vedere economic.

Fig. 3. Aria aferenta pentru stalp central.
Stalpul central.
Se considera pentru calcul stalpul central de la intersectia axelor B-2 cu dimensiunile de 600600 [mm].
Incarcarile aferente acestui stalp provin din:
Nterasa
ETAJ CURENT SI PARTER
Incarcare din greutate placa:
= 27.96 0.13 1 x 25 = 90.87 [kN]
Incarcare utila
qa Aaf x 0.4= 227.960.4 = 236 [kN]
Incarcare din parchet
Aaf x
x 1 = 15.99 x0.73 x1=11.67 KN
Incarcare din greutate proprie grinzi
Grinda 9:
= 0.250,31.8251=3.375[kN]
Grinda 8:
= 0.250,58251=8.75 [kN]
Grinda 4:
= 0.250,553.2251=11 [kN]
Grinda 3:
= 0.250,595251=9.21 [kN]
TOTAL=334 kN
Incarcare din greutate proprie stalpi
1 = 0.5 x 0.5 x 3x 25 x1 =18.75 kN
din greutatea proprie a peretilor de compartimentare:
=
0.3 x 45 x 3.2 x 4 x 1 x 0.8 +
0.3 x 7 x 1.8 x 4x1x 0.8 +
0.1x45x1.85x4x1x0.8+
0.1x5x1.7x4x1x 0.8+
0.1x3x1.85x4x1x0.8+
0.125x3x1.7x4x1x0.8 = 19.24 [kN]
Incarcarea din tencuiala pe pereti
2x
= 2 x 0.025 x 313 x19 x 1 =30.52 kn
Incarcarea din tencuiala pe placa
= 0.02 x 27.96 x19 x 1
=10.62 kn
TOTAL = 258.84 kn x2 = 517.68 kN
TOTAL PE STALP = 734.608 kn
Sectiunea stalpului rezulta astfel:
[mm]
b h = 500 500 mm
STALPUL MARGINAL:
Vom considera pentru calcul stalpul marginal de la intersectia axelor A-2 si va avea dimensiunile 450450 [mm]. Aria aferenta acestui stalp 14.13mp
ETAJ 3
Incarcare din greutate placa:
= 5.85 0.13 1 x 25 = 19.01 [kN]
Incarcare din zapada
qa Aaf x 0.4= 1.285.850.4 = 99 [kN]
Incarcare din hidroizolatie
bhrxAaf
x
x 1 = 0.02 x 5.85 x1=0.117 KN
Incarcare din greutate proprie grinzi
Grinda 3:
= 0.250,503.12251=9.75[kN]
Grinda 8:
= 0.250,585251=8.90 [kN]
Grinda 9:
= 0.250.385251=5.34 [kN]
TOTAL=23.99 kN
Incarcare din greutate proprie stalpi
1 = 0.45 x 0.45 x 3x 25 x1 =15.18kN
Incarcarea din tencuiala pe placa
= 0.02 x 5.85 x19 x 1
=22 kn
Total general pe stalp: N = 45.38 [kN]
ETAJ 2
Incarcare din greutate placa:
= 14.13 0.13 1 x 25 = 45.92 [kN]
Incarcare din terasa circulabila
qa Aaf x 0.4= 214.130.4 = 11.30 [kN]
Incarcare din hidroizolatie
bhrxAaf x
x 1 = 0.02 x 14.13 x1=0.28 KN
Incarcare din parchet
Aaf x
x 1 = 14.13 x0.73 x1=10.31 KN
Incarcare din greutate proprie grinzi
Grinda 3:
= 0.250,503.12251=9.75[kN]
Grinda 8:
= 0.250,585251=8.90 [kN]
Grinda 9:
= 0.250.385251=5.34 [kN]
TOTAL=23.99 kN
Incarcare din greutate proprie stalpi
1 = 0.45 x 0.45 x 3x 25 x1 =15.18 kN
din greutatea proprie a peretilor de compartimentare:
=
0.3 x 1.70 x 45 x 4 x 1 x 0.8 +
0.3 x 4.1 x 3 x 4x1x 0.8 = 15.80 [kN]
Incarcarea din mozaic pe placa
= 14.12 x 0.94 x 1
=13.31 kn
Incarcarea din tencuiala pe placa
= 0.02 x 14.13 x19 x 1
=5.36 kn
Incarcarea din tencuiala atic
2x
= 2 x 0.025 x 4.09 x19 x 1 =3.88 kn
Incarcarea din perete cortina
= 4.41 x 0.44 x 1 =1.94
kn
TOTAL = 1427 kn
ETAJ Curent
Incarcare din greutate placa:
= 14.13 0.13 1 x 25 = 45.92 [kN]
Incarcare din greutate proprie grinzi
Grinda 3:
= 0.250,503.12251=9.75[kN]
Grinda 8:
= 0.250,585251=8.90 [kN]
Grinda 9:
= 0.250.385251=5.34 [kN]
TOTAL=23.99 kN
Incarcare din greutate proprie stalpi
1 = 0.45 x 0.45 x 3x 25 x1 =15.18 kN
din greutatea proprie a peretilor de compartimentare:
=
0.3 x 1.70 x 45 x 4 x 1 x 0.8 +
0.3 x 4.1 x 3 x 4x1x 0.8 = 15.80 [kN]
Incarcare din parchet
qa Aaf x 1= 0.7314.131 = 10.31 [kN]
Incarcare din termoizolatie
Aaf x
x 1 = 14.13 x0.05x1=0.70 KN
Incarcarea din tencuiala pe placa
= 0.02 x 14.13 x19 x 1
=5.36 kn
Incarcarea din tencuiala pe pereti
2x
= 2 x 0.025 x 16.47 x19 x 1 =15.64 kn
Incarcarea din perete cortina
= 4.41 x 0.44 x 1
=1.94 kn
TOTAL = 134.84 kn
TOTAL PE STALP = 3249 kn
Sectiunea stalpului rezulta astfel:
[mm]
b h = 400 400 mm
Fundatia:
Infrastructura acestei cladiri este alcatuita din grinzi de fundare.
Sistemul de fundare este fundarea directa pe grinzi si talpi de fundare.
Dimensiunile bazei fundatiei se aleg astfel incat presiunile la contactul intre fundatie si teren sa aiba valori acceptabile, pentru a se impiedica aparitia unor stari limita care sa pericliteze siguranta constructiei si/sau exploatarea normala a constructiei. Deasemenea presiunile care se dezvolta pe talpa de fundare trebuie sa aiba valori mai mici decat presiunea conventionala furnizata de studiul geotehnic.
Starile limita ale terenului de fundare pot fi de natura unei stari limita ultime (SLU), a carei depasire conduce la pierderea ireversibila, in parte sau in totalitate a capacitatii functionale a constructiei sau de natura unei stari limita a exploatarii normale (SLEN), a carei depasire conduce la intreruperea exploatarii normale a constructiei.
Se mai ia in calcul si incarcarea din pertii de beton armat de la subsol si din peretii despartitori de la etajele de deasupra.


Fig.4. Aria de fundare si sectiune caracteristica fundatiei.
Conditii constructive:
,L0 = 4.75 m - distanta intre cuzineti
Se propun astfel dimensiunile sectiunii de fundatie si grosimea de talpa perpendiculara pe cea de calcul.
Incarcarea gravitationala la nivelul talpii fundatiei se aproximeaza Nf=1,2N, pentru a tine seama de greutatea proprie a fundatiei si de neuniformitatea distributiei, ca efect al momentului incovoietor.
- forta axiala Nf = 703,64 kN
Stiind
ca
, iar
![]()
latura B a blocului de fundatie
se determina cu relatia: LB
L
=> B = 1.20 m
4,75>4,45
Alegem astfel:
h = 0,4m, - inaltimea grinzii de fundare;
H = 1,80m, - inaltimea blocului de fundare;
B = 1,20 m - latimea talpii de fundare.
4.Evaluarea incarcarilor orizontale
4.1.Incarcari din actiunea vantului
Incarcarea din actiunea vantului conform indicativului NP - 082 - 2004:
, unde:
qref - presiunea de referinta a vantului:
ce(z) - factorul de expunere la inaltimea "z" deasupra terenului;
cp - coeficient aerodinamic de presiune, cp=1,00.
[kg/m2 ] = 4900 [N/m2]
ρ - densitatea aerului ce variaza in functie de altitudine, temperatura, latitudine si anotimp, pentru aerul standard ρ=1,25 [gk/m3].
ce(z) = cg(z)
cg(z) - factorul de rafala - 1,60;
cr(z) - factorul de rafala - 0,20;
[N/m2].
4.Din actiunea seismului
Actiunea seismica a fost modelata folosind metoda fortelor seismice statice echivalente. Modurile proprii fundamentale de translatie pe cele doua directii principale au contribuit predominant la raspunsul seismic total, efectul modurilor proprii superioare de vibratie fiind neglijate.
Forta taietoare de baza corespunzatoare modului propriu fundamental pentru cele doua directii principale s-au determinat conform codului P100/2006 dupa cum urmeaza:
Clasa
de importanta si de expunere III,
Factor de reducere: ![]()
Coeficient de amplificare al deplasarilor: c=1;
Clasa solului: TC=0.7
Viteza de propagare a unydelor seismice in sol: ag=1.57 m/s2
Factor de comportare seismica: q=4,72
Inceputul sectiunii al acceleratiei spectrale constante: TB=0.07 s;
Sfarsitul sectiunii al acceleratiei spectrale constante: TC=0.7 s;
Inceputul deplasarii constante al domeniului spectrului: TD=3.0 S;
Factorul
de amplificare spectrala al acceleratiei:
Combinatia componentelor actiunilor seismice: SRSS;
Clasa de ductilitate M determinate de conditiile seismice.
Fb=γI
Sd(T1)-ordonata spectrului de raspuns de proiectare corespunzatoare perioadei
fundamentale T1
T1-perioada proprie fundamentala de vibratie a cladiriiin planul ce contine
directia orizontala considerata
m-masa totala a cladirii calculata ca suma a maselor de bivel mi
λ-factor de corectie care tine seama de contributia modului propriu
fundamental prin masa modala efectiva asociata acestuia,ale carui valori
sunt :
λ=0,85 T1<TC
γI-factorul de importanta-expunere al constructiei
T>TB=>Sd(T)=ag
ag=0,16
g=1,57 [m/s2]
(T)
q=3,5![]()
-introduce influenta unora din factorii carora li se
datoreaza suprarezistenta structurii,in special a redundantei constructiei.
Pentru cadre sau pentru structuri duale cu cadre preponderente ;
=1,35-cladiri cu mai multe niveluri si mai multe deschideri
q=4,725
Sd(T)=1,57![]()
=0,909[m/s2]
mi=2590 [t]
Fbi=1,2
0,909
2590=3690,594 [kN]
5. Calculul automat al structurii.
Pentru calculul automat al structurii s-a utilizat programul ETABS. Programul este elaborat de corporatia Computer and Structures, Inc. si se bazeaza pe analiza elementului finit (FEM). Programul ofera posibilitatea efectuarii atat a unei analize statice sau dinamice liniare cat si neliniare.
Metoda de lucru presupune definirea unui model al structurii cat mai apropiat de realitate si aplicarea incarcarilor sub forma cea mai posibila de aparitie.
S-au definit astfel 4 cazuri de incarcare statica:
GC - incarcarea permanenta
LD - incarcari temporare normate
SX - incarcarea seismica pe directia Ox
SY - incarcarea seismica pe directia Oy
Urmatoarea etapa a fost definirea combinatiilor de incarcari:
GF - gruparea fundamentala: GF = 1,35 LD
GSX1 - gruparea speciala 1: GSX1 = LD + SX (incarcarea seismica aplicata pe directia Ox)
GSX2 - gruparea speciala 2: GSX2 = LD - SX (incarcarea seismica aplicata in sens opus Ox)
GSY1 - gruparea speciala 3: GSY3 = LD + SY (incarcarea seismica aplicata pe directia Oy)
GSY2 - gruparea speciala 4: GSY4 = LD - SY (incarcarea seismica aplicata in sens opus Oy)
INF - infasuratoarea: INF = GC + GSX1 + GSX2 + GSY1 + GSY2
Am obtinut astfel raspunsul modelului la incarcarile aplicate. In continuare calculele de la 6. sunt efectuate pe baza diagramelor de moment incovoietor, forta axiala sau taietoare obtinute cu ajutorul programelor prezentate.
6. DIMENSIONAREA SI CALCULUL ELEMENTELOR STRUCTURALE.
6.1. Calculul planseelor
Placile sunt elemente de rezistenta, care lucreaza la incovoiere, sunt armate pe una sau doua directii in functie de valoarea raportului laturilor, mai mare sau mai mic decat
Se va efectua calculul momentelor de pe fiecare ochi de placa si cu momentele echilibrate se va dimensiona aria de armatura pentru placa de peste parter.In continuare voi prezenta calculul pentru fiecare tip de placa in parte:
PLACA 1(2 laturi simplu rezemate,2 laturi incastrate)
Incarcare pe placa q= 13.37 KN
Raportul dintre laturi λ=ly/lx ly lx λ
5.455 5.115 1.06
REZULTA COEFICIENTI α : α1 = 0.0285 α2 = 0.0187 α4 = 0.0787 α5 = 0.0608
MOMENTE POZITIVE IN CAMP Mx = α1 * q*lx2= 0.0285*13.37*5.1152=9.96 KN My = α2 * q*ly2= 0.0187*13.37*5.4552=7.43 KN
MOMENTE NEGATIVE PE REAZEME
Mx` = -α4 * q*lx2 = -0.0787*13.37*5.1152=-27.52 KN
My `= -α5 * q*ly2 = -0.0608*13.37*5.4552=-24.18 KN
DIMENSIONARE ARMATURA:
Se cunosc:
- rezistenta la compresiune a
betonului
N/mm2
- rezistenta le intindere a
otelului
N/mm2
- latimea de calcul a placii b = 1 m
- grosimea placii h = 130 mm
- inaltimea utila a sectiunii
mm
ARMARE IN CAMP:
Mx = 9.96 [kNm]
Se determina
dintr-o ecuatie de
echilibru a momentelor:

Cantitatea de armatura se obtine dintr-o ecuatie de proiectie pe axa elementului:
mm2
Aria de armatura efectiva:
302 mm2
corespunzatoare pentru 6Ø8/ml
Armarea in camp pe latura lunga:
7.43[kNm]

![]()
Aria de armatura efectiva:
corespunzatoare pentru
![]()
Armarea in reazem:
[kNm]
Aria de armatura efectiva:
905 mm2 corespunzatoare pentru 8Ø12/ml
[kNm]
![]()
Aria de armatura efectiva:
A
corespunzatoare pentru ![]()
PLACA 2(2 laturi simplu rezemate,2 laturi incastrate)
Incarcare pe placa q=13.37 KN
Raportul dintre laturi λ=ly/lx ly lx λ
6.14 3.585 1.71
REZULTA COEFICIENTI α :
MOMENTE POZITIVE IN CAMP
Mx = α1 * q*lx2 = 0.0513*13.37*3.5852 =8.81 KN
My = α2 * q*ly2= 0.0036*13.37*6.142 =1.81 KN
MOMENTE NEGATIVE PE REAZEME
Mx` = -α4 * q*lx2 = -0.1136*13.37*3.5852= -19.5203706 KN
My `= -α5 * q*ly2 = -0.0268*13.37*6.142= -13.50836987 KN
DIMENSIONARE ARMATURA
Se cunosc:
- rezistenta la compresiune a
betonului
N/mm2
- rezistenta le intindere a
otelului
N/mm2
- latimea de calcul a placii b = 1 m
- grosimea placii h = 130 mm
- inaltimea utila a sectiunii
mm
ARMARE IN CAMP:
Mx = 8.81 [kNm]
Se determina
dintr-o ecuatie de
echilibru a momentelor:

Cantitatea de armatura se obtine dintr-o ecuatie de proiectie pe axa elementului:
mm2
Aria de armatura efectiva:
302 mm2
corespunzatoare pentru 6Ø8/ml
Armarea in camp pe latura lunga:
1.81[kNm]

![]()
Aria de armatura efectiva:
170 mm2
corespunzatoare pentru 6Ø6/ml
ARMARE IN REAZEM
19.52 [kNm]
Aria de armatura efectiva:
679 mm2 corespunzatoare pentru 6Ø12/ml
13.50[kNm]
![]()
Aria de armatura efectiva:
471 mm2
corespunzatoare pentru
6Ø10/ml
PLACA 3(1 latura simplu rezemate 3 incastrate )
Raportul dintre laturi λ=ly/lx ly lx λ
6.14 5.45 1.126
REZULTA COEFICIENTI α :
α1 = 0.0217 α2 = 0.0189 α4 = 0.0649 α5 = 0.0558
MOMENTE POZITIVE IN CAMP
Mx = α1 * q*lx2 = 0.0217*13.37*5.452=8.61 KN
My = α2 * q*ly2 = 0.0189*13.37*6.142=9.52 KN
MOMENTE NEGATIVE PE REAZEME
Mx` = -α4 * q*lx2 = -0.0649*13.37*5.452=-25.77 KN
My `= -α5 * q*ly2 = -0.0558*13.37*6.142=-28.12 KN
DIMENSIONARE ARMATURA
Se cunosc:
- rezistenta la compresiune a
betonului
N/mm2
- rezistenta le intindere a
otelului
N/mm2
- latimea de calcul a placii b = 1 m
- grosimea placii h = 130 mm
- inaltimea utila a sectiunii
mm
ARMARE IN CAMP:
Mx = 8.61 [kNm]
Se determina
dintr-o ecuatie de
echilibru a momentelor:

Cantitatea de armatura se obtine dintr-o ecuatie de proiectie pe axa elementului:
mm2
Aria de armatura efectiva:
302 mm2
corespunzatoare pentru 6Ø8/ml
9.52[kNm]

![]()
Aria de armatura efectiva:
302 mm2
corespunzatoare pentru 6Ø8/ml
ARMAREA IN REAZEM
25.77 [kNm]
Aria de armatura efectiva:
905 mm2 corespunzatoare pentru 8Ø12/ml
28.12[kNm]
![]()
Aria de armatura efectiva:
1013 mm2
corespunzatoare pentru
9Ø12/ml
PLACA 7 (1 latura simplu rezemate 3 incastrate)
Raportul dintre laturi λ=ly/lx ly lx λ
6.14 3.04 01
Raportul laturilor e mai mare ca 2 si se va arma pe o singura directie
MOMENTE POZITIVE IN CAMP
My= (q*ly2)/11 = ( 13.37 *6.14 )/11=7.46 KN
MOMENTE NEGATIVE PE REAZEME
My = (q*ly2)/14 = (13.37 *6.14 )/14= 5.86KN
ARMARE IN CAMP:
7.46[kNm]

![]()
Aria de armatura efectiva:
302 mm2
corespunzatoare pentru 6Ø8/ml
5.86[kNm]
![]()
Aria de armatura efectiva:
302 mm2
corespunzatoare pentru 6Ø8/ml
Celelalte placi si armarea corespuzatoare lor a fost centralizate in urmatorul tabel:
|
Nume |
Lx Ly |
Lungime |
Moment in camp [Kn] |
Armare in Camp |
Moment in reazem [kn] |
Armare in reazem |
|
PLACA 1 |
|
|
||||
|
|
|
|||||
|
PLACA 2 |
|
|
||||
|
|
|
|||||
|
PLACA 3 |
|
|
||||
|
|
|
|||||
|
PLACA 4 |
|
|
||||
|
|
|
|||||
|
PLACA 5 |
|
|
||||
|
|
|
|||||
|
PLACA 6 |
|
|
||||
|
|
|
|||||
|
PLACA 7 | ||||||
|
|
|
|||||
|
PLACA 8 |
|
|
||||
|
|
|
|||||
|
PLACA 9 |
|
|
||||
|
|
|
|||||
|
PLACA 10 |
|
|
||||
|
|
|
|||||
6. Calculul cadrului longitudinal.
Calculul se face pentru un cadru transversal si unul longitudinal cele mai solicitate. Este bine cunoscut faptul ca pe directie transversala cadrele sunt mult mai solicitate decat pe directie longitudinala.
Pentru calcul vom considera cadrul transversal de pe axul 8 si cadrul longitudinal de pe axul D.
6.1. Calculul grinzilor.
ARMAREA LONGITUDINALA CADRU LONGITUDINAL
Se vor determina necesarul de armatura pentru grinzile longitudinale de pe cadrul longitudinal central de pe axul B de la nivelul parterului , Solicitarile de calcul sunt cele rezultate din infasuratoarea diagramelor de momente, calculate cu programul ETABS.
1. Vom efectua calculul pentru GRINDA 11 de la parter situata intre axele 1-2, de dimensiuni 250400 mm.
Momentul de calcul in reazem este: M = 858 [kNm]
Acoperirea cu beton de calcul este a = 25 mm
Se cunosc:
- rezistenta la compresiune a betonului Rc = 15[N/mm2]
- rezistenta de calcul a armaturii Ra = 300 [N/mm2]
-
inaltimea utila
400-25=375 mm

pentru PC52
![]()
![]()
![]()
Se
alege
829.9 (2Ø16+1Ø20)

p>pmin
pmin= 0.45% in reazem
Momentul de calcul in camp:
M = 44.08 [kNm]

pentru PC52
![]()
![]()
![]()
Se alege
462mm2 (3Ø16)

p>pmin
pmin>0.15 in camp
Vom efectua calculul pentru GRINDA 8 de la parter situata intre axele 2-3, de dimensiuni 250500 mm.
Momentul de calcul in reazem este: M = 163.47 [kNm]
Acoperirea cu beton de calcul este a = 25 mm
Se cunosc:
- rezistenta la compresiune a betonului Rc = 15[N/mm2]
- rezistenta de calcul a armaturii Ra = 300 [N/mm2]
-
inaltimea utila
500-25=475 mm

pentru PC52
![]()
![]()
![]()
Se
alege
1473 mm2 (3Ø25)

p>pmin
pmin= 0.45% in reazem
Momentul de calcul in camp:
M = 98.04 [kNm]

pentru PC52
![]()
![]()
![]()
Se alege
899mm2 (2Ø16+1Ø20)

p>pmin
pmin>0.15 in camp
3.Vom efectua calculul pentru GRINDA 9 de la parter situata intre axele 3-4, de dimensiuni 250300 mm.
Momentul de calcul in reazem este: M = 39.46 [kNm]
Acoperirea cu beton de calcul este a = 25 mm
Se cunosc:
- rezistenta la compresiune a betonului Rc = 15[N/mm2]
- rezistenta de calcul a armaturii Ra = 300 [N/mm2]
-
inaltimea utila
300-25=275 mm

pentru PC52
![]()
![]()
![]()
Se
alege
603 mm2 (3Ø16)

p>pmin
pmin= 0.45% in reazem
Momentul de calcul in camp:
M = 19.06 [kNm]

pentru PC52
![]()
![]()
![]()
Se alege
308mm2 (2Ø14)

p>pmin
pmin>0.15 in camp
4.Vom efectua calculul pentru GRINDA 14 de la parter situata intre axele 4-5, de dimensiuni 250300 mm.
Momentul de calcul in reazem este: M = 25.51 [kNm]
Acoperirea cu beton de calcul este a = 25 mm
Se cunosc:
- rezistenta la compresiune a betonului Rc = 15[N/mm2]
- rezistenta de calcul a armaturii Ra = 300 [N/mm2]
-
inaltimea utila
300-25=275 mm

pentru PC52
![]()
![]()
![]()
Se
alege
402 mm2 (2Ø16)

p>pmin
pmin= 0.45% in reazem
Momentul de calcul in camp:
M = 11.71 [kNm]

pentru PC52
![]()
![]()
![]()
Se alege
226mm2 (2Ø12)

p>pmin
pmin>0.15 in camp
5.Vom efectua calculul pentru GRINDA 3 de la parter situata intre axele 4-5, de dimensiuni 250500 mm.
Momentul de calcul in reazem este: M = 94.29 [kNm]
Acoperirea cu beton de calcul este a = 25 mm
Se cunosc:
- rezistenta la compresiune a betonului Rc = 15[N/mm2]
- rezistenta de calcul a armaturii Ra = 300 [N/mm2]
-
inaltimea utila
500-25=475 mm

pentru PC52
![]()
![]()
![]()
Se
alege
942 mm2 (3Ø30)

p>pmin
pmin= 0.45% in reazem
Momentul de calcul in camp:
M = 59.68 [kNm]

pentru PC52
![]()
![]()
![]()
Se alege
462mm2 (3Ø14)

p>pmin
pmin>0.15 in camp
ARMARE LONGITUDINALA CADRU TRANSVERSAL
1.Vom efectua calculul pentru GRINDA 3 de la parter situata intre axele A-B, de dimensiuni 250500 mm.
Momentul de calcul in reazem este: M = 185.52 [kNm]
Acoperirea cu beton de calcul este a = 25 mm
Se cunosc:
- rezistenta la compresiune a betonului Rc = 15[N/mm2]
- rezistenta de calcul a armaturii Ra = 300 [N/mm2]
-
inaltimea utila
500-25=475 mm

pentru PC52
![]()
![]()
![]()
Se
alege
1491 mm2 (2Ø18+2Ø25)

p>pmin
pmin= 0.45% in reazem
Momentul de calcul in camp:
M = 103 [kNm]

pentru PC52
![]()
![]()
![]()
Se alege
913.9mm2 (1Ø14+2 Ø22)

p>pmin
pmin>0.15 in camp
Vom efectua calculul pentru GRINDA 3 de la parter situata intre axele B-D, de dimensiuni 250550 mm.
Momentul de calcul in reazem este: M = 226.36 [kNm]
Acoperirea cu beton de calcul este a = 25 mm
Se cunosc:
- rezistenta la compresiune a betonului Rc = 15[N/mm2]
- rezistenta de calcul a armaturii Ra = 300 [N/mm2]
-
inaltimea utila
550-25=525 mm

pentru PC52
![]()
![]()
![]()
Se
alege
1720 mm2 (2Ø22+2Ø25)

p>pmin
pmin= 0.45% in reazem
Momentul de calcul in camp:
M = 128.5 [kNm]

pentru PC52
![]()
![]()
![]()
Se alege
1140 mm2 (3Ø22)

p>pmin
pmin>0.15 in camp
ARMARE TRANSVERSALA CADRU LONGITUDINAL
1. Vom efectua calculul pentru GRINDA 11 de la parter situata intre axele 1-2, de dimensiuni 250400 mm.
Se cunosc:
- rezistenta la intindere a betonului Rt= 1.1 N/mm2
- rezistenta la comoresiune a betonului Rc=13 N/mm2
- rezistenta de calcul a armaturii Ra=210 N/mm2
Ordine operatiunilor este urmatoarea:
Q = 100.32 [KN]



Se verifica daca:
<2,
Procentul de armare calculate anterior este corect.
Distanta intre etrieri ae![]()
182,90 [mm]
- ne = 2
Distanta maxima admisa intre etrieri:

Conform normativului P100/2006, capitolul 5, rezulta ca armarea in zone critice se va face cu minim Ø6 la o distanta minima dintre(hrg, 150mm, 7*diametrul armaturi longitudinale).
Se stabileste ae
= 100mm =>
8/100 pe zona reazemelor si
8/150 in camp.
Vom efectua calculul pentru GRINDA 8 de la parter situata intre axele 2-3, de dimensiuni 250500 mm.
Se cunosc:
- rezistenta la intindere a betonului Rt= 1.1 N/mm2
- rezistenta la comoresiune a betonului Rc=13 N/mm2
- rezistenta de calcul a armaturii Ra=210 N/mm2
Ordine operatiunilor este urmatoarea:
Q = 160.87 [KN]

Se calculeaza Rtred=((3-
)*Rt)/2 = 0.97



Se verifica daca:
<2,
Procentul de armare calculate anterior este corect.
Distanta intre etrieri ae![]()
158.94 [mm]
- ne = 2
Distanta maxima admisa intre etrieri:

Conform normativului P100/2006, capitolul 5, rezulta ca armarea in zone critice se va face cu minim Ø6 la o distanta minima dintre(hrg, 150mm, 7*diametrul armaturi longitudinale).
Se stabileste ae
= 100mm =>
8/100 pe zona reazemelor si
8/150 in camp.
3.Vom efectua calculul pentru GRINDA 9 de la parter situata intre axele 3-4, de dimensiuni 250300 mm.
Se cunosc:
- rezistenta la intindere a betonului Rt= 1.1 N/mm2
- rezistenta la comoresiune a betonului Rc=13 N/mm2
- rezistenta de calcul a armaturii Ra=210 N/mm2
Ordine operatiunilor este urmatoarea:
Q = 659 [KN]

Se calculeaza Rtred=((3-
)*Rt)/2 = 1.19



Se verifica daca:
<2,
Procentul de armare calculate anterior este corect.
Distanta intre etrieri ae![]()
158.94 [mm]
- ne = 2
Distanta maxima admisa intre etrieri:

Conform normativului P100/2006, capitolul 5, rezulta ca armarea in zone critice se va face cu minim Ø6 la o distanta minima dintre(hrg, 150mm, 7*diametrul armaturi longitudinale).
Se stabileste ae
= 100mm =>
8/100 pe zona reazemelor si
8/150 in camp.
4.Vom efectua calculul pentru GRINDA 14 de la parter situata intre axele 4-5, de dimensiuni 250300 mm.
Se cunosc:
- rezistenta la intindere a betonului Rt= 1.1 N/mm2
- rezistenta la comoresiune a betonului Rc=13 N/mm2
- rezistenta de calcul a armaturii Ra=210 N/mm2
Ordine operatiunilor este urmatoarea:
Q = 46.75 [KN]



Se verifica daca:
<2,
Procentul de armare se ia procentul de armare minim pmin=0.2%.
Distanta intre etrieri ae![]()
201,2 [mm]
- ne = 2
Distanta maxima admisa intre etrieri:

Conform normativului P100/2006, capitolul 5, rezulta ca armarea in zone critice se va face cu minim Ø6 la o distanta minima dintre(hrg, 150mm, 7*diametrul armaturi longitudinale).
Se stabileste ae
= 100mm =>
8/100 pe zona reazemelor si
8/200 in camp.
5.Vom efectua calculul pentru GRINDA 3 de la parter situata intre axele 4-5, de dimensiuni 250500 mm.
Se cunosc:
- rezistenta la intindere a betonului Rt= 1.1 N/mm2
- rezistenta la comoresiune a betonului Rc=13 N/mm2
- rezistenta de calcul a armaturii Ra=210 N/mm2
Ordine operatiunilor este urmatoarea:
Q = 115.19 [KN]



Se verifica daca:
<2,
Procentul de armare calculate anterior este corect.
Distanta intre etrieri ae![]()
201.2 [mm]
- ne = 2
Distanta maxima admisa intre etrieri:

Conform normativului P100/2006, capitolul 5, rezulta ca armarea in zone critice se va face cu minim Ø6 la o distanta minima dintre(hrg, 150mm, 7*diametrul armaturi longitudinale).
Se stabileste ae
= 100mm =>
8/100 pe zona reazemelor si
8/200 in camp.
ARMARE TRANSVERSALA CADRU TRANSVESAL
3.Vom efectua calculul pentru GRINDA 9 de la parter situata intre axele A-B, de dimensiuni 250500 mm.
Se cunosc:
- rezistenta la intindere a betonului Rt= 1.1 N/mm2
- rezistenta la comoresiune a betonului Rc=13 N/mm2
- rezistenta de calcul a armaturii Ra=210 N/mm2
Ordine operatiunilor este urmatoarea:
Q = 170.45 [KN]

Se calculeaza Rtred=((3-
)*Rt)/2 = 0.93



Se verifica daca:
<2,
Procentul de armare calculate anterior este corect.
Distanta intre etrieri ae![]()
108.75 [mm]
- ne = 2
Distanta maxima admisa intre etrieri:

Conform normativului P100/2006, capitolul 5, rezulta ca armarea in zone critice se va face cu minim Ø6 la o distanta minima dintre(hrg, 150mm, 7*diametrul armaturi longitudinale).
Se stabileste ae
= 100mm =>
8/100 pe zona reazemelor si
8/100 in camp.
3.Vom efectua calculul pentru GRINDA 9 de la parter situata intre axele B-D, de dimensiuni 250550 mm.
Se cunosc:
- rezistenta la intindere a betonului Rt= 1.1 N/mm2
- rezistenta la comoresiune a betonului Rc=13 N/mm2
- rezistenta de calcul a armaturii Ra=210 N/mm2
Ordine operatiunilor este urmatoarea:
Q = 191.65 [KN]

Se calculeaza Rtred=((3-
)*Rt)/2 = 0.91



Se verifica daca:
<2,
Procentul de armare calculat anterior este corect.
Distanta intre etrieri ae![]()
91.45 [mm]
- ne = 2
Distanta maxima admisa intre etrieri:

Conform normativului P100/2006, capitolul 5, rezulta ca armarea in zone critice se va face cu minim Ø6 la o distanta minima dintre(hrg, 150mm, 7*diametrul armaturi longitudinale).
Se stabileste ae
= 100mm =>
8/100 pe zona reazemelor si
8/100 in camp.
6. Calculul stalpilor
Armare longtudinala
Calculul armaturii s-a facut pentru stalpul central aflat la intersectia axelor 4-B, pe toata inaltimea cladiri si au rezultat urmatoarele armari:
Se cunosc:
- rezistenta la compresiune a betonului Rc = 13 [N/mm2]
- rezistenta la intindere a otelului Ra = 300 [N/mm2]
- ezistenta la intindere a betonului Rt = 0,8 [N/mm2]
- b = h = 500 [mm]
Rezistenta de calcul se determina astfel:
Eforturile corespunzatoare sectiunii stalpului 4-B din programul de calcul la nivelul parterului au urmatoarele valori:
M = 156.41 [KNm]
N =14665 [KN] Considerand acoperirea cu beton de 2,5 cm, rezulta:
a =25mm
500-25=475mm
![]()
excentricitatea aditionala este ![]()
Se determina momentul corectat:
[kNm]
Inaltimea zonei comprimate:

0.5>0.4=> se va majora pmin(latura)=0.3%
pmin(total)=0.9%


Raportul a/h=25/500=0.05
Din tabelul 9 se scoate coeficientul α = 0.224
Anec= (α*b*h*Rc)/Ra = (0.224*500*500*13)/300 = 2426.667mm2
Aef_latura = 2454mm2 (5Ø25)
Aef_totala = 327.1mm2 (16Ø25)
platura =
> pmin(0.3%)
ptotal =
> pmin(0.9%)
Eforturile corespunzatoare sectiunii stalpului 4-B din programul de calcul la nivelul Etajului 1 au urmatoarele valori:
M = 101.39 [KNm]
N =1011.31 [KN]
Considerand acoperirea cu beton de 2,5 cm, rezulta:
a =25mm
500-25=475mm
![]()
Excentricitatea aditionala este
Se
determina momentul corectat:
[kNm]
Inaltimea zonei comprimate:

0.3<0.4=> Procente de armare pmin(latura)=0.2%
pmin(total)=0.6%


Raportul a/h=25/500=0.05
Din tabelul 9 se scoate coeficientul α = 0.17
Anec= (α*b*h*Rc)/Ra = (0.17*500*500*13)/300 = 1841.66mm2
Aef_latura = 1900mm2 (5Ø22)
Aef_totala = 6080mm2 (16Ø22)
platura =
> pmin(0.2%)
ptotal =
> pmin(0.6%)
Eforturile corespunzatoare sectiunii stalpului 4-B din programul de calcul la nivelul Etajului 2 au urmatoarele valori:
M = 89.83 [KNm]
N =567.54 [KN]
Considerand acoperirea cu beton de 2,5 cm, rezulta:
a =25mm
500-25=475mm
![]()
excentricitatea aditionala este ![]()
Se determina momentul corectat:
[kNm]
Inaltimea zonei comprimate:

0.2<0.4=> Procente de armare pmin(latura)=0.2%
pmin(total)=0.6%


Raportul a/h=25/500=0.05
Din tabelul 9 se scoate coeficientul α = 0.125
Anec= (α*b*h*Rc)/Ra = (0.125*500*500*13)/300 = 1354.167mm2
Aef_latura = 1527mm2 (5Ø20)
Aef_totala = 4886.4mm2 (16Ø20)
platura =
> pmin(0.2%)
ptotal =
> pmin(0.6%)
Eforturile corespunzatoare sectiunii stalpului 4-B din programul de calcul la nivelul Etajului 3 au urmatoarele valori:
M = 56.68 [KNm]
N =121.38 [KN]
Considerand acoperirea cu beton de 2,5 cm, rezulta:
a =25mm
500-25=475mm
![]()
excentricitatea aditionala este
Se determina momentul
corectat:
[kNm]

0.2<0.4=> Procente de armare pmin(latura)=0.2%
pmin(total)=0.6%


Raportul a/h=25/500=0.05
Din tabelul 9 se scoate coeficientul α = 0.125
Anec= (α*b*h*Rc)/Ra = (0.125*500*500*13)/300 = 1354.167mm2
Aef_latura = 1527mm2 (5Ø20)
Aef_totala = 4886.4mm2 (16Ø20)
platura =
> pmin(0.2%)
ptotal =
> pmin(0.6%)
ARMARE TRANSVERSALA STALP CENTRAL 500X500MM
ARMARE CU ETRIERI PARTER
n=
=0.45
-se determia rezistenta de calcul a betonului la intindere pentru calculul la forta taietoare
R't=Rt
(1+0,5n)=0,8
(1+0,5
0,45)=1.35 [N/mm2]
nu este necesar calculul etrierilor.
Armatura
transversala se dispune constructiv.Pe directia fiecarei laturi,procentul de
armare transversala trebuie sa fie mai mare decat 0,1%.Se alege un etrier
perimetral
8(Ae=50,3 mm2) si un etrier interior
8(Ae=50,3 mm2).
-ne=4
-distanta
intre etrieri ae
mm
Alegem etrieri
8/100 in zona reazemelor si
8/200 in rest.
ARMARE CU ETRIERI ETAJ1
n=
=0.311
-se determia rezistenta de calcul a betonului la intindere pentru calculul la forta taietoare
R't=Rt
(1+0,5n)=0,8
(1+0,5
0,311)=1.27 [N/mm2]
nu este necesar calculul etrierilor.
Armatura
transversala se dispune constructiv.Pe directia fiecarei laturi,procentul de
armare transversala trebuie sa fie mai mare decat 0,1%.Se alege un etrier
perimetral
8(Ae=50,3 mm2) si un etrier interior
8(Ae=50,3 mm2).
-ne=4
-distanta
intre etrieri ae
mm
Alegem etrieri
8/100 in zona reazemelor si
8/200 in rest.
ARMARE CU ETRIERI ETAJ2
n=
=0.175
-se determia rezistenta de calcul a betonului la intindere pentru calculul la forta taietoare
R't=Rt
(1+0,5n)=0,8
(1+0,5
0,175)=1.2 [N/mm2]
nu este necesar calculul etrierilor.
Armatura
transversala se dispune constructiv.Pe directia fiecarei laturi,procentul de
armare transversala trebuie sa fie mai mare decat 0,1%.Se alege un etrier
perimetral
8(Ae=50,3 mm2) si un etrier interior
8(Ae=50,3 mm2).
-ne=4
-distanta
intre etrieri ae
mm
Alegem etrieri
8/100 in zona reazemelor si
8/200 in rest.
ARMARE CU ETRIERI ETAJ3
n=
=0.037
-se determia rezistenta de calcul a betonului la intindere pentru calculul la forta taietoare
R't=Rt
(1+0,5n)=0,8
(1+0,5
0,037)=1.12 [N/mm2]
nu este necesar calculul etrierilor.
Armatura
transversala se dispune constructiv.Pe directia fiecarei laturi,procentul de
armare transversala trebuie sa fie mai mare decat 0,1%.Se alege un etrier
perimetral
8(Ae=50,3 mm2) si un etrier interior
8(Ae=50,3 mm2).
-ne=4
-distanta
intre etrieri ae
mm
Alegem etrieri
8/100 in zona reazemelor si
8/200 in rest.
LA PREZENTUL BREVIAR DE CALCUL AM ATASAT SI CELELALTE CALCULE PENTRU STALPI SI GRINZI SUB FORMA DE TABEL, PRECUM SI DIAGRAMELE REZULTATE DIN ETABS.
|
Politica de confidentialitate | Termeni si conditii de utilizare |
Vizualizari: 11429
Importanta: ![]()
Termeni si conditii de utilizare | Contact
© SCRIGROUP 2025 . All rights reserved