| CATEGORII DOCUMENTE |
| Aeronautica | Comunicatii | Electronica electricitate | Merceologie | Tehnica mecanica |
Temperatura - scheme si aparate de masura
Temperatura este o marime fizica ce caracterizeaza gradul de incalzire a corpurilor Pentru determinarea practica a temperaturii trebuie aleasa o scara de temperatura, cele mai uzuale fiind: - scara Celsius: t [0C]
- scara Kelvin: T [K]
- scara Raumur t [0R]
- scara Farenheit: t [0F].
Legatura intre scari este: T= t [0C]+273,16=5/9(t [0F]+459,67)=5/9 t [0R]. Se precizeaza ca T2-T1=t2-t1, dar T2/T1≠t2/t1.
In functie de proprietatile fizice ale corpurilor care ne ajuta sa masuram temperatura, putem face o clasificare a lor astfel:
A. termometre de sticla cu lichid (-38..+630 0C)
B. termometre cu rezistenta electrica (-200..+650 0C)
C. termometre termoelectrice (-200..+1200 0C)
D. pirometre (+400..+2200 0C)
A. termometre bazate pe dilatarea corpurilor
1. Termometre de sticla cu lichid
Principul de functionare se bazeaza pe dilatarea lichidului termic sub actiunea caldurii, fenomen ce asculta de legea:
V2=V1[1+γ1,2(t2-t1)] ,unde:
V1,V2 - volumele lichidului termometric la temperaturile t1, t2
γ1,2 - coeficientul mediu de dilatare volumica a lichidului.
Din punct de vedere constructiv, termometrele de sticla cu lichid se impart in:
a) termometre cu capilar masiv
b) termometre tubulare cu scara interna
c) termometre cu capilar montate pe placi cu scara gradata
Schita unui termometru tubular cu scara gradata interna este:
1 - rezervor cu lichid termometric (mercur, alcool)
2 - tub de sticla
3 - fir capilar
4 - scara gradata
Firul capilar 3 e vidat si sudat la partea superioara.
2. Termometre bazate pe dilatarea solidelor
Principiul lor de functionare se bazeaza pe legea dilatarii liniare:
l2=l1[1+α1,2(t2-t1)] , unde:
l1, l2 - lungimea materialului la temperatura t1, t2
α1,2 - coeficientul mediu de dilatare liniara.
Ca exemplu de aparat: termometrul bimetalic: doua lame sunt lipite ca in figura, ele avand coeficienti de dilatare diferiti. Sub actiunea caldurii, intregul ansamblu se deformeaza ca in figura, aceasta deoarece invarul are un coeficient de dilatare mai mic.

3. Termometre bazate pe dilatarea gazelor
Un gaz care are volum constant (inchis intr-un recipient), daca e incalzit i se mareste atat temperatura, cat si presiunea. Aceasta crestere de presiune determina deformarea elastica a unui element metalic, deformare ce este transmisa printr-un sistem de parghii la un indicator. Schita unui termometru manometric este:
1 - rezervor cu gaz
2 - tub de legatura
3 - element elastic
4 - sistem de parghii
5 - ac vibrator
6 - scara gradata
B. termometre cu rezistenta electrica
Aceste termometre permit determinarea temperaturii pe baza masurarii valorii unei rezistente electrice, care are o variatie cunoscuta in functie de temperatura. De exemplu, pentru un fir de platina avem: Rt=R0(1+At+Bt2) [Ω]
A, B - constante, R0 - rezistenta firului la 0 0C, Rt - rezistenta firului la t 0C.
Ca exemplu avem termometrul cu rezistenta metalica. Cu ajutorul lui temperatura se poate determina masurand modificarea rezistentei electrice a firului metalic. Aparatul se compune din: a) termorezistenta (firul metalic)
b) conductor de legatura intre termorezistenta si aparatul de masura
c) aparatul electric ce poate fi o punte Wheastone sau un logometru.
Aparatele din clasa B permit transmiterea la distanta a valorii marimii masurate; la locul de masura se monteaza rezistenta, iar in camera de comanda se monteaza aparatul electric ce are scara gradata in 0C. Schita unei termorezistente este:
1 - teaca de protectie
2 - fir metalic
3 - suport izolant
4 - portiune din teaca filetata pentru fixarea aparatului la locul de masura
5 - piulita pentru strangere
6 - cheie de conexiuni
7 -
conductor de legatura la aparatul electric
C. termometre termoelectrice
Sunt constituite din doua parti principale: termocuplu si aparat electric de masura.
Principul de functionare: efectul termoelectric a fost descoperit in 1922 de Thomas Seebech si enuntat astfel: intr-un circuit inchis, format din doua sau mai multe conductoare de natura diferita ia nastere un curent electric daca cel putin doua puncte de legatura a conductoarelor au temperaturi diferite. Legarea conductoarelor se poate face in trei moduri:
a) rasucire cu patent
b) lipire
c) sudare.
In figura am reprezentat un cuplu termoelectric format din doi conductori A, B (cei doi termoelectrozi):

Punctele lor de legatura sunt: 1 se introduce in mediul a carei temperatura vrem s-o masuram (sudura calda), 2 se mentine la t0=constanta (sudura rece). Daca t0=constanta atunci tensiunea electromotoare ce apare in circuit e functie doar de t: E=f(t). Aceasta tensiune electromotoare se masoara cu milivoltmetru, care are scara in 0C, care poate fi legat astfel: a) prin intreruperea unui termoelectrod
b) pus in locul sudurii reci.

Cei doi termoelectrozi se pot executa din: A - PtRh, B - Pt; A - Fe, B - constantan; A - cromel (Cr+Ni), B - alumel (Al+Ni+Si).
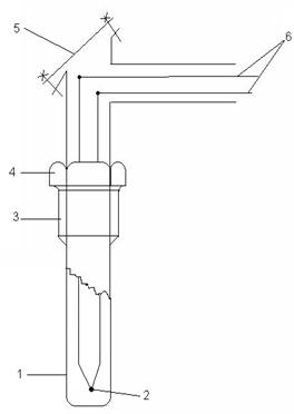
Si aparatele din clasa C permit transmiterea la distanta a valorii marimii masurate. Astfel, la locul de masura se monteaza termocuplu, iar in camera de comanda milivoltmetrul. Schita unui termocuplu este:
1 - teaca de protectie
2 - sudura calda
3 - portiune filetata
4 - piulita de fixare
5 - cutie cu borne
6
- fire la milivoltmetru
Vom desena schema de masura pentru masurarea temperaturii gazelor de ardere dintr-un cuptor. In acest caz mentinerea sudurii reci la t=0 0C=constanta, se face cu ajutorul unui vas Dewar, ce contine un amestec de apa si gheata.

D. pirometre
Sunt aparate ce masoara temperatura corpurilor pe baza masurarii radiatiei termice emise de acestea. Experienta arata ca temperatura unui corp determina radiatia termica emisa de acesta. Se stie ca radiatia termica devine insemnata daca temperatura corpului este mai mare de 400 0C. Vom desena schita unui pirometru optic, cu disparitia filamentului, ce masoara temperatura unui bloc de otel. Schita aparatului este:

1 - obiectiv mobil, 2 - filament, 3- ocular, 4 - ochi uman, 5 - potentiometru, 6 - baterie curent continuu, 7 - aparat electric cu scara in 0C, 8 - filtru de lumina ce lasa sa treaca doar radiatiile cu lungimea de unda λ=0,65 μm=0,65*10-6 m.
Presupunem ca blocul are culoarea rosu inchis. Cu ajutorul potentiometrului 5 se regleaza caderea de tensiune pe filamentul 2 pana ce acesta devine rosu inchis; in acest moment forma filamentului dispare din planul blocului. Aparatul electric 7 indica temperatura blocului din otel. Cu pirometrul se masoara temperatura bailor de metal topit, a blocurilor incandescente, cazuri in care utilizarea termocuplelor e imposibila deoarece se topesc.
|
Politica de confidentialitate | Termeni si conditii de utilizare |
Vizualizari: 4099
Importanta: ![]()
Termeni si conditii de utilizare | Contact
© SCRIGROUP 2026 . All rights reserved