| CATEGORII DOCUMENTE |
| Aeronautica | Comunicatii | Electronica electricitate | Merceologie | Tehnica mecanica |
ACTIONARI HIDRAULICE IN M.A.P.S.
Actionarile hidraulice au ca avantaje:
-masa relativ redusa raportata la unitatea de putere;
-realizarea
miscarii de lucru cu viteza
-dimensiuni reduse ale componentelor instalatiei;
-realizarea unor grupuri autonome de actionare, specifice instalatiei;
Dar si ca dezavantaje se pot indica:
-executia elementelor componente cere un grad ridicat de precizie dimensionala ce antreneaza in consecinta si costuri de productie mai ridicate pentru respectivele componente;
-modificarea sub influienta temperaturii a viscozitatii uleiului hidraulic, cu consecinte asupra stabilitatii miscarii;
-necesitatea unor masuri de protectie adecvate astfel incit sa se previna scurgerile de ulei generatoare de murdarirea mediului de lucru dar si de crestere a riscului de incendii;
Schema de principiu a unei actionari hidraulice in general este prezentata in figura urmatoare:

Fluidul de lucru este
uleiul hidraulic, ulei aflat intr-un rezervor de ulei, ulei care este absorbit
de catre pompa P din rezervor, prin filtru de ulei, anrenarea pompei
realizindu-se de catre motorul electric Me alimentat la reteaua trifazata.
Uleiul sub presiune debitat de pompa P este trimis
atit spre supapa de deversare S.D. cit si spre grupul elementelor de protectie.
Supapa de deversare are rolul de a deversa (intoarce) la rezervor parte din uleiul debitat de pompa care nu este necesar pentru actionare in diversele cicluri de lucru ale instalatiei.
Dupa trecerea de elementele de protectie uleiul este transmis spre elementele de comanda si apoi spre elementele de reglaj ale schemei.
In ceea ce priveste pompele utilizate la actionarile hidraulice se poate remarca preponderenta pompelor dintate si a pompelor cu pistonase.
In cadrul elementelor de distributie si
comanda se evidentiaza in primul rind distribuitoarele, care se caracterizeaza
prin numarul de pozitii, cai, ca si prin modul de actionare(pilotare).
Astfel in cele ce urmeaza se prezinta citeva tipuri de
distribuitoare:
Distribuitorul de la pozitia a. prezinta 3 pozitii de lucru, 4 cai, cu actionare electromagnetica la ambele capete, cu pozitia preferentiala mijlocie, cu blocarea legaturilor pe pozitia mijlocie, in timp ce distribuitorul din pozitia b. este actionat manual, prezinta 2 pozitii, 4 caii, curevenirea cu resort pe pozitia initiala.
S-au dat doar doua exemple simple,dar in functie de necesitati si productie se pot imagina si alte numeroase variante de distribuitoare.
In ceea ce priveste supapa de deversare schema sa interioara de legaturi este lamuritoare asupra modului de functionare, asa incit se prezinta astfel, in cele ce urmeaza:
Supapa de deversare contine in esenta un
plunjer, care pe de o parte este actionat de forta dezvoltata de un resort(care poate fi si reglabil), iar din partea opusa este
actionat de forta dezvoltata in sistem prin presiunea uleiului hidraulic ce
provine de la pompa hidraulica(cu roti dintate, ori cu pistonase). Presiunea
din circuitul hidraulic al pompei comanda practic pozitia plunjerului supapei,
astfel ca in situatia in care consumul de ulei pentru actionarea motoarelor
hidraulice este la un nivel redus presiunea in circuit crescind va conduce la
dezvoltarea unei forte de valoare ridicata si pe fata din dreapta a plunjerului,forta ce va ajunge a invinge forta dezvoltata de resort
pe fata din stinga a plunjerului, cu consecinta deplasarii plunjerului spre stinga pina se va ajunge ca sa se stabileasca legatura dintre intrarea in supapa de deversare si rezervorul de ulei, moment in care se va ajunge la situatia de scadere a presiunii la iesirea din pompa de ulei, functie de regajul arcului supapei de deversare, etc.
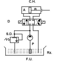
O schema simpla si clasica de actionare a
unui cilindru hidraulic se prezinta in cele ce urmeaza, astfel :
Cilindrul hidraulic CH cu camerele de lucru A si B se alimenteaza de la pompa P prin distribuitorul D (cu 3 pozitii, 4 cai) fuctie de electromagnetul actionat al distribuitorului, asa incit la alimentarea cu ulei a camerei A se va determina deplasarea spre dreapta a tijei pistonului cilindrului hidraulic, iar la alimentarea cu ulei sub presiune a camerei B se va determina deplasarea spre stinga a tijei pistonului cilindrului hidraulic. Supapa de deversare, rezervorul de ulei, filtrul de ulei, pompa de ulei, etc. au fiecare rolul sau bine definit in schema, legaturile intre elemetele enumerate realizindu-se prin conducte adecvate(fixe sau flexibile).
REGLAREA IN TREPTE A PRESIUNII DE LUCRU
Modificarea in trepte a presiunii de lucru se poate realiza prin utilizarea unui distribuitor special si a unor supape de deversare cu reglaj diferit, astfel:
Functie de reglajul la fiecare din cele 3
supape de deversare se poate obtine un numar de 3 presiuni de lucru diferite in
raport si cu pozitia legaturilor realizate de catre distribuitorul D, pornind
de la o singura pompa de alimentare cu ulei sub presiune.
GENERATOR DE INALTA PRESIUNE
Se
utilizeaza un astfel de generator de inalta presiune
in situatiile in care apare necesitatea dezvoltarii unor forte mari de
stringere ori de refulare la sudarea prin presiune,

folosindu-se pompe obisnuite, dar
numai in cazul unor debite de valori reduse, schema de lucru si de principiu
fiin aratata in cele ce urmeaza, astfel:
Comutindu-se alternativ electromagnetii distribuitorului Dist. se va realiza alimentarea in mod corespunzator si a camerelor A si B ale amplificatorului de inalta presiune(constituit dintr-un piston de diametru D1 si doua plunjere de diametre d ce definesc si camerele de inalta presiune C si D, cu deplasarea alternativa si a ansamblului piston-plunjere.
Din camerele C si D va rezulta in consecinta, alternativ, expulzarea unor cantitati mici de ulei sub o presiune majorata, in mod repetat,ulei care prin intermediul supapelor de sens Ss1, Ss2, Ss3, Ss4 asigura si separarea circuitului de alimentare cu ulei din rezervor de circuitul de ulei de inalta presiune ce merge la utilizator.
SCHEME HIDRAULICE DE ACTIONARE
a)schema cu
motoare alimentate si comandate independent:
Se constata ca in schema prezentata se utilizeaza un numar de 3 grupuri de pompare, respectiv pentru fiecare cilindru hidraulic C.H., astfel incit fiecare motor hidraulic este alimentat independent, functie de comanda data la distribuitoare. Ciclul de lucru se poate realiza prin comanda secventiala a distribuitoarelor conectate la o schema electrica de comanda. Actionarea este rapida, eficienta si sigura, avind in schimb dezavantajul unui cost ridicat al instalatiei, nerezultind nici o interdependenta intre ciclurile de lucru pe fiecare cilindru hidraulic.
b. motoare hidraulice alimentate in serie si comandate independent:
n cazul
motoarelor alimentate in serie va rezulta o economie la grupurile de pompare,
dar actionarea se dovedeste mai complicata, inrucit uleiul refulat de la un
cilindru ajunge sa fie utilizat imediatde catre alt cilindru, putindu-se creia
dificultati la realizarea unor cicluri complexe si la secvente de actionare
simultana a mai multor cilindri hidraulici.
=====OOOOOOOOOOOOOOOOOOOOOO=======
|
Politica de confidentialitate | Termeni si conditii de utilizare |
Vizualizari: 4909
Importanta: ![]()
Termeni si conditii de utilizare | Contact
© SCRIGROUP 2025 . All rights reserved